公布日:2023.10.20
申请日:2023.08.16
分类号:C02F1/02(2023.01)I;C02F1/04(2023.01)I;B09B3/35(2022.01)I;B09B3/40(2022.01)I;B02C18/14(2006.01)I;B02C18/16(2006.01)I
摘要
本发明公开了一种高盐高浓废水蒸发‑热解零排处理系统,具体是一种破碎热裂解装置包括前轴座、前机械密封、前封板、长破碎刀、短破碎刀、进料口、筒体、前支撑架、保温层、排气口、后封板、后机械密封、后轴座、气体缓冲腔机壳、内隔板、出料口、主轴、后支撑架,所述主轴左端安装在前轴座上,前轴座安装在前支撑架上,前支撑架安装在前封板上,主轴与前封板之间通过前机械密封安装相连,前封板右侧安装筒体,筒体外包裹保温层,筒体上安装进料口真空与薄层蒸发,二次浓缩干燥相结合,极大提高蒸发效率,另一方真空密闭处理,可以有效防止挥发性有毒物质外泄,确保安全和环保;本发明可以对含焦油MVR蒸发母液直接进行无害化处理,焦油回收率能达到80%‑90%,真正实现废水零排放。

权利要求书
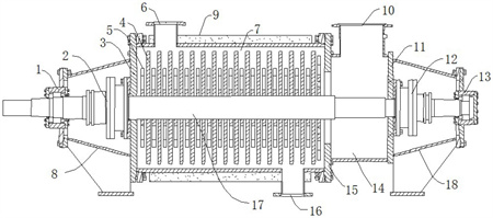
1.一种破碎热裂解装置,其特征在于:包括前轴座(1)、前机械密封(2)、前封板(3)、长破碎刀(4)、短破碎刀(5)、进料口(6)、筒体(7)、前支撑架(8)、保温层(9)、排气口(10)、后封板(11)、后机械密封(12)、后轴座(13)、气体缓冲腔机壳(14)、内隔板(15)、出料口(16)、主轴(17)、后支撑架(18),所述主轴(17)左端安装在前轴座(1)上,前轴座(1)安装在前支撑架(8)上,前支撑架(8)安装在前封板(3)上,主轴(17)与前封板(3)之间通过前机械密封(2)安装相连,前封板(3)右侧安装筒体(7),筒体(7)外包裹保温层(9),筒体(7)上安装进料口(6),筒体(7)下安装出料口(16),主轴(17)上安装多个长破碎刀(4)和短破碎刀(5),长破碎到和短破碎刀(5)均位于筒体(7)内,筒体(7)右侧安装内隔板(15),内隔板(15)右侧安装气体缓冲腔机壳(14),气体缓冲腔上设有排气口(10),气体缓冲腔机壳(14)右侧安装后封板(11),主轴(17)通过后机械密封(12)与后封板(11)安装相连,后封板(11)右侧安装后支撑架(18),主轴(17)右端通过轴承(24)座安装在后支撑架(18)内,所述主轴(17)上对称安装第二钢柱(19),第二钢柱(19)另一端安装底座(23),底座(23)内安装轴承(24),轴承(24)的内圈内安装容纳槽(25),容纳槽(25)内对称安装L型支架(20),L型支架(20)上安装辊轴(21),辊轴(21)上安装多个清理刷(22),清理刷(22)抵触到筒体(7)内侧壁上,主轴(17)上对称安装第一钢柱(26),第一钢柱(26)上安装轮箱(29),轮箱(29)内设有绕链轮(28),绕链轮(28)安装在轮轴(27)上,轮轴(27)左右两端安装在法兰轴承(24)上,法兰轴承(24)安装在轮箱(29)内,绕链轮(28)上缠绕链条刀(30),链条刀(30)上开设有链条刀(30)出口,链条刀(30)从链条刀(30)出口伸出轮箱(29),轮箱(29)上安装刀架,刀架位于链条刀(30)出口侧面,刀架上交错安装多个刮刀(35),刮刀(35)能刮除链条刀(30)表面的污垢附着,刀架(34)上安装多个塑料毛刷(36),塑料毛刷(36)与刮刀(35)间隔排列,绕链轮(28)侧面安装弹簧连接片(31),弹簧连接片(31)安装在高弹弹簧(32)上与高弹弹簧(32)相连,高弹弹簧(32)另一端安装在轮箱(29)内底部,轮箱(29)下安装三角支撑架(33),三角支撑架(33)另一端安装在第一钢柱(26)侧面,所述清理刷(22)采用硬质毛刷制成。
2.一种采用权利要求1所述的破碎热裂解装置的高盐高浓废水蒸发-热解处理工艺,其特征在于,在步骤包括:a.进料:将MVR蒸发母液,通过预热器预热后,预热器温度控制在50~70℃;b.一级蒸发:采用蒸汽压力0.3~0.6MPa,筒内压力为-0.08~-0.096MPa,将一级预热好的高盐高浓高有机物通过真空负压抽到系统中,通过主轴(17)带动搅拌器及其上面圆盘,使圆盘表面形成薄层蒸发的换热面;c.二级蒸发:将一级薄层蒸发器预处理后的高盐废水,达到饱和浓液后,再进行进一步干燥蒸发,控制蒸发温度为90~100℃;d.一级蒸发和二级蒸发提供汽液分离器相连,实现有机物与盐的分离,蒸发的有机物或者凝水通过换热器进行换热后形成凝液得到回收;e.采用权利要求1所述的一种破碎热裂解装置进行处理,通过二次蒸发后形成的固渣,通过进料系统输送到破碎热裂解装置,并控制主炉温度为400℃-500℃,反应时间为10-20min,其中系统中产生的尾气通过除尘器、二级深度冷凝、吸附器处理;该尾气包含热解后烟气含有裂解后的小分子有机物、不凝气及水分、未完全反应的有机气体分子。
发明内容
本发明的目的在于提供一种高盐高浓废水蒸发-热解零排处理系统,以解决上述背景技术中提出的问题,通过蒸发-热解零排处理达到资源化?无害化的目的。
本发明提供如下技术方案:一种破碎热裂解装置,包括前轴座、前机械密封、前封板、长破碎刀、短破碎刀、进料口、筒体、前支撑架、保温层、排气口、后封板、后机械密封、后轴座、气体缓冲腔机壳、内隔板、出料口、主轴、后支撑架,所述主轴左端安装在前轴座上,前轴座安装在前支撑架上,前支撑架安装在前封板上,主轴与前封板之间通过前机械密封安装相连,前封板右侧安装筒体,筒体外包裹保温层,筒体上安装进料口,筒体下安装出料口,主轴上安装多个长破碎刀和短破碎刀,长破碎到和短破碎刀均位于筒体内,筒体右侧安装内隔板,内隔板右侧安装气体缓冲腔机壳,气体缓冲腔上设有排气口,气体缓冲腔机壳右侧安装后封板,主轴通过后机械密封与后封板安装相连,后封板右侧安装后支撑架,主轴右端通过轴承座安装在后支撑架内。
优选的,所述主轴左端通过前轴座安装在前支撑架内。
优选的,所述主轴上对称安装四排长破碎刀和四排短破碎刀。
优选的,所述主轴上对称安装第二钢柱,第二钢柱另一端安装底座,底座内安装轴承,轴承的内圈内安装容纳槽,容纳槽内对称安装L型支架,L型支架上安装辊轴,辊轴上安装多个清理刷,清理刷抵触到筒体内侧壁上,主轴上对称安装第一钢柱,第一钢柱上安装轮箱,轮箱内设有绕链轮,绕链轮安装在轮轴上,轮轴左右两端安装在法兰轴承上,法兰轴承安装在轮箱内,绕链轮上缠绕链条刀,链条刀上开设有链条刀出口,链条刀从链条刀出口伸出轮箱,轮箱上安装刀架,刀架位于链条刀出口侧面,刀架上交错安装多个刮刀,刮刀能刮除链条刀表面的污垢附着,刀架上安装多个塑料毛刷,塑料毛刷与刮刀间隔排列,绕链轮侧面安装弹簧连接片,弹簧连接片安装在高弹弹簧上与高弹弹簧相连,高弹弹簧另一端安装在轮箱内底部,轮箱下安装三角支撑架,三角支撑架另一端安装在第一钢柱侧面。
优选的,所述链条刀与主轴保持平行,链条刀可以采用割草机链条刀。
优选的,所述清理刷采用硬质毛刷制成。
优选的,所述清理刷采用钢丝球制成,钢丝球缠绕在辊轴上。
采用破碎热裂解装置的高盐?高浓高有机物蒸发-热解处理工艺,步骤包括:
1)进料:将MVR蒸发母液,通过预热器预热后,预热器温度控制在50~70℃;
2)一级蒸发:采用蒸汽压力0.3~0.6MPa,筒内压力为-0.08~-0.096MPa,将一级预热好的高盐高浓高有机物通过真空负压抽到系统中,通过主轴带动搅拌器及其上面圆盘,使圆盘表面形成薄层蒸发的换热面;
3)二级蒸发:将一级薄层蒸发器预处理后的高盐废水,达到饱和浓液后,再进行进一步干燥蒸发,控制蒸发温度为90~100℃;
4)一级蒸发和二级蒸发提供汽液分离器相连,实现有机物与盐的分离,蒸发的有机物或者凝水通过换热器进行换热后形成凝液得到回收;
5)采用一种破碎热裂解装置进行处理,通过二次蒸发后形成的固渣,通过进料系统输送到破碎热裂解装置,并控制主炉温度为400℃-500℃,反应时间为10-20min,其中系统中产生的尾气通过除尘器、二级深度冷凝、吸附器处理;该尾气包含热解后烟气含有裂解后的小分子有机物、不凝气及水分、未完全反应的有机气体分子。
与现有技术相比,本发明的有益效果是:
1、本发明一种破碎热裂解装置,增加了链条刀,链条刀随着主轴旋转中,与长破碎刀和短破碎刀一起切割破碎固渣,链条刀在遇到较大固渣时,会被拉伸,使链轮发生小角度旋转,使高弹弹簧随着弹簧连接片发生弯曲或者拉伸形变,避免链条刀崩断,同时高弹弹簧在自身恢复力的作用下,恢复到初始形态,使链轮发生小角度反向旋转,提高了链条刀的破碎能力,链条刀随着高弹弹簧的恢复力回到轮箱中,同时与刮刀发生刮擦,且塑料毛刷对其进行清理,能去掉链条刀表面的污垢附着;主轴转动带动第二钢柱旋转,使底座旋转,使L型支架和清理刷随着主轴旋转,同时L型支架下端安装在轴承内,使其能在轴承内旋转,使清理刷自转,使清理刷同时具备两种旋转模式,清理刷与筒体内壁相贴并随着旋转对筒体内壁进行清理,两种旋转模式使清理效果更好。
2、真空与薄层蒸发,二次浓缩干燥相结合,极大提高蒸发效率,另一方真空密闭处理,可以有效防止挥发性有毒物质外泄,确保安全和环保;本发明可以对含焦油MVR蒸发母液直接进行无害化处理,焦油回收率能达到80%-90%,真正实现废水零排放。
(发明人:查晓峰;王廷晖)






