公布日:2023.10.20
申请日:2023.08.18
分类号:C02F1/40(2023.01)I;C02F1/00(2023.01)I;C02F103/16(2006.01)N
摘要
本发明公开了一种含油废水处理装置,涉及废水处理技术领域。该含油废水处理装置包括分离箱、油泵、伸缩管、浮块和储油罐。油泵安装于分离箱上,且与储油罐连接,伸缩管的一端与油泵连接,另一端与浮块连接,浮块设置于分离箱内,浮块的密度大于油的密度,且小于水的密度,分离箱用于供含油废水通入,浮块用于在含油废水的浮力作用下带动伸缩管伸长或者缩短,油泵用于通过伸缩管将含油废水中的浮油抽离至储油罐。与现有技术相比,本发明提供的含油废水处理装置由于采用了与储油罐连接的油泵以及同时与油泵和浮块连接的伸缩管,所以能够方便快捷地实现油水分离,分离效率高,分离效果好,便于进行后续处理。

权利要求书
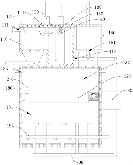
1.一种含油废水处理装置,其特征在于,包括分离箱、油泵、伸缩管、浮块和储油罐,所述油泵安装于所述分离箱上,且与所述储油罐连接,所述伸缩管的一端与所述油泵连接,另一端与所述浮块连接,所述浮块设置于所述分离箱内,所述浮块的密度大于油的密度,且小于水的密度,所述分离箱用于供含油废水通入,所述浮块用于在所述含油废水的浮力作用下带动所述伸缩管伸长或者缩短,所述油泵用于通过所述伸缩管将所述含油废水中的浮油抽离至所述储油罐。
2.根据权利要求1所述的含油废水处理装置,其特征在于,所述伸缩管包括相互连接的波纹伸缩管段和连接管段,所述波纹伸缩管段与所述连接管段垂直,所述波纹伸缩管段与所述油泵连接,所述连接管段连接于所述浮块的顶面,且平行于所述浮块设置。
3.根据权利要求2所述的含油废水处理装置,其特征在于,所述含油废水处理装置还包括伸缩杆,所述伸缩杆平行于所述波纹伸缩管段设置,所述伸缩杆的一端与所述浮块连接,另一端与所述分离箱连接,所述伸缩杆用于在所述浮块的带动下伸长或者缩短。
4.根据权利要求1所述的含油废水处理装置,其特征在于,所述含油废水处理装置还包括过滤组件,所述过滤组件安装于所述分离箱内,所述过滤组件设置有过滤空腔,所述浮块设置于所述过滤空腔内,所述过滤组件用于对所述含油废水进行过滤,并使过滤后的所述含油废水流入所述过滤空腔。
5.根据权利要求4所述的含油废水处理装置,其特征在于,所述过滤组件包括第一挡板、过滤件和第二挡板,所述第一挡板和所述第二挡板平行间隔设置,且均连接于所述分离箱内,所述过滤件连接于所述第一挡板和所述第二挡板之间,所述第一挡板、所述过滤件和所述第二挡板共同围成所述过滤空腔,所述过滤件用于过滤所述含油废水。
6.根据权利要求5所述的含油废水处理装置,其特征在于,所述过滤件包括框体、卡块、过滤板和弹性件,所述框体开设有过滤通道和卡槽,所述过滤通道与所述过滤空腔连通,所述过滤板与所述卡槽卡接,且设置于所述过滤通道内,所述卡块可滑动地安装于所述框体内,所述卡块的一端与所述弹性件连接,另一端与所述过滤板抵持,所述卡块用于在所述弹性件的弹力作用下将所述过滤板压持于所述卡槽内。
7.根据权利要求1所述的含油废水处理装置,其特征在于,所述含油废水处理装置还包括处理箱、水泵、出水管和处理板,所述处理板安装于所述处理箱内,且将所述处理箱分隔形成第一空腔和第二空腔,所述水泵的一端与所述分离箱连通,另一端通过所述出水管与所述第一空腔连通,所述水泵用于将所述分离箱内所述含油废水在除油后剩余的污水抽取至所述第一空腔,所述处理板用于对所述污水进行过滤,并使过滤后的所述污水流入所述第二空腔。
8.根据权利要求7所述的含油废水处理装置,其特征在于,所述出水管包括主管道、多个支管道和多个分管道,所述主管道与所述水泵连接,多个所述支管道平行间隔设置,且均与所述主管道连接,多个所述分管道平行间隔设置,且均与所述支管道连接,所述分管道伸入所述第一空腔设置。
9.根据权利要求7所述的含油废水处理装置,其特征在于,所述含油废水处理装置还包括清扫机构,所述清扫机构安装于所述第一空腔内,所述清扫机构用于对所述处理板靠近所述第一空腔的一侧进行清扫。
10.根据权利要求9所述的含油废水处理装置,其特征在于,所述清扫机构包括第一驱动电机、丝杆、螺母座、第二驱动电机、毛刷辊、限位座和滑轨,所述第一驱动电机安装于所述处理箱,且与所述丝杆连接,所述螺母座套设于所述丝杆外,且与所述丝杆螺纹配合,所述第二驱动电机安装于所述螺母座上,所述毛刷辊的一端与所述第二驱动电机连接,另一端与所述限位座转动连接,所述限位座与所述滑轨滑动连接,所述滑轨与所述丝杆平行间隔设置,且垂直于所述毛刷辊设置,所述毛刷辊用于对所述处理板进行清扫。
发明内容
本发明的目的在于提供一种含油废水处理装置,能够方便快捷地实现油水分离,分离效率高,分离效果好,便于进行后续处理。
本发明是采用以下的技术方案来实现的。
一种含油废水处理装置,包括分离箱、油泵、伸缩管、浮块和储油罐,油泵安装于分离箱上,且与储油罐连接,伸缩管的一端与油泵连接,另一端与浮块连接,浮块设置于分离箱内,浮块的密度大于油的密度,且小于水的密度,分离箱用于供含油废水通入,浮块用于在含油废水的浮力作用下带动伸缩管伸长或者缩短,油泵用于通过伸缩管将含油废水中的浮油抽离至储油罐。
可选地,伸缩管包括相互连接的波纹伸缩管段和连接管段,波纹伸缩管段与连接管段垂直,波纹伸缩管段与油泵连接,连接管段连接于浮块的顶面,且平行于浮块设置。
可选地,含油废水处理装置还包括伸缩杆,伸缩杆平行于波纹伸缩管段设置,伸缩杆的一端与浮块连接,另一端与分离箱连接,伸缩杆用于在浮块的带动下伸长或者缩短。
可选地,含油废水处理装置还包括过滤组件,过滤组件安装于分离箱内,过滤组件设置有过滤空腔,浮块设置于过滤空腔内,过滤组件用于对含油废水进行过滤,并使过滤后的含油废水流入过滤空腔。
可选地,过滤组件包括第一挡板、过滤件和第二挡板,第一挡板和第二挡板平行间隔设置,且均连接于分离箱内,过滤件连接于第一挡板和第二挡板之间,第一挡板、过滤件和第二挡板共同围成过滤空腔,过滤件用于过滤含油废水。
可选地,过滤件包括框体、卡块、过滤板和弹性件,框体开设有过滤通道和卡槽,过滤通道与过滤空腔连通,过滤板与卡槽卡接,且设置于过滤通道内,卡块可滑动地安装于框体内,卡块的一端与弹性件连接,另一端与过滤板抵持,卡块用于在弹性件的弹力作用下将过滤板压持于卡槽内。
可选地,含油废水处理装置还包括处理箱、水泵、出水管和处理板,处理板安装于处理箱内,且将处理箱分隔形成第一空腔和第二空腔,水泵的一端与分离箱连通,另一端通过出水管与第一空腔连通,水泵用于将分离箱内含油废水在除油后剩余的污水抽取至第一空腔,处理板用于对污水进行过滤,并使过滤后的污水流入第二空腔。
可选地,出水管包括主管道、多个支管道和多个分管道,主管道与水泵连接,多个支管道平行间隔设置,且均与主管道连接,多个分管道平行间隔设置,且均与支管道连接,分管道伸入第一空腔设置。
可选地,含油废水处理装置还包括清扫机构,清扫机构安装于第一空腔内,清扫机构用于对处理板靠近第一空腔的一侧进行清扫。
可选地,清扫机构包括第一驱动电机、丝杆、螺母座、第二驱动电机、毛刷辊、限位座和滑轨,第一驱动电机安装于处理箱,且与丝杆连接,螺母座套设于丝杆外,且与丝杆螺纹配合,第二驱动电机安装于螺母座上,毛刷辊的一端与第二驱动电机连接,另一端与限位座转动连接,限位座与滑轨滑动连接,滑轨与丝杆平行间隔设置,且垂直于毛刷辊设置,毛刷辊用于对处理板进行清扫。
本发明提供的含油废水处理装置具有以下有益效果:
本发明提供的含油废水处理装置,油泵安装于分离箱上,且与储油罐连接,伸缩管的一端与油泵连接,另一端与浮块连接,浮块设置于分离箱内,浮块的密度大于油的密度,且小于水的密度,分离箱用于供含油废水通入,浮块用于在含油废水的浮力作用下带动伸缩管伸长或者缩短,油泵用于通过伸缩管将含油废水中的浮油抽离至储油罐。与现有技术相比,本发明提供的含油废水处理装置由于采用了与储油罐连接的油泵以及同时与油泵和浮块连接的伸缩管,所以能够方便快捷地实现油水分离,分离效率高,分离效果好,便于进行后续处理。
(发明人:喻珊;王思拓;傅凯文;王涛;周李恒)






