公布日:2023.09.12
申请日:2023.07.10
分类号:C02F3/28(2023.01)I
摘要
本发明公开了一种PP材质厌氧反应罐,具体涉及厌氧反应设备领域,包括罐体,所述罐体的外表面固定连接有防护夹持膜,所述罐体的顶端插接有输料管口,厌氧反应发生在废水和污泥颗粒接触的过程中,随着弧形夹持块旋转至触压杆接触,致使外置弧形翻滚板的弧形表面顺着触压杆的接触而通过夹持转杆位于外置轨道块和内置轨道块之间进行翻转,而由于内置弧形翻滚板和外置弧形翻滚板的表面为弧形表面,致使污水发生厌氧反应时,翻转的污水能够更快的引导反应气体导向罐体的上方被排出,同时翻转后的污泥颗粒容易上浮至污水上方形成污泥床,不再堵塞下方的出水口,从而便于对污泥颗粒的收集,以及厌氧反应后的气体收集。

权利要求书
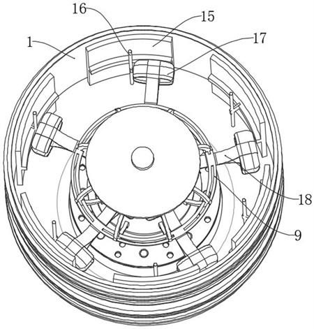
1.一种PP材质厌氧反应罐,包括罐体(1),其特征在于:所述罐体(1)的外表面固定连接有防护夹持膜(3),所述罐体(1)的顶端插接有输料管口(2);所述罐体(1)的底端固定连接有定位分隔架(5),所述定位分隔架(5)的内部固定连接有电机,所述电机的顶端固定连接有对应旋转杆(6),所述对应旋转杆(6)的顶端固定连接有定位夹持架(7),所述定位夹持架(7)的顶端固定连接有多组关于定位夹持架(7)的外表面呈环形状态设置的弧形夹持管(8),所述弧形夹持管(8)的外表面固定连接有内部开设有第一滑轨的外置轨道块(9),所述弧形夹持管(8)的内壁固定连接有内部开设有第二滑轨的内置轨道块(10),所述外置轨道块(9)、内置轨道块(10)与弧形夹持管(8)连接处开设有一个贯穿的圆孔,所述外置轨道块(9)的一端转动连接有呈张开状的弧形夹持块(18),所述弧形夹持块(18)的两侧固定连接有两组弧形表面的外置弧形翻滚板(17);所述内置轨道块(10)远离弧形夹持块(18)的一端转动连接有内置弧形翻滚板(24),所述内置弧形翻滚板(24)与弧形夹持块(18)之间固定连接有夹持转杆(22),所述夹持转杆(22)位于外置轨道块(9)与内置轨道块(10)之间的圆孔处转动连接有固定安装在圆孔内的中空转块。
2.根据权利要求1所述的一种PP材质厌氧反应罐,其特征在于:所述弧形夹持块(18)的内壁固定连接有固定板(23),所述固定板(23)的底端滑动连接有两组弹簧杆(26),两组所述弹簧杆(26)之间固定连接有弹簧(27),所述弹簧杆(26)的一端铰接有螺纹定位插杆(31)。
3.根据权利要求2所述的一种PP材质厌氧反应罐,其特征在于:所述螺纹定位插杆(31)远离弹簧杆(26)的一端铰接有压力推板(28),所述压力推板(28)的一端固定连接有铰接块(29),所述铰接块(29)的一端铰接有推行杆(30)。
4.根据权利要求1所述的一种PP材质厌氧反应罐,其特征在于:所述罐体(1)的内壁上固定连接有多组弧形安置板(15),所述弧形安置板(15)的一端转动连接有触压杆(16),所述触压杆(16)位于一组弧形夹持块(18)的上方。
5.根据权利要求4所述的一种PP材质厌氧反应罐,其特征在于:所述对应旋转杆(6)位于电机与定位分隔架(5)之间固定连接有转轮(12),所述定位分隔架(5)的底端固定连接有多组定位卡合杆(13),所述转轮(12)的外表面通过开设的槽孔转动连接有传输转带(14)。
6.根据权利要求5所述的一种PP材质厌氧反应罐,其特征在于:所述传输转带(14)饶接在多组定位卡合杆(13)和转轮(12)的外表面,所述定位分隔架(5)的顶端固定连接有螺纹定位插杆(31),所述定位分隔架(5)的顶端通过螺纹定位插杆(31)固定连接有螺栓定位块(11)。
7.根据权利要求6所述的一种PP材质厌氧反应罐,其特征在于:所述对应旋转杆(6)位于定位夹持架(7)与定位分隔架(5)之间固定连接有第一过滤分网(19),所述第一过滤分网(19)的外表面开设有多组第二过滤管口(21),所述螺栓定位块(11)的外表面固定连接有第二过滤分网(20)。
8.根据权利要求7所述的一种PP材质厌氧反应罐,其特征在于:所述第二过滤分网(20)的内部开设有多组第一过滤管口(4),所述第二过滤分网(20)的顶端固定连接有多组与第二过滤管口(21)对齐的弹簧杆(26),所述弹簧杆(26)的顶端固定连接有弹射块(25)。
发明内容
为了克服现有技术的上述缺陷,本发明的实施例提供一种PP材质厌氧反应罐,通过随着弧形夹持块旋转至触压杆接触,致使外置弧形翻滚板的弧形表面顺着触压杆的接触而通过夹持转杆位于外置轨道块和内置轨道块之间进行翻转,而由于内置弧形翻滚板和外置弧形翻滚板的表面为弧形表面,致使污水发生厌氧反应时,翻转的污水能够更快的引导反应气体导向罐体的上方被排出以解决上述背景技术中提出的问题。
为实现上述目的,本发明提供如下技术方案:一种PP材质厌氧反应罐,包括罐体,所述罐体的外表面固定连接有防护夹持膜,所述罐体的顶端插接有输料管口,厌氧反应发生在废水和污泥颗粒接触的过程中,在厌氧状态下产生的沼气(主要是甲烷和二氧化碳)引起了内部的循环,废水通过布水装置均匀地引入罐体的内部;
所述罐体的底端固定连接有定位分隔架,所述定位分隔架的内部固定连接有电机,所述电机的顶端固定连接有对应旋转杆,所述对应旋转杆的顶端固定连接有定位夹持架,所述定位夹持架的顶端固定连接有多组关于定位夹持架的外表面呈环形状态设置的弧形夹持管,所述弧形夹持管的外表面固定连接有内部开设有第一滑轨的外置轨道块,所述弧形夹持管的内壁固定连接有内部开设有第二滑轨的内置轨道块,所述外置轨道块、内置轨道块与弧形夹持管连接处开设有一个贯穿的圆孔,所述外置轨道块的一端转动连接有呈张开状的弧形夹持块,所述弧形夹持块的两侧固定连接有两组弧形表面的外置弧形翻滚板;
所述内置轨道块远离弧形夹持块的一端转动连接有内置弧形翻滚板,所述内置弧形翻滚板与弧形夹持块之间固定连接有夹持转杆,所述夹持转杆位于外置轨道块与内置轨道块之间的圆孔处转动连接有固定安装在圆孔内的中空转块,电机带动对应旋转杆旋转时,对应旋转杆带动弧形夹持管旋转,弧形夹持管通过外置轨道块和内置轨道块带动弧形夹持块以及内置弧形翻滚板正常旋转搅拌,致使罐体内部的所有污泥颗粒与污水充分搅拌实现厌氧反应。
在一个优选的实施方式中,所述弧形夹持块的内壁固定连接有固定板,所述固定板的底端滑动连接有两组弹簧杆,两组所述弹簧杆之间固定连接有弹簧,所述弹簧杆的一端铰接有螺纹定位插杆,随着弧形夹持块旋转至触压杆接触,致使外置弧形翻滚板的弧形表面顺着触压杆的接触而通过夹持转杆位于外置轨道块和内置轨道块之间进行翻转,而由于内置弧形翻滚板和外置弧形翻滚板的表面为弧形表面,致使污水发生厌氧反应时,翻转的污水能够更快的引导反应气体导向罐体的上方被排出,同时翻转后的污泥颗粒容易上浮至污水上方形成污泥床,不再堵塞下方的出水口,从而便于对污泥颗粒的收集,以及厌氧反应后的气体收集。
在一个优选的实施方式中,所述螺纹定位插杆远离弹簧杆的一端铰接有压力推板,所述压力推板的一端固定连接有铰接块,所述铰接块的一端铰接有推行杆,随着弧形夹持块的翻转,堆积在上方或者准备下沉的污泥与推行杆接触,推行杆通过污泥的压力而带动压力推板挤压沿着固定板的表面向外张开,随着弹簧的弹力大于压力会对污泥进行挤压,进而加速其分离,从而加速污泥床的形成,提高厌氧反应效率。
在一个优选的实施方式中,所述罐体的内壁上固定连接有多组弧形安置板,所述弧形安置板的一端转动连接有触压杆,所述触压杆位于一组弧形夹持块的上方。
在一个优选的实施方式中,所述对应旋转杆位于电机与定位分隔架之间固定连接有转轮,所述定位分隔架的底端固定连接有多组定位卡合杆,所述转轮的外表面通过开设的槽孔转动连接有传输转带,电机作为驱动带动对应旋转杆进行旋转时,由于对应旋转杆作为搅拌机构,其承受较重的废水,则对应旋转杆旋转时依靠转轮旋转传输转带。
在一个优选的实施方式中,所述传输转带饶接在多组定位卡合杆和转轮的外表面,所述定位分隔架的顶端固定连接有螺纹定位插杆,所述定位分隔架的顶端通过螺纹定位插杆固定连接有螺栓定位块。
在一个优选的实施方式中,所述对应旋转杆位于定位夹持架与定位分隔架之间固定连接有第一过滤分网,所述第一过滤分网的外表面开设有多组第二过滤管口,所述螺栓定位块的外表面固定连接有第二过滤分网。
在一个优选的实施方式中,所述第二过滤分网的内部开设有多组第一过滤管口,所述第二过滤分网的顶端固定连接有多组与第二过滤管口对齐的弹簧杆,所述弹簧杆的顶端固定连接有弹射块,污水通过搅拌加速厌氧反应与包含颗粒污泥或絮状污泥的污泥床接触,在污泥层形成的一些反应后的气体附着在污泥颗粒上,向罐体顶部上升,上升到表面的污泥撞击罐体顶端三相分离器气体反射板的底部,引起附着气泡的污泥絮体脱气,气泡释放后污泥颗粒将沉淀到污泥床的表面,而气体则经过罐体与外部连接的排气机构排出。
本发明的技术效果和优点:
1、随着弧形夹持块旋转至触压杆接触,致使外置弧形翻滚板的弧形表面顺着触压杆的接触而通过夹持转杆位于外置轨道块和内置轨道块之间进行翻转,而由于内置弧形翻滚板和外置弧形翻滚板的表面为弧形表面,致使污水发生厌氧反应时,翻转的污水能够更快的引导反应气体导向罐体的上方被排出,同时翻转后的污泥颗粒容易上浮至污水上方形成污泥床,不再堵塞下方的出水口,从而便于对污泥颗粒的收集,以及厌氧反应后的气体收集;
2、随着弧形夹持块的翻转,堆积在上方或者准备下沉的污泥与推行杆接触,推行杆通过污泥的压力而带动压力推板挤压沿着固定板的表面向外张开,随着弹簧的弹力大于压力会对污泥进行挤压,进而加速其分离,从而加速污泥床的形成,提高厌氧反应效率;
3、电机作为驱动带动对应旋转杆进行旋转时,由于对应旋转杆作为搅拌机构,其承受较重的废水,则对应旋转杆旋转时依靠转轮旋转传输转带,传输转带依靠多组定位卡合杆的引导使对应旋转杆保持定位在中央,从而实现了提高了对废水搅拌的稳定性;
4、搅拌后的污水通过厌氧反应后,需要将剩余的污水排出,对应旋转杆继续旋转,第一过滤分网旋转加速沉于底部污泥颗粒以及污泥块的活动,使水能够顺利从第二过滤管口和第一过滤管口内排出,同时第一过滤分网旋转至与第一过滤管口与第一过滤分网对齐时,污泥被堵住,而水流顺利流向下方与外部部件连接释放,对应旋转杆继续旋转至弹射块对齐第二过滤管口时,弹射块通过弹簧杆从压缩状态恢复至弹性状态,对堵塞的污泥进行撞击,从而实现了防止分割组件被污泥堵住而无法使污水顺利与污泥颗粒分离,造成反应产物处理失败。
(发明人:韩冬冬;张凯;高磊;王沙沙)






