公布日:2023.10.20
申请日:2023.09.11
分类号:C02F1/44(2023.01)I;C02F1/66(2023.01)I;B08B3/14(2006.01)I
摘要
本申请公开了一种碳化硅微粉用废水循环处理装置,属于碳化硅微粉废水循环处理技术领域,包括外筒壳体,外筒壳体的顶部开口内放置有过滤筒,外筒壳体底端固定连通有排出管,排出管的输出端上设有能对用以清洗碳化硅微粉所排出废水进行过滤处理的分离器件,分离器件包括固定连接于排出管输出端上的导出水管,固定圈上设有能将废水中水分子单独过滤分离出的内嵌组件。本碳化硅微粉用废水循环处理装置在使用时能对清洗绿色碳化硅微粉的废水进行过滤处理,并能将过滤后的水再次循环用来清洗碳化硅微粉,从而使得本装置在有效处理绿色碳化硅微粉废水的同时,还能有效节约清理碳化硅微粉的用水量,提高清洗用水的使用效率,节约企业生产成本。

权利要求书
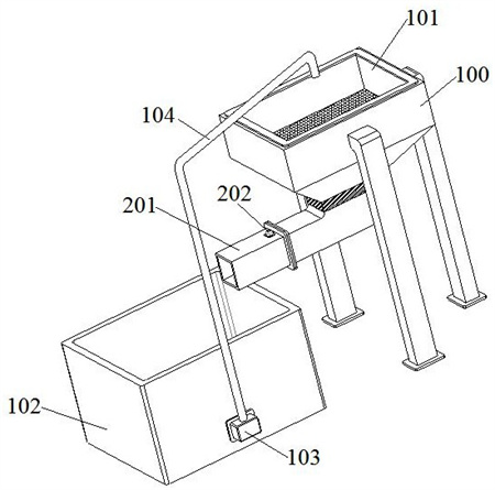
1.一种碳化硅微粉用废水循环处理装置,其特征在于:包括外筒壳体(100),所述外筒壳体(100)的顶部开口内放置有过滤筒(101),外筒壳体(100)底端固定连通有排出管,排出管上设有抽液泵,排出管的输出端上设有能对用以清洗碳化硅微粉所排出废水进行过滤处理的分离器件;所述分离器件输出端的下方设有水箱(102),水箱(102)侧壁下方连接有循环水泵(103),且循环水泵(103)的输出端与水箱(102)内部相连通,循环水泵(103)的输出端上连接有循环水管(104),且循环水管(104)的排出端处于过滤筒(101)的上方;所述分离器件包括固定连接于排出管输出端上的导出水管(201),导出水管(201)的内部连接有固定圈(203)上,固定圈(203)上设有能将废水中水分子单独过滤分离出的内嵌组件,导出水管(201)的外壁上设有能在内嵌组件失效时及时发出更换信号的配合结构;所述内嵌组件包括固定连接于固定圈(203)朝向排出管一侧的安装圈(204),安装圈(204)远离固定圈(203)一侧连接有支撑罩体(301),支撑罩体(301)外表面连接有外防护网(302);支撑罩体(301)靠近外防护网(302)一侧均匀开设有多个锥状汇聚槽(307),锥状汇聚槽(307)底壁上贯穿开设有过滤通槽(312),过滤通槽(312)远离锥状汇聚槽(307)一端上连接有反渗透膜(313);每个锥状汇聚槽(307)的内部均设有一个执行单元;所述执行单元包括设置于锥状汇聚槽(307)内部的中和球(303),中和球(303)的内部设有平衡球体(304),平衡球体(304)的内部连接有第二弹性带(310),且第二弹性带(310)远离平衡球体(304)的一端分别穿过平衡球体(304)以及中和球(303)并伸入至过滤通槽(312)内部;第二弹性带(310)伸入过滤通槽(312)内部的一端外周罩设有动力筒(308),动力筒(308)内部密封连接有气密活塞环(309),且气密活塞环(309)套接固定于第二弹性带(310)外周;动力筒(308)内部还填充有氮气层(311),动力筒(308)固定连接于过滤通槽(312)内部,动力筒(308)的端部还固定连通有引流软管(314);中和球(303)的外壁上均匀连接有多根第一弹性带(305),第一弹性带(305)一端伸入中和球(303)内部且与中和球(303)外壁相贴,另一端与锥状汇聚槽(307)内壁相连接;所述动力筒(308)介于反渗透膜(313)与锥状汇聚槽(307)之间,引流软管(314)远离动力筒(308)一端穿过所对应的反渗透膜(313),且多根引流软管(314)的输出端共同汇聚于一根总出管;所述配合结构包括固定连接于导出水管(201)外壁上的绝缘底座(205),绝缘底座(205)顶端连接有报警器(202);绝缘底座(205)的内部分别设有触发腔和动力腔,且触发腔介于动力腔的上方,绝缘底座(205)内部介于触发腔与动力腔之间设有导通细孔;动力腔的内部密封滑动连接有受迫塞座(208),受迫塞座(208)的顶部连接有连杆;触发腔顶壁上连接有通电正极座(206),触发腔内位于通电正极座(206)下方设有通电负极座(207),且连杆顶端穿入触发腔内并固定连接于通电负极座(207)底部,通电正极座(206)通过导线与报警器(202)的正极相连接,通电负极座(207)通过导线与报警器(202)负极相连接;受迫塞座(208)的底部连接有第三弹性带(209),且第三弹性带(209)底端与动力腔底壁相连接;绝缘底座(205)的底部连接有注入软管(210);所述注入软管(210)的一端伸入动力腔之中,注入软管(210)另一端穿入导出水管(201)内部并与总出管的输出端相连接。
2.根据权利要求1所述的碳化硅微粉用废水循环处理装置,其特征在于:所述第二弹性带(310)远离平衡球体(304)一端与动力筒(308)内腔底壁相连接。
3.根据权利要求1所述的碳化硅微粉用废水循环处理装置,其特征在于:所述导通细孔的一端与触发腔相连通,另一端与动力腔相连通。
4.根据权利要求1所述的碳化硅微粉用废水循环处理装置,其特征在于:所述第一弹性带(305)以及第二弹性带(310)的初始状态均为拉长绷紧状态。
5.根据权利要求1所述的碳化硅微粉用废水循环处理装置,其特征在于:所述第二弹性带(310)的外径尺寸大于第一弹性带(305)的外径尺寸。
发明内容
1.要解决的技术问题。
本申请的目的在于提供一种碳化硅微粉用废水循环处理装置的方法,解决了上述背景技术中所提出的技术问题。
2.技术方案。
本申请技术方案提供了一种碳化硅微粉用废水循环处理装置,包括外筒壳体,外筒壳体的顶部开口内放置有过滤筒,外筒壳体底端固定连通有排出管,排出管上设有抽液泵,排出管的输出端上设有能对用以清洗碳化硅微粉所排出废水进行过滤处理的分离器件;
分离器件输出端的下方设有水箱,水箱侧壁下方连接有循环水泵,且循环水泵的输出端与水箱内部相连通,循环水泵的输出端上连接有循环水管,且循环水管的排出端处于过滤筒的上方;
分离器件包括固定连接于排出管输出端上的导出水管,导出水管的内部连接有固定圈上,固定圈上设有能将废水中水分子单独过滤分离出的内嵌组件,导出水管的外壁上设有能在内嵌组件失效时及时发出更换信号的配合结构。
作为本申请文件技术方案的一种可选方案,内嵌组件包括固定连接于固定圈朝向排出管一侧的安装圈,安装圈远离固定圈一侧连接有支撑罩体,支撑罩体外表面连接有外防护网;
支撑罩体靠近外防护网一侧均匀开设有多个锥状汇聚槽,锥状汇聚槽底壁上贯穿开设有过滤通槽,过滤通槽远离锥状汇聚槽一端上连接有反渗透膜;
每个锥状汇聚槽的内部均设有一个执行单元。
作为本申请文件技术方案的一种可选方案,执行单元包括设置于锥状汇聚槽内部的中和球,中和球的内部设有平衡球体,平衡球体的内部连接有第二弹性带,且第二弹性带远离平衡球体的一端分别穿过平衡球体以及中和球并伸入至过滤通槽内部;
第二弹性带伸入过滤通槽内部的一端外周罩设有动力筒,动力筒内部密封连接有气密活塞环,且气密活塞环套接固定于第二弹性带外周;
动力筒内部还填充有氮气层,动力筒固定连接于过滤通槽内部,动力筒的端部还固定连通有引流软管;
中和球的外壁上均匀连接有多根第一弹性带,第一弹性带一端伸入中和球内部且与中和球外壁相贴,另一端与锥状汇聚槽内壁相连接。
作为本申请文件技术方案的一种可选方案,第二弹性带远离平衡球体一端与动力筒内腔底壁相连接。
作为本申请文件技术方案的一种可选方案,动力筒介于反渗透膜与锥状汇聚槽之间,引流软管远离动力筒一端穿过所对应的反渗透膜,且多根引流软管的输出端共同汇聚于一根总出管。
作为本申请文件技术方案的一种可选方案,配合结构包括固定连接于导出水管外壁上的绝缘底座,绝缘底座顶端连接有报警器;
绝缘底座的内部分别设有触发腔和动力腔,且触发腔介于动力腔的上方,绝缘底座内部介于触发腔与动力腔之间设有导通细孔;
动力腔的内部密封滑动连接有受迫塞座,受迫塞座的顶部连接有连杆;
触发腔顶壁上连接有通电正极座,触发腔内位于通电正极座下方设有通电负极座,且连杆顶端穿入触发腔内并固定连接于通电负极座底部,通电正极座通过导线与报警器的正极相连接,通电负极座通过导线与报警器负极相连接;
受迫塞座的底部连接有第三弹性带,且第三弹性带底端与动力腔底壁相连接;
绝缘底座的底部连接有注入软管。
作为本申请文件技术方案的一种可选方案,导通细孔的一端与触发腔相连通,另一端与动力腔相连通。
作为本申请文件技术方案的一种可选方案,注入软管的一端伸入动力腔之中,注入软管另一端穿入导出水管内部并与总出管的输出端相连接。
作为本申请文件技术方案的一种可选方案,第一弹性带以及第二弹性带的初始状态均为拉长绷紧状态。
作为本申请文件技术方案的一种可选方案,第二弹性带的外径尺寸大于第一弹性带的外径尺寸。
3.有益效果。
本申请技术方案中提供的一个或多个技术方案,至少具有如下技术效果或优点:
(1).本碳化硅微粉用废水循环处理装置在使用时能对清洗绿色碳化硅微粉的废水进行过滤处理,并能将过滤后的水再次循环用来清洗碳化硅微粉,从而使得本装置在有效处理绿色碳化硅微粉废水的同时,还能有效节约清理碳化硅微粉的用水量,提高清洗用水的使用效率,节约企业生产成本。
(2).将待清洗绿色碳化硅微粉倒入过滤筒内,随后再将清洗水向过滤筒顶部开口喷出,清洗废水通过抽液泵泵入导出水管内部后,通过内嵌组件上的反渗透膜将除水以外的物质过滤拦截下,实现对废水的过滤除杂处理。
(3).经过内嵌组件过滤处理后的水通过导出水管导入水箱统一收集内部,再通过循环水泵将收集的水通过循环水管再次输入过滤筒内部并再次清洗碳化硅微粉,进而实现对清洗碳化硅微粉的废水的处理循环再利用,提高对废水的利用率,节约清洗绿色碳化硅微粉用水。
(4).废水进入锥状汇聚槽内部后,通过中和球将碱洗碳化硅微粉时所残留表面所粘附碱性溶液进行中和,降低废水中碱性,使得废水的pH值趋向7,降低清洗废水对反渗透膜的损坏程度,延长反渗透膜的使用寿命,有利于提升本处理装置使用寿命的同时,也能有效提高本装置运行的稳定性。
(5).中和球不断中和废水中碱性物质后,体积不断收缩减小,当中和球体积缩小接近平衡球体表面时,在第一弹性带拉力作用下,第一弹性带从中和球内部脱离出,并且在第二弹性带弹力拉力下,气密活塞环将氮气层通过引流软管传导至配合结构内部,再由配合结构在内嵌组件失效时及时向工作人员发出更换信号,保障本处理装置对绿色碳化硅微粉的废水处理效果。
(发明人:高惠;朱述理;高祥恩;王中连;高祥军;王慧)






