公布日:2024.12.27
申请日:2024.11.22
分类号:B01D33/11(2006.01)I;B01D33/50(2006.01)I
摘要
本发明提供了一种水产养殖废水的循环处理设备,包括壳体、过滤组件、反冲洗组件和集污组件,壳体具有腔室、进液口和出液口,进液口和出液口均与腔室连通,过滤组件设在腔室内且过滤组件具有过滤腔,进液口与过滤腔连通,出液口位于过滤组件下方,反冲洗组件设在腔室内且位于过滤组件上方,集污组件包括集污筒和导流件,集污筒设在过滤组件内且与壳体的内周面相连,集污筒上端面设有沿过滤组件的长度方向延伸的开口,导流件设在集污筒内且相对于集污筒沿集污筒的周向可转动,导流件的外周面穿过开口与过滤组件的内周面相抵,导流件设有多个沿集污筒的径向贯穿导流件的导流孔。本发明的水产养殖废水的循环处理设备具有结构简单、过滤效率高等优点。

权利要求书
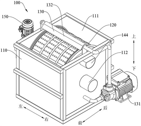
1.一种水产养殖废水的循环处理设备(100),其特征在于,包括:壳体(110),所述壳体(110)具有腔室(111)、进液口(112)和出液口(113),所述进液口(112)和所述出液口(113)均与所述腔室(111)连通,以便废水通过所述进液口(112)流入所述腔室(111)并从所述出液口(113)流出所述腔室(111);过滤组件(120),所述过滤组件(120)设在所述腔室(111)内且所述过滤组件(120)具有过滤腔,所述进液口(112)与所述过滤腔连通,以便所述废水通过所述进液口(112)流入所述过滤腔内以过滤所述废水内的杂质,所述出液口(113)位于所述过滤组件(120)下方,以便过滤后的所述废水通过所述出液口(113)流出;反冲洗组件(130),所述反冲洗组件(130)设在所述腔室(111)内且位于所述过滤组件(120)上方,所述反冲洗组件(130)用于冲洗所述过滤组件(120);集污组件(140),所述集污组件(140)包括集污筒(141)和导流件(142),所述导流件(142)由弹性材料制成,所述集污筒(141)设在过滤组件(120)内且与所述壳体(110)的内周面相连,所述集污筒(141)上端面设有沿所述过滤组件(120)的长度方向延伸的开口(1411),所述开口(1411)与所述反冲洗组件(130)沿上下方向间隔相对设置,以便所述反冲洗组件(130)流出的冲洗水流入所述集污筒(141)内,所述导流件(142)设在所述集污筒(141)内且相对于所述集污筒(141)沿所述集污筒(141)的周向可转动,所述导流件(142)的外周面穿过所述开口(1411)与所述过滤组件(120)的内周面相抵,所述导流件(142)设有多个沿所述集污筒(141)的径向贯穿所述导流件(142)的导流孔(1421),多个所述导流孔(1421)沿所述导流件(142)的周向间隔设置,以在清洗所述过滤组件(120)时,所述反冲洗组件(130)冲洗所述过滤组件(120),所述过滤组件(120)转动以带动所述导流件(142)转动,所述过滤组件(120)流出的冲洗水通过所述导流孔(1421)流入所述集污筒(141)内;所述集污筒(141)包括外筒(143)和内筒(144),所述外筒(143)和所述内筒(144)均设在所述过滤腔内且均与所述壳体(110)相连,所述内筒(144)设在所述外筒(143)内且所述外筒(143)的内周面和所述内筒(144)的外周面间隔设置,所述导流件(142)可转动地设在所述外筒(143)和所述内筒(144)之间,所述外筒(143)上端面设有沿所述过滤组件(120)的长度方向延伸的第一口(1431),所述内筒(144)上端面设有沿所述过滤组件(120)的长度方向延伸的第二口(1441),所述第一口(1431)和所述第二口(1441)沿上下方向间隔相对设置以限定出所述开口(1411),在清洗所述过滤组件(120)时,经所述过滤组件(120)冲洗后的冲洗水通过所述开口(1411)流入所述内筒(144)内;所述内筒(144)包括第一板(1442)、第二板(1443)和连接板(1444),所述第一板(1442)、所述连接板(1444)和所述第二板(1443)沿所述内筒(144)的周向依次相连,且所述第一板(1442)和所述第二板(1443)沿所述内筒(144)的周向间隔相对设置以限定出所述第二口(1441),所述第一板(1442)和所述第二板(1443)均为过滤板,以在所述内筒(144)内冲洗水高于预设值时,所述冲洗水通过所述过滤板流入所述导流孔(1421)内。
2.根据权利要求1所述的水产养殖废水的循环处理设备(100),其特征在于,在所述集污筒(141)内的冲洗水高于预设值时,所述集污组件(140)具有清洗状态,在所述清洗状态,所述集污筒(141)内的冲洗水流入所述导流孔(1421)内且随导流孔(1421)转动,在所述冲洗水转动至所述第一板(1442)或所述第二板(1443)上方,以便冲洗所述第一板(1442)或所述第二板(1443)。
3.根据权利要求1所述的水产养殖废水的循环处理设备(100),其特征在于,所述内筒(144)的一端穿出所述壳体(110)外且适于与外部设备相连,以便所述内筒(144)内冲洗水排出所述内筒(144)。
4.根据权利要求1所述的水产养殖废水的循环处理设备(100),其特征在于,所述过滤组件(120)设有多个第一过滤孔,所述过滤板上设有多个第二过滤孔,所述第一过滤孔的孔径不小于所述第二过滤孔的孔径。
5.根据权利要求2所述的水产养殖废水的循环处理设备(100),其特征在于,所述外筒(143)的外周面设有多个贯穿所述外筒(143)的第一溢流孔(1432)和第二溢流孔(1433),多个所述第一溢流孔(1432)和多个所述第二溢流孔(1433)均沿所述外筒(143)的轴向间隔设置,多个所述第一溢流孔(1432)和多个所述第二溢流孔(1433)沿所述外筒(143)的径向间隔设置,且所述第一溢流孔(1432)邻近所述第一板(1442)设置,所述第二溢流孔(1433)邻近所述第二板(1443)设置。
6.根据权利要求1-5中任一项所述的水产养殖废水的循环处理设备(100),其特征在于,所述导流件(142)包括多个导流板(1422)和多个安装板(1423),所述导流板(1422)由弹性材料制成,所述导流板(1422)沿所述集污筒(141)的径向延伸,所述安装板(1423)沿所述集污筒(141)的周向延伸,多个所述导流板(1422)沿所述集污筒(141)的周向间隔设置,相邻的两个所述导流板(1422)之间设有至少一个所述安装板(1423),所述安装板(1423)的两端分别与相邻的两个所述导流板(1422)相连,相邻的两个所述导流板(1422)和所述安装板(1423)限定出所述导流孔(1421),至少两个所述导流板(1422)穿过所述开口(1411)与所述过滤组件(120)的内周面相抵。
7.根据权利要求1-5中任一项所述的水产养殖废水的循环处理设备(100),其特征在于,还包括电机(150),所述电机(150)设在所述壳体(110)的外周面且与所述过滤组件(120)相连,以在清洗所述过滤组件(120)时,所述电机(150)带动所述过滤组件(120)转动。
8.根据权利要求1-5中任一项所述的水产养殖废水的循环处理设备(100),其特征在于,所述反冲洗组件(130)包括水泵(131)、冲洗管(132)和多个喷头(133),所述水泵(131)与所述冲洗管(132)连通,以便所述冲洗水通过所述水泵(131)流入所述冲洗管(132)内,所述冲洗管(132)设在所述过滤组件(120)上方且沿所述过滤组件(120)的长度方向延伸,多个所述喷头(133)设在所述冲洗管(132)上且均与所述冲洗管(132)连通,多个所述喷头(133)设在所述冲洗管(132)朝向所述过滤组件(120)的一侧且多个所述喷头(133)沿所述冲洗管(132)的延伸方向间隔设置,以便所述冲洗水通过所述喷头(133)对所述过滤组件(120)进行冲洗。
发明内容
基于此,有必要针对目前的转鼓微滤机清洗效率低、滤渣处理难度大所存在的问题,提供一种水产养殖废水的循环处理设备。
上述目的通过下述技术方案实现:
一种水产养殖废水的循环处理设备包括:壳体,所述壳体具有腔室、进液口和出液口,所述进液口和所述出液口均与所述腔室连通,以便废水通过所述进液口流入所述腔室并从所述出液口流出所述腔室;过滤组件,所述过滤组件设在所述腔室内且所述过滤组件具有过滤腔,所述进液口与所述过滤腔连通,以便所述废水通过所述进液口流入所述过滤腔内以过滤所述废水内的杂质,所述出液口位于所述过滤组件下方,以便过滤后的所述废水通过所述出液口流出;反冲洗组件,所述反冲洗组件设在所述腔室内且位于所述过滤组件上方,所述反冲洗组件用于冲洗所述过滤组件;集污组件,所述集污组件包括集污筒和导流件,所述导流件由弹性材料制成,所述集污筒设在过滤组件内且与所述壳体的内周面相连,所述集污筒上端面设有沿所述过滤组件的长度方向延伸的开口,所述开口与所述反冲洗组件沿上下方向间隔相对设置,以便所述反冲洗组件流出的冲洗水流入所述集污筒内,所述导流件设在所述集污筒内且相对于所述集污筒沿所述集污筒的周向可转动,所述导流件的外周面穿过所述开口与所述过滤组件的内周面相抵,所述导流件设有多个沿所述集污筒的径向贯穿所述导流件的导流孔,多个所述导流孔沿所述导流件的周向间隔设置以在清洗所述过滤组件时,所述反冲洗组件冲洗所述过滤组件,所述过滤组件转动以带动所述导流件转动,所述过滤组件流出的冲洗水通过所述导流孔流入所述集污筒内。
进一步的,所述集污筒包括外筒和内筒,所述外筒和所述内筒均设在所述过滤腔内且均与所述壳体相连,所述内筒设在所述外筒内且所述外筒的内周面和所述内筒的外周面间隔设置,所述导流件可转动地设在所述外筒和所述内筒之间,所述外筒上端面设有沿所述过滤组件的长度方向延伸的第一口,所述内筒上端面设有沿所述过滤组件的长度方向延伸的第二口,所述第一口和所述第二口沿上下方向间隔相对设置以限定出所述开口,在清洗所述过滤组件时,经所述过滤组件冲洗后的冲洗水通过所述开口流入所述内筒内。
进一步的,所述内筒包括第一板、第二板和连接板,所述第一板、所述连接板和所述第二板沿所述内筒的周向依次相连,且所述第一板和所述第二板沿所述内筒的周向间隔相对设置以限定出所述第二口,所述第一板和所述第二板均为过滤板,以在所述内筒内冲洗水高于预设值时,所述冲洗水通过所述过滤板流入所述导流孔内。
进一步的,在所述集污筒内的冲洗水高于预设值时,所述集污组件具有清洗状态,在所述清洗状态,所述集污筒内的冲洗水流入所述导流孔内且随导流孔转动,在所述冲洗水转动至所述第一板或所述第二板上方,以便冲洗所述第一板或所述第二板。
进一步的,所述内筒的一端穿出所述壳体外且适于与外部设备相连,以便所述内筒内冲洗水排出所述内筒。
进一步的,所述过滤组件设有多个第一过滤孔,所述过滤板上设有多个第二过滤孔,所述第一过滤孔的孔径不小于所述第二过滤孔的孔径。
进一步的,所述外筒的外周面设有多个贯穿所述外筒的第一溢流孔和第二溢流孔,多个所述第一溢流孔和多个所述第二溢流孔均沿所述外筒的轴向间隔设置,多个所述第一溢流孔和多个所述第二溢流孔沿所述外筒的径向间隔设置,且所述第一溢流孔邻近所述第一板设置,所述第二溢流孔邻近所述第二板设置。
进一步的,所述导流件包括多个导流板和多个安装板,所述导流板由弹性材料制成,所述导流板沿所述集污筒的径向延伸,所述安装板沿所述集污筒的周向延伸,多个所述导流板沿所述集污筒的周向间隔设置,相邻的两个所述导流板之间设有至少一个所述安装板,所述安装板的两端分别与相邻的两个所述导流板相连,相邻的两个所述导流板和所述安装板限定出所述导流孔,至少两个所述导流板穿过所述开口与所述过滤组件的内周面相抵。
进一步的,所述水产养殖废水的循环处理设备还包括电机,所述电机设在所述壳体的外周面且与所述过滤组件相连,以在清洗所述过滤组件时,所述电机带动所述过滤组件转动。
进一步的,所述反冲洗组件包括水泵、冲洗管和多个喷头,所述水泵与所述冲洗管连通,以便所述冲洗水通过所述水泵流入所述冲洗管内,所述冲洗管设在所述过滤组件上方且沿所述过滤组件的长度方向延伸,多个所述喷头设在所述冲洗管上且均与所述冲洗管连通,多个所述喷头设在所述冲洗管朝向所述过滤组件的一侧且多个所述喷头沿所述冲洗管的延伸方向间隔设置,以便所述冲洗水通过所述喷头对所述过滤组件进行冲洗。
本发明的有益效果是:本发明实施例的水产养殖废水的循环处理设备,设置反冲洗组件和集污组件,清理了过滤组件上的杂质,且防止杂质随着冲洗水流入到过滤组件内,减小了杂质的处理难度,保证了过滤组件的过滤效率,另外,在清洗过滤组件的工作过程中,过滤组件与导流件始终顶紧,使得过滤组件带动导流件转动,从而保证了不磨损过滤组件的同时反冲污水杂质不会泄露,延长了过滤组件的使用寿命和过滤效率。
(发明人:杜岩松;陈照;马继忠)






