申请日2016.05.27
公开(公告)日2016.12.07
IPC分类号C02F11/00
摘要
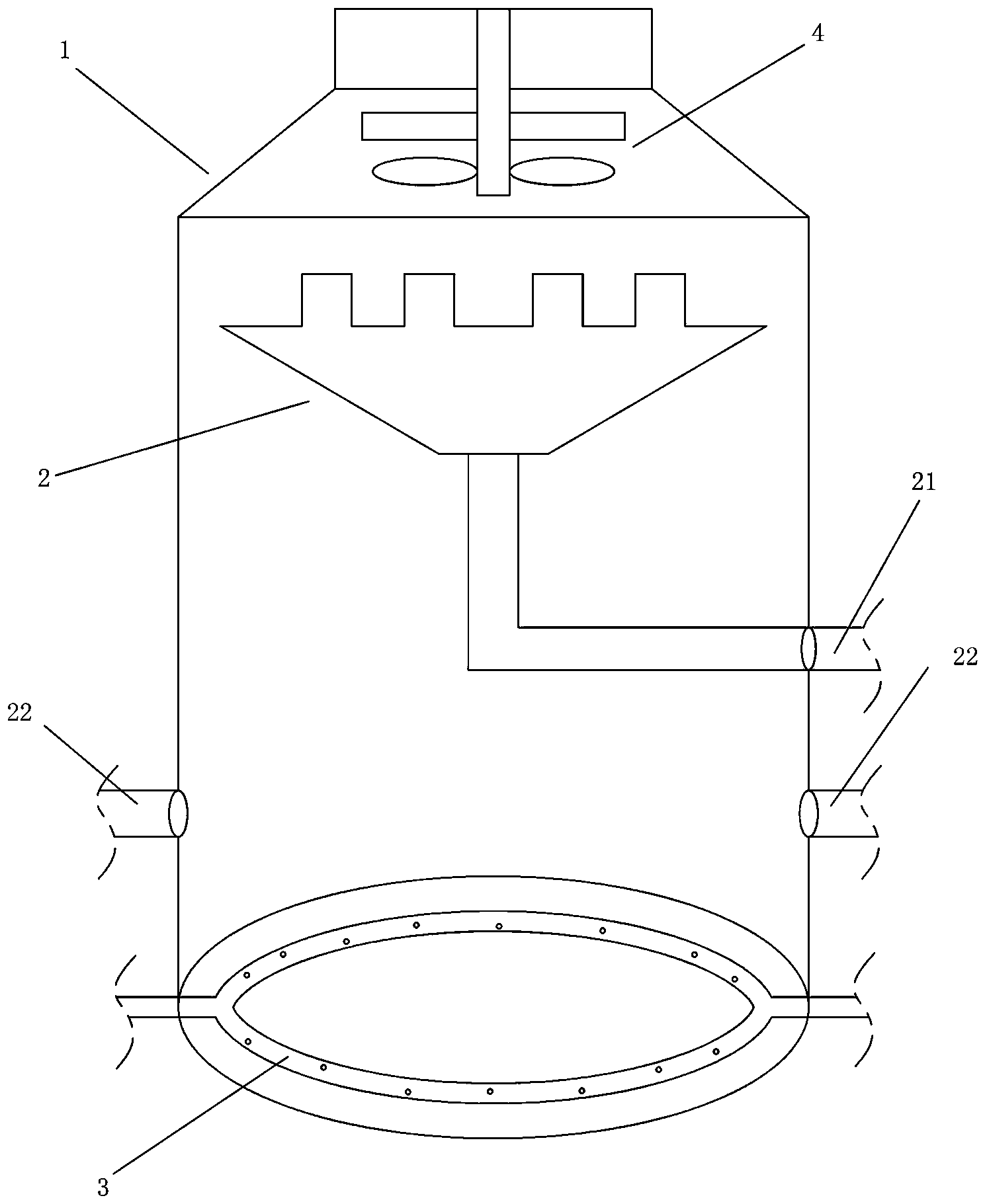
本实用新型公开了一种活性污泥反应装置,包括箱体,所述箱体设置有高于污泥反应液面的漂浮杂质收集器,所述漂浮杂质收集器下端设置有杂质排放管,所述箱体内还设置有污泥出口,以及至少一条输气/液管,所述输气/液管上设置有出气孔。本装置能够将有效对污泥中的油水混合杂质等进行分离,其分离效率高,分离效果好,具有很好的使用价值。
摘要附图
权利要求书
1.一种活性污泥反应装置,其特征在于:包括箱体,所述箱体设置有高于污泥反应液面的漂浮杂质收集器,所述漂浮杂质收集器下端设置有杂质排放管,所述箱体内还设置有污泥出口,以及至少一条输气/液管,所述输气/液管上设置有出气孔。
2.根据权利要求1所述的一种活性污泥反应装置,其特征在于:所述漂浮杂质收集器为带齿状的锥形漏斗,所述杂质排放管一端连接漂浮杂质收集器底端,另一端连接到所述箱体外部。
3.根据权利要求1所述的一种活性污泥反应装置,其特征在于:所述箱体内还设置有泡沫消除器,其位于所述漂浮杂质收集器上方。
4.根据权利要求3所述的一种活性污泥反应装置,其特征在于:所述泡沫消除器为可旋转的搅拌桨。
5.根据权利要求3所述的一种活性污泥反应装置,其特征在于:所述泡沫消除器为可喷洒消泡剂的喷淋器。
6.根据权利要求1所述的一种活性污泥反应装置,其特征在于:所述输气/液管呈环状布置于箱体内底部,所述输气/液管上分布有多个出气孔。
7.根据权利要求6所述的一种活性污泥反应装置,其特征在于:包含2-4条输气/液管,并等距排列在所述箱体底部,所述输气/液管的开口方向使得污泥反应液形成涡旋。
说明书
一种活性污泥反应装置
技术领域
本实用新型涉及污泥处理设备,具体是一种活性污泥反应装置。
背景技术
生活污水处理的副产物——污泥对环境的破坏很大,因此需要进一步的处理。而污泥处理的过程中,现有技术中存在将污泥留着水体中直接处理的方法。这时候,污泥中的很多成分都会逐渐分解,释放到水体中,造成反应体系的浓度变高。这时,就需要将漂浮的杂质进行分离,以免产生过多的泡沫。同时,一般的污泥当中混杂有许多不同的杂质,其中有很大部分是油液混合物,这些油液混合物在污泥中层层混合,非常难以获得高效、高质的分离,难以更好地处理污泥,同时,也会给处理设备的运行带来不良的影响。
实用新型内容
为了克服现有技术的不足,本实用新型提供一种活性污泥反应装置,其漂浮杂质(油脂等)分离效率高,而且效果好,使污泥处理设备能顺利运行。
本实用新型解决其技术问题所采用的技术方案是:
一种活性污泥反应装置,其特征在于:包括箱体,所述箱体设置有高于污泥反应液面的漂浮杂质收集器,所述漂浮杂质收集器下端设置有杂质排放管,所述箱体内还设置有污泥出口,以及至少一条输气/液管,所述输气/液管上设置有出气孔。
作为上述技术方案的改进,所述漂浮杂质收集器为带齿状的锥形漏斗,所述杂质排放管一端连接漂浮杂质收集器底端,另一端连接到所述箱体外部,用于排放杂质。
作为上述技术方案的进一步改进,所述箱体内还设置有泡沫消除器,其位于所述漂浮杂质收集器上方。
进一步地,所述泡沫消除器为可旋转的搅拌桨。
进一步地,所述泡沫消除器为可喷洒消泡剂的喷淋器。
作为上述技术方案的进一步改进,所述输气/液管呈环状布置于箱体内底部,所述输气/液管上分布有多个出气孔。
进一步地,在本实用新型的一些实施例中,包含2-4条输气/液管,并等距排列在所述箱体底部,所述输气/液管的开口方向使得污泥反应液形成涡旋。
本实用新型的有益效果是:本装置能够将有效对污泥中的油水混合杂质等进行分离,其分离效率高,分离效果好,具有很好的使用价值;本装置能有效消除反应过程中产生的气泡,防止溢流;本装置的输气/液管能使混入的气/液与污泥反应液充分混合,实现能源的节省。


