申请日2016.05.04
公开(公告)日2016.09.07
IPC分类号B01J19/18; C02F1/52
摘要
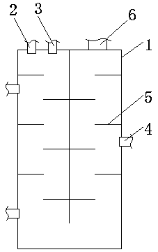
本实用新型公开了一种污水处理反应槽,包括槽体,所述槽体的进料端设有酸液管和碱液管,出料端设有排水管,所述槽体侧壁还设有聚凝剂管,所述槽体两侧内壁上交替设置有挡板。本实用新型的挡板既可以延长废水流过的路程,增加反应时间,又可以使废水在撞击挡板使翻腾充分混合,色度降至100以下,既大幅提高效果,又不需要搅拌桨,能降低运行成本。
权利要求书
1. 一种污水处理反应槽,包括槽体(1),所述槽体(1)的进料端设有酸液管(2)和碱液管(3),出料端设有排水管(6),所述槽体(1)侧壁还设有聚凝剂管(4),其特征在于:所述槽体(1)两侧内壁上交替设置有挡板(5)。
2. 如权利要求1所述的一种污水处理反应槽,其特征在于:所述挡板(5)垂直于槽体(1)侧壁设置。
3. 如权利要求1或2所述的一种污水处理反应槽,其特征在于:所述挡板(5)的宽度为槽体(1)宽度的1/2~2/3。
4. 如权利要求1所述的一种污水处理反应槽,其特征在于:所述槽体(1)成U形。
5. 如权利要求1或4所述的一种污水处理反应槽,其特征在于:所述槽体(1)的进料端高于出料端。
说明书
一种污水处理反应槽
技术领域
本实用新型涉及污水处理领域,具体涉及一种污水处理反应槽。
背景技术
纺织企业的染色工艺会产生大量的废水,废水中的化学试剂会造成十分严重的环境污染,必须进行处理后才能排放;废水处理其中一个步骤是降低色度,即将废水进行酸碱中和反应,然后添加聚凝剂沉降,现有的反应槽是直通槽,直通槽前段为设有搅拌桨的混合部,酸碱通过搅拌桨的动作提高均匀性,其缺陷在于:一、废水在直通槽中流速较快,酸碱反应时间不充分,废水色度从6000将至500左右;二、搅拌桨不间断运作的能耗较高;三、废水具有腐蚀性,搅拌桨及传动机构、驱动机构易损坏。由此可见,这种直通反应槽的效果不理想,而且运行成本高。
发明内容
本实用新型要解决的技术问题是提供一种污水反应槽,可以解决现有污水处理反应槽采用直通槽,导致效果不理想,而且运行成本高的问题。
本实用新型通过以下技术方案实现:
一种污水处理反应槽,包括槽体,所述槽体的进料端设有酸液管和碱液管,出料端设有排水管,所述槽体侧壁还设有聚凝剂管,所述槽体两侧内壁上交替设置有挡板。
本实用新型的进一步方案是,所述挡板垂直于槽体侧壁设置。
本实用新型的进一步方案是,所述挡板的宽度为槽体宽度的1/2~2/3。
本实用新型的进一步方案是,所述槽体成U形。
本实用新型的进一步方案是,所述槽体的进料端高于出料端。
本实用新型与现有技术相比的优点在于:
一、挡板既可以延长废水流过的路程,增加反应时间,又可以使废水在撞击挡板使翻腾充分混合,色度降至100以下,既大幅提高效果,又不需要搅拌桨,能降低运行成本;
二、挡板垂直于槽体侧壁设置,可以减小废水撞击回流形成的缓冲区,确保废水充分混合;
三、槽体宽度的1/2~2/3的挡板确保废水流过的路程能够增加足够的反应时间;
四、U形槽体有利于减小槽体占用的空间,而且U形的两个拐角处也具有使废水翻腾的效果;
五、进料端与出料端的落差使废水自然流淌,固态沉降物更加容易排出。



