申请日2016.04.29
公开(公告)日2017.11.14
IPC分类号B01D36/04; E03F1/00; E03F5/00
摘要
公路污水处理结构,包括水汇集通道,其特征在于,所述水汇集通道与分离箱连接,所述分离箱内设有滤水板,滤水板的下方布设有与集水箱,通过电机带动的轮辐转叶安装在所述滤水板上方;轮辐转叶的出料口安装有传送带电机带动的传送带,传送带的出料端安装有垃圾出口挡门;本发明的有益效果:本发明利用水质净化滤材,在初期雨水中直接净化污染源,节俭维护管理费,不仅大量减少废弃物产生量,同时是污染大大减少,成本低,适合推广使用。
权利要求书
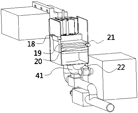
1.公路污水处理结构,包括水汇集通道(4),其特征在于,所述水汇集通道(4)与分离箱(40)连接,所述分离箱(40)内设有滤水板(14),滤水板(14)的下方布设有集水箱,通过电机带动的轮辐转叶(16)安装在所述滤水板(14)上方;轮辐转叶(16)的出料口安装有传送带电机(21)带动的传送带(19),传送带(19)的出料端安装有垃圾出口挡门(6);
所述集水箱分别连接有管道一(7)和管道二(41),其中:管道一(7)上安装有电磁阀一(8),管道二(41)上安装有流量传感器(22),所述管道一(7)与出水管道(13)连接;所述管道二(41)与储水箱(12)连接;
所述储水箱(12)内设有进水通道(28),圆锥帽(27)安装在进水通道(28)的出水口,其四周均布布设有EM 原液喷射管(26),EM 原液喷射管(26)外部连接有输料管道(32);所述储水箱(12)内设有波纹板(24),所述波纹板(24)的上方设有油污层(29),下方设有沉淀物斜槽(30);所述油污层(29)通过倾斜板连接集油箱(23);
所述储水箱(12)的出水口与管道四(9)连通,所述管道四(9)与水质处理装置(11)连接,水质处理装置(11)与出水管道(13)连接,所述管道四(9)上安装有电磁阀三(10),所述出水管道(13)上安装有倾斜吹气管(70),所述倾斜吹气管(70)吹气方向和出水管道(13)水流排出方向相同。
2.如权利要求1 所述的公路污水处理结构,其特征在于,所述轮辐转叶(16)内侧的轴圈(161)上均布设有吹气孔,半圆形挡孔板安装在轴圈(161)内壁面挡住一半吹气孔;所述轴圈(161)内还设有喷气嘴(17)对准轮辐转叶(16)的排料口,所述喷气嘴(17)外部连接有压力气管(5)。
3.如权利要求1 所述的公路污水处理结构,其特征在于,所述垃圾出口挡门(6)布设在分离箱(40)上,其通过挡门电机(18)带动可自动开启和闭合。
4.如权利要求1 所述的公路污水处理结构,其特征在于,所述传送带(19)下方安装有滑梯排水板(20)。
5.如权利要求1 所述的公路污水处理结构,其特征在于,所述圆锥帽(27)与波纹板(24)之间安装有曝气装置(25),所述曝气装置(25)外侧连接有曝气泵(31)。
说明书
公路污水处理结构及其处理方法
技术领域
本发明涉及一种公路污水处理结构及其处理方法,属于市政工程技术领域。
技术背景
道路排水包括路面排水部和路边排水部,所述路面排水部从下至上依次为:基层、防水层、透水层,所述防水层上方设有路面排水沟槽;所述路边排水部包括设置于道路两侧与所述路面排水部相邻的透水路沿石,以及所述透水路沿石下方的路边排水沟槽;所述透水路沿石包括:透水表层和透水强化层,所述透水表层中含有透水材料,所述透水强化层与所述透水表层内表面相邻接;所述透水强化层内具有空腔。
如一申请号为CN202380560U公开了一种道路排水系统,它至少包括有路面和设置于路面下的排水管道;所述的路面上设置有用于排水的圆形管道,所述的圆形管道下端与排水管道连接;当道路上有积水时,积水会流入圆形管道内,然后由圆形管道排到排水管道中;本发明采用简单易行的结构解决了道路积水问题,由于圆形管道面积较小,不会影响路面的强度,采用钢管还可以增强道路的强度,不会影响行车和行人的通行,可以大范围推广。
又如一申请号为CN204690894U公开了一种道路排水结构,包括透水地层,透水地层上表面安装有集水件,集水件不止一个,且呈漏斗型结构,集水件顶部固定在一排水地层下表面上,排水地层横向设置在集水件上,透水地层内对应集水件底部处竖向设有导水件,导水件与集水件之间连通,透水地层下表面设有透水混凝土渗透层,透水混凝土渗透层与透水地层之间通过水泥砂浆层连接,透水混凝土渗透层内设有中砂找平层,中砂找平层厚度为透水混凝土渗透层厚度的四分之一。本道路排水结构排水性能及透水性能都非常良好,能更好的用于市政道路排水,导流性强,且排水装置可预制,能更好的缩短施工周期,降低劳动强度,节约了一定成本,同时不会破坏道路承载力度。
一般情况下桥梁和道路,由于频繁的车辆的行使,受到重金属、污油、轮胎粉尘及污垢,雨天时,大量初期雨水流出水,通过排水渠流入到河川、湖水里,尤其是植物园或纯净水域、地下水脉污染水质。
为了处理以上污染水质的非点源污染源,以前的方法是临近道路的空地上,挖个大坑,在大坑里种植水芹菜等具有净化水的植物,以此净化从桥梁流下的初期雨水流出水,或者在空地上设置净化槽,集水后净化污染的雨水。
发明内容
本发明克服了现有技术存在的问题,提出了一种公路污水处理结构及其排水方法,本发明利用水质净化滤材,在初期雨水中直接净化污染源,节俭维护管理费,不仅大量减少废弃物产生量,同时是污染大大减少。
本发明的具体技术方案如下:
公路污水处理结构,包括水汇集通道,其特征在于,所述水汇集通道与分离箱连接,所述分离箱内设有滤水板,滤水板的下方布设有集水箱,通过电机带动的轮辐转叶安装在所述滤水板上方;轮辐转叶的出料口安装有传送带电机带动的传送带,传送带的出料端安装有垃圾出口挡门;
所述集水箱分别连接有管道一和管道二,其中:管道一上安装有电磁阀一,管道二上安装有流量传感器,所述管道一与出水管道连接;所述管道二与储水箱连接;所述储水箱内设有进水通道,圆锥帽安装在进水通道的出水口,其四周均布布设有EM原液喷射管,EM原液喷射管外部连接有输料管道;所述储水箱内设有波纹板,所述波纹板的上方设有油污层,下方设有沉淀物斜槽;所述油污层通过倾斜板连接集油箱;
所述储水箱的出水口与管道四连通,所述管道四与水质处理装置连接,水质处理装置与出水管道连接,所述管道四上安装有电磁阀三。所述出水管道上安装有倾斜吹气管,所述倾斜吹气管吹气方向和出水管道水流排出方向相同。
优先地,所述轮辐转叶内侧的轴圈上均布设有吹气孔,半圆形挡孔板安装在轴圈内壁面挡住一半吹气孔;所述轴圈内还设有喷气嘴对准轮辐转叶的排料口,所述喷气嘴外部连接有压力气管。
优先地,所述垃圾出口挡门布设在分离箱上,其通过挡门电机带动可自动开启和闭合。所述传送带下方安装有滑梯排水板。所述圆锥帽与波纹板之间安装有曝气装置,所述曝气装置外侧连接有曝气泵。
基于上述装置,本发明还提供一种道路排水处理方法,其特征在于,包括以下步骤,
1)将道路的排水下水道与水汇集通道连接;
2)当下雨或路面洒水清洗时,污水通过水汇集通道进入分离箱,关闭电磁阀一,开启流量传感器30-60分钟,开启电磁阀三;
3)对压力气管进行吹气,同时启动轮辐转叶开始对污水和杂物进行分离,将杂货排入传送带排出;
4)污水进入储水箱之后通过圆锥帽将水撒开与EM原液喷射管喷射进来的EM原液混合;
5)曝气装置对EM原液与污水混合水质进行曝气,使EM原液和污水充分混合;6)波纹板利用污水内的油、水的密度差将油分离到油污层排入出水管道,沉积物分离到沉淀物斜槽;
7)分离之后污水排入到管道四,并通过电磁阀三进入水质处理装置进行处理,处理完成之后进入出水管道排出;
8)待30-60分钟之后,关闭流量传感器,开启电磁阀一,同时对倾斜吹气管开始吹气,使污水快速直接进入出水管道排出。
本发明的有益效果:本发明利用水质净化滤材,在初期雨水中直接净化污染源,节俭维护管理费,不仅大量减少废弃物产生量,同时是污染大大减少,成本低,适合推广使用。



