申请日2016.05.04
公开(公告)日2016.09.21
IPC分类号C02F9/14
摘要
本实用新型公开了一种移动式水处理装置,包括车体,所述车体上表面设置有沉淀过滤池,所述沉淀过滤池内部设置有过滤网,沉淀过滤池上部设置有凹槽,所述凹槽内部设置有绞轮,凹槽上方设置有支撑板,所述支撑板位于沉淀过滤池上端面,且所述沉淀过滤池下部设置有排污口,所述排污口处设置有阀门,且所述沉淀过滤池一侧设置有蓄电池,所述车体驾驶室上表面设置有太阳能电池板,所述太阳能电池板通过逆变器与蓄电池电连接,所述蓄电池上方设置有吸水装置,所述吸水装置内部设置有动力装置,整个装置结构简单,利用太阳能提供能源,节能环保,移动作业可靠性高,可以充分利用污水废水资源,实现变废为宝。
权利要求书
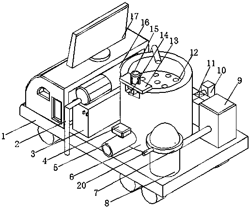
1.一种移动式水处理装置,包括车体(1),其特征在于:所述车体(1)上表面设置有沉淀过滤池(6),所述沉淀过滤池(6)内部设置有过滤网(12),沉淀过滤池(6)上部设置有凹槽,所述凹槽内部设置有绞轮(14),凹槽上方设置有支撑板(13),所述支撑板(13)位于沉淀过滤池(6)上端面,所述支撑板(13)上表面设置有第二驱动电机(15),所述第二驱动电机(15)输出轴和绞轮(14)转轴通过键连接,且所述沉淀过滤池(6)下部设置有排污口(5),所述排污口(5)处设置有阀门(4),且所述沉淀过滤池(6)一侧设置有蓄电池(3),所述车体(1)驾驶室上表面设置有太阳能电池板(17),所述太阳能电池板(17)通过逆变器与蓄电池(3)电连接,所述蓄电池(3)上方设置有吸水装置(16),所述吸水装置(16)内部设置有动力装置,且所述吸水装置(16)出水端通过水管(2)与沉淀过滤池(6)顶端进水口连接,且所述沉淀过滤池(6)中部侧面上设置有出水口,所述出水口通过水管(2)与水泵(11)进水口连接,所述水泵(11)转轴通过键和第一驱动电机(10)输出轴连接,水泵(11)出水口通过水管(2)与生物处理池(9)进水口连接,所述生物处理池(9)出水口通过水管(2)和蒸发罐(8)进水口连接,所述生物处理池(9)和蒸发罐(8)均位于车体(1)上表面,蒸发罐(8)内部设置有加热装置(19),蒸发罐(8)上部设置有收集盘(7),所述收集盘(7)上开有环形槽(18),所述环形槽(18)上设置有净水出口(20),并且蓄电池(3)与车体(1)控制室内的控制器电连接,控制器分别与吸水装置(16)内的动力装置、第一驱动电机(10)、第二驱动电机(15)和加热装置(19)电连接。
2.根据权利要求1所述的一种移动式水处理装置,其特征在于:所述过滤网(12)位于沉淀过滤池(6)出水口所在水平面和绞轮(14)所在水平面之间。
3.根据权利要求1所述的一种移动式水处理装置,其特征在于:所述蒸发罐(8)顶端为锥形形状,且蒸发罐(8)锥形顶端的端面位于环形槽(18)正上方。
4.根据权利要求1所述的一种移动式水处理装置,其特征在于:所述绞轮(14)转轴轴线与第二驱动电机(15)输出轴线和沉淀过滤池(6)轴线平行。
5.根据权利要求1所述的一种移动式水处理装置,其特征在于:所述加热装置(19)设置为片状结构。
说明书
一种移动式水处理装置
技术领域
本实用新型涉及水处理技术领域,具体为一种移动式水处理装置。
背景技术
当今社会,淡水资源越来越紧缺,废水,污水的处理技术变得更加急需,尤其实在某些受灾地方,清洁的饮用水更加难得,传统的水处理装置需要占用大面积土地建厂,成本高昂,且灵活性差,为此,我们提出一种移动式水处理装置。
实用新型内容
本实用新型的目的在于提供一种移动式水处理装置,以解决上述背景技术中提出的问题。
为实现上述目的,本实用新型提供如下技术方案:一种移动式水处理装置,包括车体,所述车体上表面设置有沉淀过滤池,所述沉淀过滤池内部设置有过滤网,沉淀过滤池上部设置有凹槽,所述凹槽内部设置有绞轮,凹槽上方设置有支撑板,所述支撑板位于沉淀过滤池上端面,所述支撑板上表面设置有第二驱动电机,所述第二驱动电机输出轴和绞轮转轴通过键连接,且所述沉淀过滤池下部设置有排污口,所述排污口处设置有阀门,且所述沉淀过滤池一侧设置有蓄电池,所述车体驾驶室上表面设置有太阳能电池板,所述太阳能电池板通过逆变器与蓄电池电连接,所述蓄电池上方设置有吸水装置,所述吸水装置内部设置有动力装置,且所述吸水装置出水端通过水管与沉淀过滤池顶端进水口连接,且所述沉淀过滤池中部侧面上设置有出水口,所述出水口通过水管与水泵进水口连接,所述水泵转轴通过键和第一驱动电机输出轴连接,水泵出水口通过水管与生物处理池进水口连接,所述生物处理池出水口通过水管和蒸发罐进水口连接,所述生物处理池和蒸发罐均位于车体上表面,蒸发罐内部设置有加热装置,蒸发罐上部设置有收集盘,所述收集盘上开有环形槽,所述环形槽上设置有净水出口,并且蓄电池与车体控制室内的控制器电连接,控制器分别与吸水装置内的动力装置、第一驱动电机、第二驱动电机和加热装置电连接。
优选的,所述过滤网位于沉淀过滤池出水口所在水平面和绞轮所在水平面之间。
优选的,所述蒸发罐顶端为锥形形状,且蒸发罐锥形顶端的端面位于环形槽正上方。
优选的,所述绞轮转轴轴线与第二驱动电机输出轴线和沉淀过滤池轴线平行。
优选的,所述加热装置设置为片状结构。
与现有技术相比,本实用新型的有益效果是:该移动式水处理装置通过车体承载各处理装置,由太阳能作为水处理过程中的能量来源,对处理水进行沉淀过滤,微生物处理和蒸发处理等几道工序,实现水资源的净化,整个装置结构简单,操作方便,节能环保,移动作业可靠性高,可以充分利用污水废水资源,实现变废为宝。



