申请日2016.04.28
公开(公告)日2016.07.13
IPC分类号G01N21/51
摘要
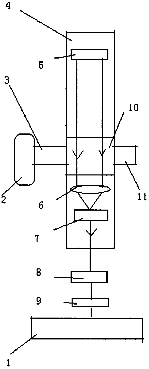
本发明公开了污水BOD散射式检测台,包括设置在污水池的污水管上的散射式检测装置,检测台污水管;散射式检测装置内设有散射式LED单色光源、透明检测室、透镜和光电传感器,其输出信号通过滤波放大器、微处理器送到计算机。使用本发明可以全面、快捷、准确测试污水性能参数,从而达到改善水体性能的目的。
权利要求书
1.污水BOD散射式检测台,其特征在于:包括设置在污水池(2)右侧的污水管(3),污水管(3)的右侧与透明检测室(10)的进水口相连,透明检测室(10)右侧与出水管(11)固结;所述的透明检测室(10)安装在散射式检测装置机架(4)的中部,所述的散射式检测装置机架(4)内依次从上到下设置有散射式LED单色光源(5)、透明检测室(10)、透镜(6)、光电传感器(7);光电传感器(7)的输出信号通过滤波放大器(8)、DSP处理器(9)送到计算机(1)。
2.根据权利要求1所述的污水BOD散射式检测台,其特征在于:所述的发射器散射式LED单色光源(5)发射出特定波长的光,LED单色光源(5)与光电传感器(7)直线安装,光电传感器(7)安装在透镜(6)的焦点上。
3.根据权利要求1所述的污水BOD散射式检测台,其特征在于:所述的污水管(3)、出水管(11)组成的尾水通道与检测光路LED单色光源(5)、透明检测室(10)、透镜(6)、光电传感器(7)相互垂直布置。
4.根据权利要求1所述的污水BOD散射式检测台,其特征在于:所述的透明检测室(10)、为圆形结构,直径大于污水管(3)和出水管(11)的直径。
说明书
污水BOD散射式检测台
技术领域
本发明涉及性能测试装置,尤其是污水BOD散射式检测台。
背景技术
人类的生活和生产活动均离不开水,从自然界中取用的水由于混进了各种污染物受到污染,改变了天然水原来的物理,化学或生物学的组成和性质,甚至丧失了使用价值,于是将其废弃外排,这种被废弃外排的水称为污水.污水按其来源,可分为生活污水和工业污水两大类,一般来说,检验污水的指标有以下几个:COD、BOD、色度、悬浮物、重金属等。
污水物理参数测试方法目前都用传感器在线测试,但由于污水含有很高的粘贴液体,会有传感器上粘上粘液,使传感器失去灵敏度,光学测试能高速、实时检测,是污水排放性能测试的发展方向。
目前没有对污水性能参数进行光学测试的测试仪及测试方法。
因此设计污水散射式测试台,对于掌握其性能参数、提高污水池净化效果有重要的意义。
发明内容
本发明的目的是提供一种污水BOD散射式检测台,能实时、高效检测污水参数。
为实现上述目的,本发明采用如下技术方案:
一种污水BOD散射式检测台,包括设置在污水池右侧的污水管,污水管的右侧与透明检测室的进水口相连,透明检测室右侧与出水管固结;所述的透明检测室安装在散射式检测装置机架的中部,所述的散射式检测装置机架内依次从上到下设置有散射式LED单色光源、透明检测室、透镜、光电传感器;光电传感器的输出信号通过滤波放大器、DSP处理器送到计算机。
所述的发射器散射式LED单色光源发射出特定波长的光,LED单色光源与光电传感器互为直线安装,光电传感器安装在透镜的焦点上。
所述的污水管组成的尾水通道与检测光路LED单色光源、透明检测室、透镜、光电传感器相互垂直布置。
所述的透明检测室为圆形结构,直径大于污水管和出水管的直径。
与现有技术相比,本发明的有益效果是:由于采用上述技术方案,可以检测出污水的参数,因此本发明达到全面、快捷、准确测试污水性能参数的目的。



