申请日2015.07.22
公开(公告)日2016.01.27
IPC分类号C02F11/00
摘要
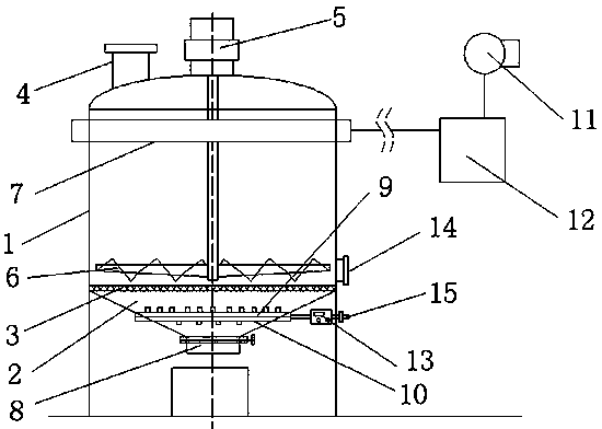
本实用新型公开了一种污泥颗粒的多级回收粉碎机,多级回收粉碎机壳体的底部设有锥形的出料槽,出料槽和壳体之间设有一级筛网,出料槽的中部设有吹气管路,出料槽的底部设有重料出料口,壳体的上部设有一圈圆环形的轻料出料管,轻料出料管经过管路依次连接轻料收集槽和回收泵,一级筛网侧方的壳体上设有排渣口;本实用新型通过一级筛网、轻料出料管和吹气管路的组合作用,保证了污泥颗粒在粉碎操作过程中的多级分离,将污泥颗粒筛分层多组,方便回收污泥中的金属元素,优化了回收工艺;装置整体操作简单,提高了污泥回收工艺的生产效率。
权利要求书
1.一种污泥颗粒的多级回收粉碎机,所述的多级回收粉碎机为圆柱形的壳体,壳体的顶部设有搅拌电机和加料口,壳体的内部设有粉碎切割桨,其特征在于,所述壳体的底部设有锥形的出料槽,出料槽和壳体之间设有一级筛网,所述出料槽的中部设有吹气管路,出料槽的底部设有重料出料口,壳体的上部设有一圈圆环形的轻料出料管,所述的轻料出料管经过管路依次连接轻料收集槽和回收泵,所述一级筛网侧方的壳体上设有排渣口。
2.根据权利要求1所述的污泥颗粒的多级回收粉碎机,其特征在于,所述的吹气管路包括上行吹气管路和下行吹气管路,上行吹气管路的上部均匀分布有多个出气孔,下行吹气管路的下方均匀分布有多个出气孔。
3.根据权利要求2所述的污泥颗粒的多级回收粉碎机,其特征在于,所述的上行吹气管路和下行吹气管路通过两组电磁阀分别控制,上行吹气管路和下行吹气管路连接在壳体外侧的进气口上。
4.根据权利要求1所述的污泥颗粒的多级回收粉碎机,其特征在于,所述的轻料出料管与壳体之间设有二级筛网,所述二级筛网的筛网孔径小于一级筛网的筛网孔径。
5.根据权利要求1所述的污泥颗粒的多级回收粉碎机,其特征在于,所述的粉碎切割桨固定安装在一级筛网的正上方,两者之间的间距为5~8cm。
说明书
污泥颗粒的多级回收粉碎机
技术领域
本实用新型涉及污泥颗粒的回收和分离装置领域,尤其涉及一种可对污泥颗粒的进行多级回收粉碎机。
背景技术
污泥是污水处理后的产品,其中包含多种杂质,其中包括有机残片,细菌菌体,无机颗粒等非均质体,污泥在经过脱色和烘干操作后,需要对污泥颗粒进行粉碎操作,将粉碎后的污泥颗粒进行进一步的处理,含有重金属元素的污泥颗粒用于回收金属操作,而轻质的污泥颗粒用于还田和再利用。
在污泥进行粉碎操作的过程中,由于粉碎机只能将大颗粒的污泥颗粒粉碎成小颗粒的污泥颗粒,而小颗粒的污泥颗粒中存在了含有重金属的重料和普通的轻料,这些小颗粒的固体物料需要经过进一步的分离操作,最终完成污泥的分类回收工作。整体工艺操作复杂,需要其他设备辅助分离,费时费力,整体污泥回收工艺的成本大大增加。
实用新型内容
针对上述存在的问题,本实用新型目的在于提供一种可以在污泥粉碎过长中,对不同重量的组分分别回收,操作简单,实用效果好的多级回收粉碎机。
为了达到上述目的,本实用新型采用的技术方案如下:一种污泥颗粒的多级回收粉碎机,所述的多级回收粉碎机为圆柱形的壳体,壳体的顶部设有搅拌电机和加料口,壳体的内部设有粉碎切割桨,所述壳体的底部设有锥形的出料槽,出料槽和壳体之间设有一级筛网,所述出料槽的中部设有吹气管路,出料槽的底部设有重料出料口,壳体的上部设有一圈圆环形的轻料出料管,所述的轻料出料管经过管路依次连接轻料收集槽和回收泵,所述一级筛网侧方的壳体上设有排渣口。
作为本实用新型的一种改进,所述的吹气管路包括上行吹气管路和下行吹气管路,上行吹气管路的上部均匀分布有多个出气孔,下行吹气管路的下方均匀分布有多个出气孔;通过上行吹气管路将一级筛网上方的较轻的物料直接吹入到壳体上层,方便轻料出料管出料,通过下行吹气管路将出料槽内的较轻的物料吹入壳体上方,方便轻料出料管出料。
作为本实用新型的一种改进,所述的上行吹气管路和下行吹气管路通过两组电磁阀分别控制,上行吹气管路和下行吹气管路连接在壳体外侧的进气口上;通过电磁阀分别控制上行吹气管路和下行吹气管路的开关,方便对壳体内不同部位上轻质污泥颗粒的分离工作,操作简单,控制精准,通过进气口统一进气,两者互不影响。
作为本实用新型的一种改进,所述的轻料出料管与壳体之间设有二级筛网,所述二级筛网的筛网孔径小于一级筛网的筛网孔径;一级筛网主要用于筛分大颗粒的固体物料和小颗粒的固体物料,而二级筛网的主要作用是进一步筛选轻质的污泥颗粒,避免较重的含有金属元素的污泥颗粒进入轻料出料管,保证污泥的分类收集效果。
作为本实用新型的一种改进,所述的粉碎切割桨固定安装在一级筛网的正上方,两者之间的间距为5~8cm;粉碎切割桨的主要作用是用于污泥的粉碎切割操作,同时为了避免其下方的堆积的固体颗粒堵塞一级筛网,粉碎切割桨的安装高度不宜过高,保证了污泥颗粒较高的粉碎和分离效率。
本实用新型的优点在于:本实用新型通过在粉碎机壳体内添加的一级筛网、轻料出料管和吹气管路,保证了污泥颗粒在粉碎操作过程中的多级分离,将污泥颗粒筛分成:不易粉碎的大块颗粒,粉碎后的轻质污泥颗粒和粉碎后的较重的污泥颗粒,进而方便回收污泥中的金属元素,节省了污泥回收工艺的生产步骤,省时省力,同时整体装置控制精准,操作简单,分离后的固体物料方便收集,提高了污泥回收工艺的生产效率。







