申请日2015.08.19
公开(公告)日2015.11.04
IPC分类号B01D21/18; B01D21/24; B01D21/06
摘要
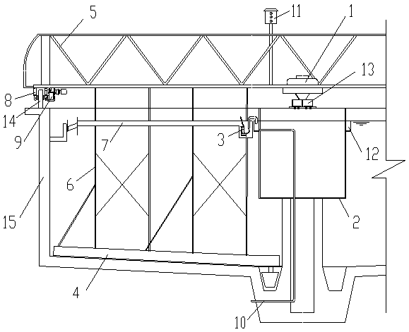
一种适用于皮革废水辐流式二沉池浮泥的刮除方法及装置,该方法是在二沉池内设置一个集渣斗,使集渣斗转动,二沉池内的浮泥溢流进入集渣斗,将集渣斗内的浮泥输送至一个集渣槽,将集渣槽内的浮泥排出至污泥浓缩池或者回流至生化系统以补充流失的污泥;该装置包括进水筒、支座、导流筒、集渣斗、刮泥板、工作桥和浮渣排出管;导流筒套装在进水筒上,导流筒外侧设置有集渣槽,支座设置在进水筒上,工作桥连接在支座上,其外侧的转动轮与驱动机构连接,刮泥板通过刮泥架连接在工作桥的下方,刮泥架的上部设置有集渣斗。本发明能够稳定有效的排出浮泥,即使有大量浮泥时,也可保证及时排出,从而保证二沉池的出水效果。
权利要求书
1.一种适用于皮革废水辐流式二沉池浮泥的刮除方法,其特征是:
在二沉池内设置一个集渣斗,集渣斗带有不小于1%的坡度,使集渣斗的顶部同二沉池内水面持平,或者是高出或低于水面不大于5mm,使集渣斗转动,二沉池内的浮泥溢流进入集渣斗;因为浮泥的流动性较差,当浮泥难以溢流进入集渣斗时,适当降低集渣斗的高度,使一部分水流入集渣斗,增强浮泥流动性;将集渣斗内的浮泥通过潜污泵输送至一个集渣槽,将集渣槽内的浮泥排出至污泥浓缩池或者回流至生化系统以补充流失的污泥;这样既能够及时有效的排出浮泥,当大量浮泥造成微生物流失时,也能够补充生化系统微生物量。
2.一种适用于皮革废水辐流式二沉池浮泥的刮除装置,包括进水筒、支座、导流筒、集渣斗、刮泥板、工作桥和浮渣排出管;其特征是:进水筒上设有布水孔,导流筒套装在进水筒上,导流筒外侧设置有集渣槽,集渣槽的底部设置有浮渣排出管,支座设置在进水筒上;工作桥连接在支座上,其外侧设置有转动轮,转动轮与驱动机构连接;刮泥板通过刮泥架连接在工作桥的下方,刮泥架的上部设置有集渣斗,集渣斗与集渣槽之间设置有潜污泵。
3.根据权利要求1所述的适用于皮革废水辐流式二沉池浮泥的刮除装置,其特征是:所述导流筒的下端与进水筒上的布水孔孔底距离不小于500mm。
4.根据权利要求1所述的适用于皮革废水辐流式二沉池浮泥的刮除装置,其特征是:所述集渣槽呈环形,套装在导流筒外部。
5.根据权利要求1所述的适用于皮革废水辐流式二沉池浮泥的刮除装置,其特征是:所述浮渣排出管上连接浮渣排出泵。
6.根据权利要求1所述的适用于皮革废水辐流式二沉池浮泥的刮除装置,其特征是:所述驱动机构包括电机与减速机,减速机与电机连接,转动轮与减速机连接。
7.根据权利要求1所述的适用于皮革废水辐流式二沉池浮泥的刮除装置,其特征是:所述集渣斗坡向导流筒,坡度不小于1%。
8.根据权利要求1所述的适用于皮革废水辐流式二沉池浮泥的刮除装置,其特征是:所述集渣斗为截面呈上宽下窄的梯形槽。
9.根据权利要求1所述的适用于皮革废水辐流式二沉池浮泥的刮除装置,其特征是:所述集渣斗的一端设置有沉槽。
说明书
一种适用于皮革废水辐流式二沉池浮泥的刮除方法及装置
技术领域
本发明涉及一种用于皮革废水辐流式二沉池的浮泥的刮除方法和装置,属于刮泥除渣机 技术领域。
背景技术
由于皮革废水具有高油脂、高氨氮、富含表面活性剂的特点,在处理皮革废水的二沉池 内,经常发生污泥上浮现象,整个池面布满厚20-100mm的浮泥,浮泥内富含油脂,结合为一 个整体。
传统的刮泥除渣机主要功能是一方面将辐流式二沉池池底的污泥刮至位于二沉池中心的 集泥坑,一方面将漂浮于水面上的浮渣收集至浮渣槽,被刮出的污泥及浮渣由泵输送至污泥 处理系统。其刮渣系统比较简单,通常由两块刮渣板及一个浮渣槽组成,在离心力的作用下, 浮渣被刮至浮渣槽内。当浮渣较少时,传统的刮泥除渣机的刮渣效果可以满足要求。对于皮 革废水二沉池的浮泥,由于浮泥结合为一个整体,且量比较大,必须人工协助将浮泥捞至浮 渣槽内,劳动强度大,且人工捞渣过程中,扰动二沉池表面水流,影响沉淀效果,造成出水 不达标,如果不及时排出浮泥,浮泥将随出水流失,造成出水不达标的同时,活性污泥系统 污泥量不断减少,从而造成整个污水处理系统瘫痪。
发明内容
本发明针对处理皮革废水辐流式二沉池内的大量浮泥无法及时排出的问题,提供一种能 够及时排出浮泥的适用于皮革废水辐流式二沉池浮泥的刮除方法,同时提供一种实现该方法 的装置。
本发明的适用于皮革废水辐流式二沉池浮泥的刮除方法,是:
在二沉池内设置一个集渣斗,集渣斗带有不小于1%的坡度,使集渣斗的顶部同二沉池内 水面持平,或者是高出或低于水面不大于5mm,使集渣斗转动,二沉池内的浮泥溢流进入集 渣斗;因为浮泥的流动性较差,当浮泥难以溢流进入集渣斗时,适当降低集渣斗的高度,使 一部分水流入集渣斗,增强浮泥流动性;将集渣斗内的浮泥输送至一个集渣槽,将集渣槽内 的浮泥排出至污泥浓缩池或者回流至生化系统以补充流失的污泥;这样既能够及时有效的排 出浮泥,当大量浮泥造成微生物流失时,也能够补充生化系统微生物量。
实现上述方法的适用于皮革废水辐流式二沉池浮泥的刮除装置,采用以下解决方案:
该刮除装置,包括进水筒、支座、导流筒、集渣斗、刮泥板、工作桥和浮渣排出管;进 水筒上设有布水孔,导流筒套装在进水筒上,导流筒外侧设置有集渣槽,集渣槽的底部设置 有浮渣排出管,支座设置在进水筒上;工作桥连接在支座上,其外侧设置有转动轮,转动轮 与驱动机构连接;刮泥板通过刮泥架连接在工作桥的下方,刮泥架的上部设置有集渣斗,集 渣斗与集渣槽之间设置有潜污泵。
所述导流筒的下端与进水筒上的布水孔孔底距离不小于500mm。
所述集渣槽呈环形,套装在导流筒外部。
所述浮渣排出管上连接浮渣排出泵。
所述驱动机构包括电机与减速机,减速机与电机连接,转动轮与减速机连接。
所述集渣斗坡向导流筒,坡度不小于1%。
所述集渣斗为截面呈上宽下窄的梯形槽。
所述集渣斗的一端设置有沉槽。
上述装置应用时,将进水筒置于二沉池的中心,工作桥外侧的转动轮置于二沉池的外沿 上端面上,使导流筒的下端距离二沉池的底面不小于1000mm,集渣斗的顶部与二沉池内的水 位平齐或根据浮泥的情况高出或低于水面最多不超过5mm。集渣斗可根据浮渣情况高低调节。 通过进水筒中心进水。启动驱动机构,通过转动轮带动工作桥、刮泥架、集渣斗、刮泥板一 起转动。二沉池底面的污泥由刮泥板刮除。水面上的浮泥溢流进入集渣斗,并通过潜污泵提 升至集渣槽内,通过设置于集渣槽底部的浮渣排出管输送出二沉池。
本发明适用于皮革废水辐流式二沉池,能够稳定有效的排出浮泥,即使有大量浮泥时, 也可保证及时排出,从而保证二沉池的出水效果。







