申请日2015.08.19
公开(公告)日2015.12.02
IPC分类号C02F101/16; C02F9/08
摘要
本实用新型公开了一种一体化景观水处理装置,包括池体,所述池体内设有呈U型连接的电凝聚室、混合室、气浮室、分离室、过滤室和灭藻室,所述电凝聚室内设有铝电极,混合室内斜置有挡板,气浮室内设有溶气水释放管,在分离室的顶部设有刮渣机和排渣槽,底部设有清液收集管和溶气水回流管,所述过滤室内设有活性炭海绵填料,顶端设有出水堰,灭藻室的顶端设有紫外灯。该装置可对河水和景观水的处理,通过电凝聚-气浮-过滤-紫外线的组合,针对水质中藻类、浊度、叶绿素、氨氮等都有明显的去除效果,使出水各项指标均能达到需求,具有高效、结构紧凑、占地面积小、节能且安装维护便捷的优点,可广泛用于河道水的治理和景观水的补给及回用。
权利要求书
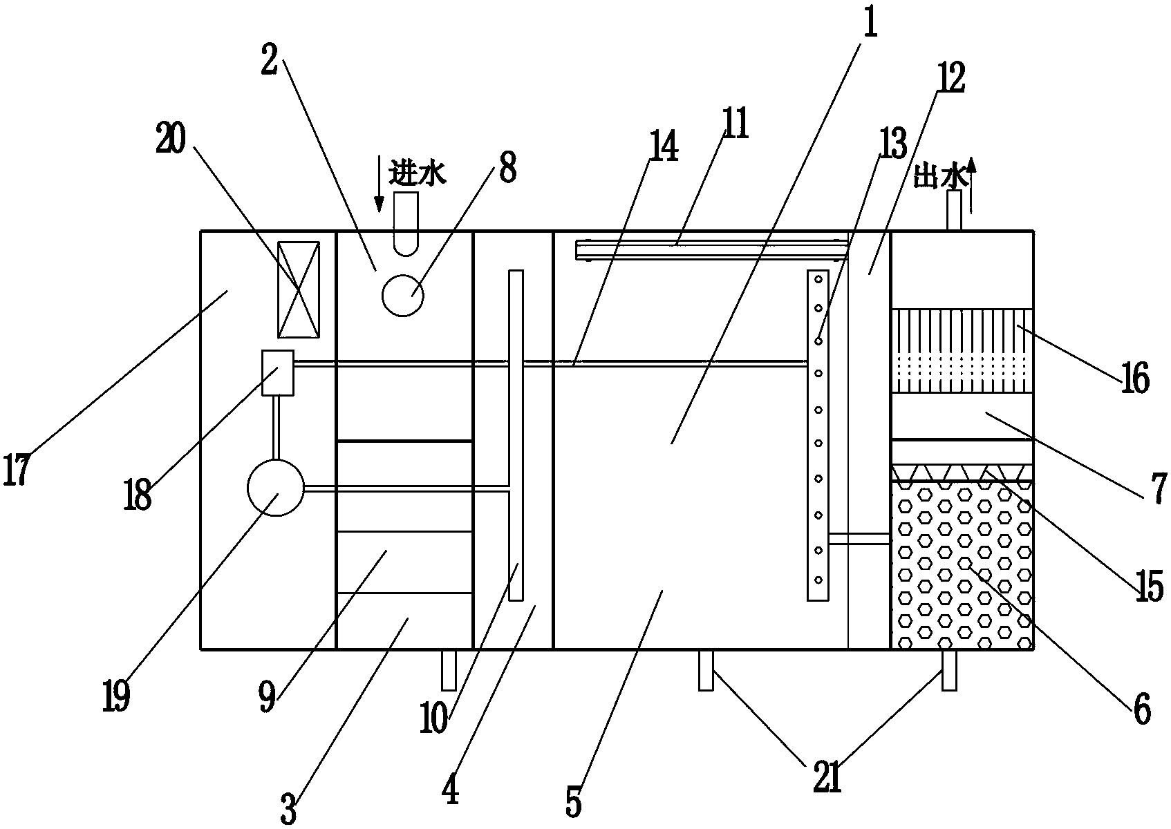
1.一种一体化景观水处理装置,包括池体(1),其特征在于:所述池体(1)内设有呈U型连接的电凝聚室(2)、混合室(3)、气浮室(4)、分离室(5)、过滤室(6)和灭藻室(7),所述电凝聚室(2)内设有铝电极(8),混合室(3)内斜置有挡板(9),气浮室(4)内设有溶气水释放管(10),在分离室(5)的顶部设有刮渣机(11)和排渣槽(12),底部设有清液收集管(13)和溶气水回流管(14),所述过滤室(6)内设有活性炭海绵填料,顶端设有出水堰(15),灭藻室(7)的顶端设有紫外灯(16);在池体(1)的一侧设有控制室(17),所述控制室(17)内设有溶气泵(18)和溶气罐(19),溶气罐(19)与气浮室(4)内的溶气水释放管(10)连通,溶气泵(18)与分离室(5)内的溶气水回流管(14)连通。
2.根据权利要求1所述的一体化景观水处理装置,其特征在于:所述控制室(17)内还设有控制溶气泵(18)、紫外灯(16)、铝电极(8)和刮渣机(11)启停的控制柜(20)。
3.根据权利要求1或2所述的一体化景观水处理装置,其特征在于:在池体(1)的底部设有排泥管(21)。
说明书
一体化景观水处理装置
技术领域
本实用新型涉及一种污水处理装置,特别是一体化景观水处理装置。
背景技术
随着社会不断发展和人民生活条件不断改善,景观水慢慢地融入了人们的生活,住宅小区的景观设计中往往会加入各种类型的水景元素以满足人类亲水的天性。但是,由于水源水质的影响或是管理措施的不到位,导致景观河道、景观水池的水质极易产生恶化,藻类疯长、水体发绿甚至发臭等现象随之而来。景观水不但不能起到应有的美化环境的作用,反而人人避之而不及,在影响环境效果的同时也大大破坏了住区的品质。
为了保证小区景观用水水质,就需要采取一定的水质处理措施,针对景观水水质特点,相应的水处理设备首先需要处理的主要水质指标如下:浊度、藻类、悬浮颗粒、溶解氧和其他有机物。因此以这些指标作为依据,来设计景观水处理装置。
实用新型内容
本实用新型的目的是为了解决上述现有技术的不足而提供一种针对于景观水处理且占地面积小的一体化景观水处理装置。
为了实现上述目的,本实用新型所设计的一体化景观水处理装置,包括池体,所述池体内设有呈U型连接的电凝聚室、混合室、气浮室、分离室、过滤室和灭藻室,所述电凝聚室内设有铝电极,混合室内斜置有挡板,气浮室内设有溶气水释放管,在分离室的顶部设有刮渣机和排渣槽,底部设有清液收集管和溶气水回流管,所述过滤室内设有活性炭海绵填料,顶端设有出水堰,灭藻室的顶端设有紫外灯;在池体的一侧设有控制室,所述控制室内设有溶气泵和溶气罐,所述溶气罐与气浮室内的溶气水释放管连通,溶气泵与分离室内的溶气水回流管连通。
所述电凝聚室中以铝电极为阳极,在直流电的作用下,阳极被溶蚀,产生Al离子,再经一系列水解、聚合及亚铝的氧化过程,发展成为各种羟基络合物、多核羟基络合物以至氢氧化物,同时带电的污染物颗粒在电场中泳动,其部分电荷被电极中和而促使其脱稳聚沉。
在混合室内斜置有挡板,水流通过上下紊流作用使废水中的胶态杂质、悬浮杂质和Al离子的反应物充分混合后凝聚而从水中分离。
溶气罐产生的溶气水通过溶气释放管在气浮室内释放,使饱和溶气水与水充分混合接触。
在分离室内,水中的絮体上浮到液面,并经由刮渣机刮至排渣槽后外排处理,分离室内的下清液经由多孔的清液收集管送至过滤室内进行过滤室中处理。
所述过滤室内装有活性炭海绵填料,利用活性炭海绵填料比表面积大,多孔透水性好的特点,既可以达到吸附过滤去除水中残留的悬浮颗粒和胶体物质,又能有效的防止填料的堵塞。
所述灭藻室内利用紫外灯产生的紫外波进行杀菌灭藻,富营养化景观水藻类杀灭率达到90%以上,浊度、化学需氧量、氨氮等水质指标也有不同程度的下降。
为了使设备可在无人看管的情况下连续运行,所述控制室内还设有控制溶气泵、紫外灯、铝电极和刮渣机启停的控制柜。
为了将池底的污泥排出并接至污泥池进行污泥干化处理,在池体的底部设有排泥管。
待处理原水通过泵提升后从进水口进水,在电凝聚室中电极放电,产生Al离子,再经混合室和原水充分混合产生絮体,混合液进入气浮室后,溶气泵、溶气罐产生的溶气水通过溶气释放管在气浮室内释放,絮体与溶气水发生接触,在溶气水的带动下浮出水面形成浮渣,少量的絮体沉淀通过排泥管定期排放。分离室液面上的浮渣通过刮渣机以3-4m/min的速度定时清理至排渣槽,并排放至污泥池处理。液面下的清液由收集管收集后送至过滤室过滤,过滤后的上清液通过出水堰,自流进入灭藻室,在灭藻室停留时间超过10分钟后,经紫外灯消毒灭藻处理后的清水通过装置的出水口流出。经过处理后的水质最终达到《城市污水再利用景观环境用水水质》(GB18918-2002)标准,即生化需氧量为6mg/L,悬浮物为10mg/L,氨氮含量为5mg/L,总磷含量为0.5mg/L,浊度可控制在3NTU(相当于3mg/L的白陶土悬浮体)。
本实用新型通过对一体化景观水处理装置内部结构的巧妙设计,和传统的景观水处理装置相比较,有以下几个特点:
1、在电凝聚-气浮中,水中的叶绿素a、浊度和其他有机物随着电荷负载的增加,去除率也在提高,通过电凝聚-气浮,叶绿素a可去除80%左右,浊度可控制在3NTU以下,出水叶绿素a低于10μg/L,可有效的控制水体的富营养化。在一定电流强度下,电极产生具有相对比较高比表面积的絮体有利于水中悬浮物和胶体等物质的沉淀网捕和吸附。同时,电极还会产生某种氧化物质氧化水中的有机物。因此针对河水和景观水质,电凝聚-气浮有着较好的处理效果。
2、不同于其他常规絮凝方法,电凝聚具有无需加药,产生浮渣和污泥少的特点,而且溶气气浮作为一种物理去除方法,无形中提高了原水的溶解氧,出水无需另设增氧曝气装置,气浮可有效的去除漂浮在水中的蓝藻等藻类,除藻效果比常规絮凝更为明显。
3、过滤室设有活性炭海绵填料,利用活性炭海绵填料比表面积大,多孔透水性好的特点,既可以达到吸附过滤去除水中残留的悬浮颗粒和胶体物质,又能有效的防止填料的堵塞。采用整体式过滤系统,过滤效果显著,过滤器容量大。采用模块式安装,清洗更方便。选用活性炭海绵填料能有效改善水质,确保水质清澈。
4、灭菌室设有紫外灯照射,紫外线照射能够很好地降低藻类的生长活性,紫外线剂量达到一定程度时对特定的藻类开始具有明显的抑制作用,藻类密度越高处理效果越显著,紫外线照射时间10min是抑制藻类生长的最佳时间。同时,紫外线照射还可以部分降低COD等有机物浓度,甚至可以有效的抑制细菌的滋生。
5、通过电凝聚-气浮-过滤-紫外线的组合,针对水质中藻类、浊度、叶绿素、氨氮等都有明显的去除效果。相比于常规景观水处理中采用的过滤-紫外线、单一的溶气气浮、曝气增氧-生物处理等方法,此可达到更显著的景观水和河水处理效果。
6、本装置通过控制柜进行全自动化运行,无需专职的运行人员看管。只需定期更换损耗的电极和紫外线灯管,以及定期打开装置底部的排泥管排污即可。
7、一体化设备内含有的电气设备采用低能耗、低噪声电机,可有效的降低能耗,减少日后的运行费用,减少对周围环境的影响。
综上所述,本实用新型得到的一体化景观水处理装置可对河水和景观水的处理,通过电凝聚-气浮-过滤-紫外线的组合,针对水质中藻类、浊度、叶绿素、氨氮等都有明显的去除效果,使出水各项指标均能达到景观用水的需求,具有高效、结构紧凑、占地面积小、节能且安装维护便捷的优点,可广泛适用于河道水的治理和景观水的补给及回用。







