申请日2014.10.15
公开(公告)日2016.08.10
IPC分类号B01F7/00; B21D53/26; B29C65/00
摘要
本发明涉及一种搅拌体(1),尤其是用于在污水处理池中产生水流的搅拌体,具有双曲面形或截顶锥形,并具有用于与搅拌器轴(3)连接的中央连接部(2)。为简化搅拌体(1)的制造并减少运输开销,依据本发明提出的搅拌体(1)由多个部段(S1…S8)构成,所述部段(S1…S8)沿着从圆周边缘(UR)向所述连接部(2)方向延伸的接合区(F1…F8)彼此连接。
权利要求书
1.一种搅拌体(1),尤其用于在污水处理池中产生水流,具有双曲面形或截顶锥形,并具有用于与搅拌器轴(3)连接的中央连接部(2),
其特征在于,
所述搅拌体(1)由多个部段(S1…S8)构成,所述部段(S1…S8)沿着从圆周边缘(UR)向所述连接部(2)的方向延伸的接合区(F1…F8)彼此连接。
2.根据权利要求1所述的搅拌体(1),其中,所述部段(S1…S8)分别具有第一接合部(Fa1)和第二接合部(Fa2),所述第一接合部(Fa1)具有第一接合形状(P1),所述第二接合部(Fa2)具有与所述第一接合形状(P1)相对应的第二接合形状(P2)。
3.根据前述权利要求中任意一项所述的搅拌体(1),其中,所述第一接合形状(P1)被构造为台阶的形式。
4.根据前述权利要求中任意一项所述的搅拌体(1),其中,所述台阶的高度与所述部段(S1…S8)在所述第二接合部(Fa2)区域中的厚度(D)相对应。
5.根据前述权利要求中任意一项所述的搅拌体(1),其中,在所述第一接合部(Fa1)的范围内在所述部段(S1…S8)中设置缺口(D1…D8)。
6.根据前述权利要求中任意一项所述的搅拌体(1),其中,所述缺口(D1…D8)在所述部段(S1…S8)的径向内半部分沿着所述第一接合部(Fa1)延伸。
7.根据前述权利要求中任意一项所述的搅拌体(1),其中,与所述缺口(D1-D8)在切线方向上相对的所述第二接合部(Fa2)的一部分具有边缘凹部(A)。
8.根据前述权利要求中任意一项所述的搅拌体(1),其中,多个部段(S1…S8),优选全部部段(S1…S8)分别具有从其圆周边缘段(URs)向其连接部段(2)延伸的传输肋(T1…T8)。
9.根据前述权利要求中任意一项所述的搅拌体(1),其中,所述传输肋(T1…T8)的高度从所述圆周边缘段(URs)向所述缺口(D1…D8)增加,并随后向所述连接部段(2)的方向再减少。
10.根据前述权利要求中任意一项所述的搅拌体(1),其中,所述传输肋(T1…T8)从所述第一接合部(Fa1)延伸。
11.根据前述权利要求中任意一项所述的搅拌体(1),其中,所述传输肋(T1…T8)部分地限制所述缺口(D1-D8)。
12.根据前述权利要求中任意一项所述的搅拌体(1),其中,所述第一(Fa1)和第二接合部(Fa2)在径向方向上从所述圆周边缘(UR)朝向所述连接部(2)的方向弯曲。
13.根据前述权利要求中任意一项所述的搅拌体(1),其中,所述第一(Fa1)和第二接合部(Fa2)上有彼此相对应的配合装置。
14.根据前述权利要求中任意一项所述的搅拌体(1),其中,所述第一(Fa1)和第二接合部(Fa2)上有彼此相对应的固定装置。
15.根据前述权利要求中任意一项所述的搅拌体(1),其中,所述连接部(2)具有另外的缺口以供固定装置通过,以固定至搅拌器轴(3)。
16.根据前述权利要求中任意一项所述的搅拌体(1),其中所述部段(S1…S8)由浇铸合成材料或者由金属制成。
17.根据前述权利要求中任意一项所述的搅拌体(1),其中所述合成材料选自:聚烯烃,尤其是PP、PS、PA、POM、EVAC、GFK、NCF、SAN、UP、VPE、Tellene、ABS、HDPE。
18.根据前述权利要求中任意一项所述的搅拌体(1),其中所述连接部(2)上安装了用于与所述搅拌器轴(3)相连接的连接元件。
19.根据前述权利要求中任意一项所述的搅拌体(1),其中所述部段(S1…S8)彼此拧在一起和/或粘在一起。
20.根据前述权利要求中任意一项所述的搅拌体(1),其中所述部段(S1…S8)构造相同。
21.一种用于在污水处理池中产生水流的搅拌装置,其中在从驱动装置延伸出的搅拌器轴(3)上安装了根据前述权利要求中任意一项所述的搅拌体(1)。
22.根据权利要求21所述的搅拌装置,其中所述搅拌器轴(3)具有轴向延伸的肋(4),所述肋(4)与所述连接部(2)上与其相对应的槽(5)相啮合。
说明书
用于在污水处理池中产生水流的搅拌体和搅拌装置
技术领域
本发明涉及一种根据权利要求1前序部分所述的搅拌体以及一种用于在污水处理池中产生水流的搅拌装置。
背景技术
例如由DE 91 06 639.5 U1已知一种搅拌装置,在已知的搅拌装置中,被实施为双曲面形的搅拌体实际上一般直径为1.5至3米。在设置在中间或中央的连接部安装搅拌轴。
这样的搅拌体由玻璃纤维增强合成材料制成。为此以手工方式采用合适的模具将由玻璃纤维制成的织物层叠在一起。生产这样的搅拌体的成本很高。除此之外,搅拌体体积大并需要很大的运输空间。
发明内容
本发明的任务在于克服现有技术中的缺点。尤其应提出一种能够尽可能简单地并以低成本制造的搅拌体和搅拌装置。根据本发明另一目的,所提出的搅拌体和搅拌装置应能够减少运输开销。
通过权利要求1和21的特征实现上述目的。由权利要求2-20以及权利要求22的特征给出依据本发明的有利的实施方式。
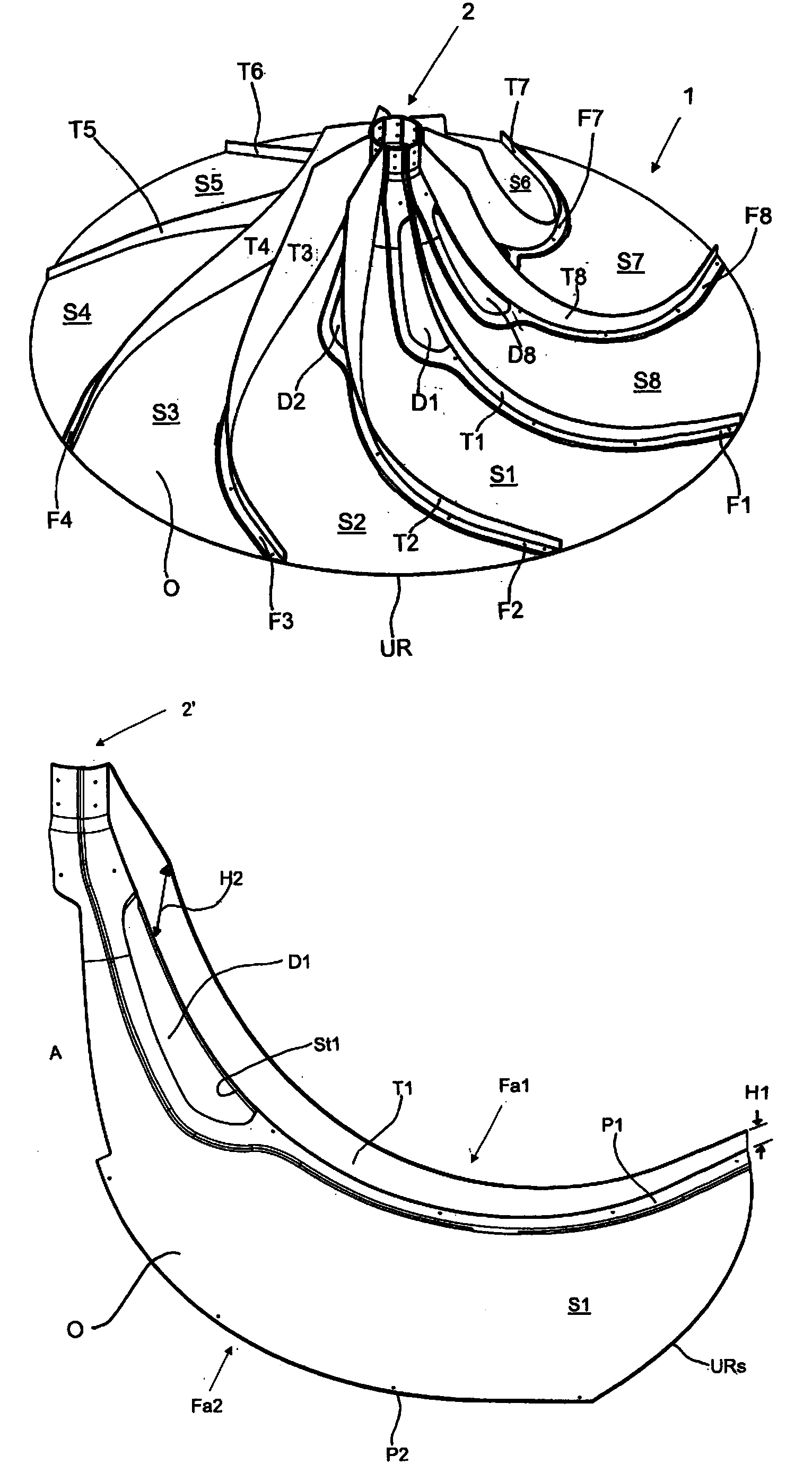
根据本发明,搅拌体由多个部段构成,所述部段沿着从圆周边缘向连接部方向延伸的接合区彼此连接。制造这种部段需要的开销显著降低。使用小得多的模具就可以制造这些部段。通过用部段构成搅拌体,能够将其以拆解状态运输至使用地点,并现场安装。这样节约运输成本。意外的发现依据本发明的搅拌体具有非常好的机械稳定性,堪比传统的、一体制造的搅拌体的机械稳定性。
根据本发明的一个有利实施方式,所述部段分别具有第一接合部和第二接合部,所述第一接合部具有第一接合形状,所述第二接合部具有与所述第一接合形状相对应的第二接合形状。第一接合形状优选地被构造为台阶的形式。台阶的高度优选与部段在第二接合部区域中的厚度相对应。在这种情况下,第二接合形状能够有利地被构造为平坦的。
根据本发明的另一个实施方式,在第一接合部的范围内在部段中设置缺口。缺口有利地在部段的径向内半部分沿着第一接合部延伸。“部段的径向内半部分”理解为包括连接部的连接部段的半部分。在切线方向上与缺口相对的第二接合部的一部分具有边缘凹部。该边缘凹部在其径向延伸量上与缺口的径向延伸量相对应,以使得在安装好的状态下,凹部能够补足相邻的部段的缺口。
根据本发明的一个特别有利的实施方式,多个部段,优选全部部段分别具有从其圆周边缘段向其连接部段延伸的传输肋。传输肋的高度优选从圆周边缘段向缺口逐渐增加,并随后向所述连接部段的方向再逐渐减少。传输肋在圆周边缘段区域的最小高度和最大高度之间的比例例如在1:5至1:100之间,优选1:5至1:20。
传输肋有利地从第一接合部延伸。传输肋优选地与第一接合部一体形成,并且厚度与部段的厚度大致相同。被构造为桥形的传输肋有利地具有大致上矩形的截面。传输肋能够部分地限制缺口,并在缺口范围内具有穿过缺口延伸的桥,在安装好的状态下该桥嵌入相邻部段的第二接合部中的边缘凹部内。由此以简单的方式实现与相邻的部段的精确接合。
在第一和第二接合部上当然也能够设置其他形状彼此对应的配合装置。可以是锥形栓和与其相对应的凹部、桥和与其相对应的槽状凹部或者类似的。
此外能够在第一和第二接合形状上设置彼此相对应的固定装置。例如可以是螺纹衬套和供螺丝通过的缺口或类似物。
连接部具有另外的缺口以供固定装置通过,以将搅拌体固定至搅拌器轴。固定装置可以是例如螺丝、铆钉或类似物。
根据本发明一个特别有利的实施方式,部段由浇铸合成材料或者由金属制成。合成材料能够由两种成分组成。能够使用尤其是聚烯烃,尤其是PP、PS、ABS、PA、POM、EVAC、GFK、NCF、SAN、UP、VPE、Tellene、HDPE或其它适合通过浇铸或喷铸方式加工的合成材料作为合成材料。喷铸加工方式尤其包括热塑性喷铸法、热固性喷铸法、多成分喷铸法、尤其是模内法或粉末喷铸法。浇铸法尤其包括真空浇铸法。合成材料中能够附加短纤维以提高其刚性。
还可能的是,用压铸法由金属尤其是由铝合金制造部段,合金可以是AlSi9Cu3(Fe),AlSi12Cu1(Fe),AlSi12(Fe)以及AlSi10MgCu。
根据另一实施方式,能够在连接部上安装用于与搅拌器轴相连接的连接元件。这样的连接元件可以被构造为转接器形式。由此,搅拌体能够配置有多种市场常见的轴连接件以用于连接。
有利地,第一和第二接合部在径向方向上从圆周边缘朝向连接部的方向弯曲。即,第一和第二接合部在圆周边缘的范围倾斜延伸,并随后在径向方向上弯向连接部的方向。传输肋在此有利地与第一接合区平行延伸。传输肋的弯曲的走向使得在污水中高效地产生水流成为可能。
根据另一实施方式,部段彼此拧在一起和/或粘在一起。尤其是螺纹连接和胶粘连接的组合实现特别稳定的搅拌体。
每个部段能够具有至少一个传输肋。尽管有利的是,每个部段只具有一个搅拌肋并由此被构造得相对窄,但是每个部段具有多个传输肋仍是可能的。
无论如何,非常有利的是,部段构造相同。这样在制造搅拌体时只需要提供一种形状。
本发明还提出了一种用于在污水处理池中产生水流的搅拌装置,其中在从驱动装置延伸出的搅拌器轴上安装了根据本发明的搅拌体。这样的搅拌装置制造方式简单,运输开销小。
根据一有利的实施方式,搅拌器轴具有轴向延伸的肋,肋与连接部上与其相对应的槽相啮合。在连接部内圆周上设置的轴向槽有利地通过部段的相邻的连接部段的第一接合形状构成。







