申请日2014.10.15
公开(公告)日2015.04.01
IPC分类号B01D35/14; B01D35/02
摘要
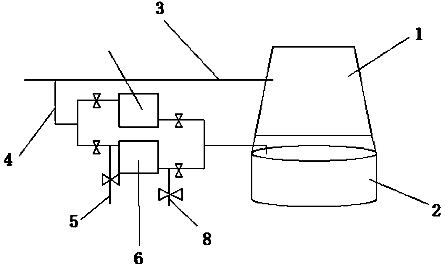
本实用新型公开了一种冷却设备循环水处理系统,包括连通换热器和机力塔的循环水主管道,还包括连通循环水主管道的支路管道,在所述支路管道上并联有多个过滤器或沙滤罐,所述多个过滤器或沙滤罐的出水经过管道连通循环池,所述循环池通过管道连通换热器;还包括测量过滤器或沙滤罐入水、出水压力的传感器。本实用新型的水处理系统,从循环水主管道将循环水引出一部分进入到并联的多个过滤器或或沙滤罐中,对引出的循环水进行过滤,并根据压力差合理选择过滤器进行过滤,例如,当其中以个过滤器的滤芯被堵塞时,过滤器两侧的压力不同,此时可以选择另外的过滤器进行过滤。
权利要求书
1.一种冷却设备循环水处理系统,包括连通换热器和机力塔的循环水 主管道,其特征在于:还包括连通循环水主管道的支路管道,在所述支路 管道上并联有多个过滤器或沙滤罐,所述多个过滤器或沙滤罐的出水经过 管道连通循环池,所述循环池通过管道连通换热器;还包括测量过滤器或 沙滤罐入水、出水压力的传感器。
2.根据权利要求1所述的水处理系统,其特征在于:在所述换热器或 沙滤罐的出水口设置反冲洗管道。
3.根据权利要求1或2所述的水处理系统,其特征在于:在所述换热 器或沙滤罐的入水口设置反冲洗管道。
4.根据权利要求1所述的水处理系统,其特征在于:所述过滤器或沙 滤罐的数量为两个。
说明书
一种冷却设备循环水处理系统
技术领域
本实用新型涉及一种水处理系统,更准确地说,涉及一种冷却设备的 循环水处理系统。
背景技术
设备冷却循环水运行过程中主要产生的问题:
(1)水垢:循环水在冷却过程中蒸发,使水中含盐浓度增高,超过某 些盐类的溶解度而沉淀形成水垢,大大的降低了传热效率。
(2)污垢:污垢主要由水中的有机物、微生物菌落和分泌物、泥沙、 粉尘等构成,垢的质地松软,不仅降低传热效率而且还引起垢下腐蚀,缩 短设备使用寿命。
(3)腐蚀:循环水对换热设备的腐蚀,产生的原因有设备制造缺陷、 水中充足的氧气、水中腐蚀性离子(Cl-、Fe2+、Cu2+)以及微生物分泌的 黏液所生成的污垢等因素。
(4)微生物粘泥:循环水溶有充氧气、合适温度及富养条件,很适合 微生物的生长繁殖,如不及时控制将迅速导致水质恶化、发臭、变黑,冷 却塔大量黏垢沉积甚至堵塞,冷却散热效果大幅下降,设备腐蚀加剧。
现有主要处理方案主要有:冷却循环水适当加药处理,定期清理或排 放置换、设备前加过滤器。加药药剂主要药剂有:有机阻垢剂、缓蚀剂、 杀菌灭藻剂。运行一定周期,检修时排除循环水,清理积累的淤泥,及设 备换热接触面上的积垢。定期置换,排放循环水,加新水进行置换。设备 前加滤网,过滤一定粒径的物质,防止堵塞管路,影响受热交换。
上述方法存在以下问题:
1、加药处理后,循环水中虽然积垢能延缓,但物质始终溶于水中,并 且随着浓度增加,也影响传热效果。
2、定期处理,必须要等一定的运行周期,排掉大量的水资源,占用劳 动资源。
3、定期置换,也需要大量的水资源,控制不好浪费严重。
4、设备前加滤网,能阻挡较大的较大粒径的物质,对溶于水的物质, 起不到任何效果。
实用新型内容
本实用新型为了解决现有技术中存在的问题,提供了一种冷却设备循 环水处理系统。
为了实现上述的目的,本实用新型的技术方案是:一种冷却设备循环 水处理系统,包括连通换热器和机力塔的循环水主管道,还包括连通循环 水主管道的支路管道,在所述支路管道上并联有多个过滤器或沙滤罐,所 述多个过滤器或沙滤罐的出水经过管道连通循环池,所述循环池通过管道 连通换热器;还包括测量过滤器或沙滤罐入水、出水压力的传感器。
优选的是,在所述换热器或沙滤罐的出水口设置反冲洗管道。
优选的是,在所述换热器或沙滤罐的入水口设置反冲洗管道。
优选的是,所述过滤器或沙滤罐的数量为两个。
本实用新型的水处理系统,从循环水主管道将循环水引出一部分进入 到并联的多个过滤器或或沙滤罐中,对引出的循环水进行过滤,并根据压 力差合理选择过滤器进行过滤,例如,当其中以个过滤器的的滤芯被堵塞 时,过滤器两侧的压力不同,此时可以选择另外的过滤器进行过滤。







