申请日2014.10.15
公开(公告)日2015.04.15
IPC分类号C02F9/04
摘要
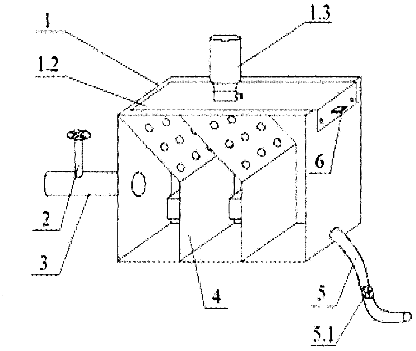
本实用新型公开一种生物课堂用废水处理模拟装置,包括箱体,箱体顶部安装有活动上盖,箱体内安装有若干过滤板;所述的活动上盖中安装有试剂瓶。在此基础上,过滤板为L型板,由竖板和横板组成,竖板之间的距离不同,按照距离的1/2依次递减,横板为倾斜状,倾斜角度为45°-60°;试剂瓶与活动上盖之间设置有过滤装置,过滤装置为过滤丝网或者过滤棉;进液管以及出液管均为可伸缩管,伸缩的调整范围为6cm-12cm;箱体为复合型,外侧的材料使用铝合金为材质,内部的材料使用不锈钢为材质。本实用新型装置结构简单,教学操作方便,且制造成本低,试验效果好,能够提高学生对于水净化的认识,确保了教学质量。
权利要求书
1.一种生物课堂用废水处理模拟装置,包括箱体(1),箱体(1)顶部安装有活动上盖(1.2),箱体(1)一端与进液管(3)连接,另一端与出液管(5)连接,其特征在于,箱体(1)内安装有若干过滤板(4);所述的活动上盖(1.2)中安装有试剂瓶(1.3);
其特征在与,所述的过滤板(4)为L型板,由竖板和横板组成,竖板之间的距离不同,按照距离的1/2依次递减,横板为倾斜状,倾斜角度为45°-60°;
所述的试剂瓶(1.3)与活动上盖(1.2)之间设置有过滤装置,所述的过滤装置为过滤丝网或者过滤棉;
所述的进液管(3)以及出液管(5)均为可伸缩管,伸缩的调整范围为6cm-12cm;
所述的箱体(1)为复合型,外侧的材料使用铝合金为材质,内部的材料使用不锈钢为材质。
2.根据权利要求1 所述的一种生物课堂用废水处理模拟装置,其特征在于,所述的进液管(3)上装有进液阀门(2);所述的出液管(5)上装有出液阀门(5.1)。
3.根据权利要求1或2所述的一种生物课堂用废水处理模拟装置,其特征在于,所述的活动上盖(1.2)一端通过铰链安装在箱体(1)上,另一端接有L形板,所述L形板的一端安装有挡块(6)。
4.根据权利要求1或2所述的一种生物课堂用废水处理模拟装置,其特征在于,所述的试剂瓶(1.3)与活动上盖(1.2)间安装有控制阀门。
说明书
生物课堂用废水处理模拟装置
技术领域
本实用新型涉及一种净化及处理装置,特别涉及一种生物课堂用废水处理模拟装置,属于水处理设备领域。
背景技术
生物学是一门特殊的学科,是一门专门研究生命现象和活动规律的自然科学,有生命的植物、细菌、真菌、病毒、动物、人,都是生物科学专门的研究对象。由此可见,生物课的地位和重要性是显而易见的,它在中学生的课程中有生命性、实验性和现代性等特点。
随着生物行业的迅速发展,工业废水的处理及排放也逐渐成为人们关注的焦点,如造纸、制药等行业产生的废水中多含有有机物质,如果该废水未经处理直接排放,废水中的有机物以悬浮或溶解状态存在于污水中,会通过微生物的生物化学作用而分解,在其分解过程中消耗氧气,造成水中溶解氧减少,影响鱼类和其他水生生物的生长,若被人体饮用,会危害身体健康,然而如何能够在生物的课堂中结合实际,对废水进行模拟处理,提高学生对废水危害的认识是目前生物教学的研究问题之一。
发明内容
针对上述现有技术存在的问题,本实用新型提供一种生物课堂用废水处理模拟装置,结构简单,教学操作方便,且制造成本低,试验效果好,能够提高学生对于水净化的认识,确保了教学质量。
为了实现上述目的,本实用新型采用的一种生物课堂用废水处理模拟装置,包括箱体,箱体顶部安装有活动上盖,箱体一端与进液管连接,另一端与出液管连接,箱体内安装有若干过滤板;所述的活动上盖中安装有试剂瓶。
在此基础上,过滤板为L型板,由竖板和横板组成,竖板之间的距离不同,按照距离的1/2依次递减,横板为倾斜状,倾斜角度为45°-60°;试剂瓶与活动上盖之间设置有过滤装置,过滤装置为过滤丝网或者过滤棉;进液管以及出液管均为可伸缩管,伸缩的调整范围为6cm-12cm;箱体为复合型,外侧的材料使用铝合金为材质,内部的材料使用不锈钢为材质。
进一步,上板、下板分别以聚四氟乙烯为材质。
进一步,进液管上装有进液阀门;出液管上装有出液阀门。
进一步,活动上盖一端通过铰链安装在箱体上,另一端接有L形板,所述L形板的一端安装有挡块。
进一步,试剂瓶与活动上盖间安装有控制阀门。
本实用新型的有益效果是:在生物课堂中,将含有有机杂质的废水通入到箱体内,箱体内各过滤板中安装的吸附包及板上开有的过滤孔,对有机杂质进行过滤、吸附处理,将有机杂质充分吸附,有效的起到废水净化处理作用;同时活动上盖中装有的试剂瓶可以向箱内添加化学试剂,对废水进行反应处理,进一步除去废水中的杂质;该装置结构简单,操作使用方便,制造成本低。
在此基础上,过滤板为L型板,由竖板和横板组成,竖板之间的距离不同,按照距离的1/2依次递减,横板为倾斜状,倾斜角度为45°-60°,依次递减,逐渐增强了过滤的力度,确保了过滤的效果;试剂瓶与活动上盖之间设置有过滤装置,过滤装置为过滤丝网或者过滤棉,确保试剂的纯度,保证了处理的效果;进液管以及出液管均为可伸缩管,伸缩的调整范围为6cm-12cm,提高整体装置的灵活性;箱体为复合型,外侧的材料使用铝合金为材质,内部的材料使用不锈钢为材质,提高耐腐蚀性,降低维修和更换的成本。







