公布日:2023.10.20
申请日:2023.09.13
分类号:C10L3/10(2006.01)I;B01D53/75(2006.01)I;B01D53/78(2006.01)I;B01D53/84(2006.01)I;B01D53/52(2006.01)I;B01D53/26(2006.01)I;F16F15/067(2006.01)I
摘要
本发明属于气体分离技术领域,具体为一种复合式高效脱除硫化氢的分离设备,包括底板,所述底板的后上方固定安装有加药机构,所述加药机构的前方安装有相互平行的沉淀器,所述沉淀器的右侧连接有相互流通的进气管,所述沉淀器的底部固定连接有沉淀腔,所述沉淀腔呈圆锥形,所述沉淀腔的底部固定连接有与沉淀腔流通的淤泥管;本发明提供的复合式高效脱除硫化氢的分离设备,沉淀器可以将沉淀器内部甲烷中的硫磺与洗涤液进行混合,然后使硫磺沉淀,沉淀分离后的上清液和甲烷气体通过左侧的过渡管自流至反应器进行进一步反应,沉淀浓缩后的硫磺在沉淀腔的内部进行保存,之后由淤泥管和淤泥泵输送至污水处理系统或污泥收集池进行进一步处理。

权利要求书
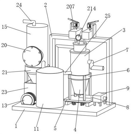
1.一种复合式高效脱除硫化氢的分离设备,包括底板和过渡管,其特征在于:所述底板的后上方固定安装有加药机构,所述加药机构的前方安装有相互平行的沉淀器,所述沉淀器的右侧连接有相互流通的进气管,所述沉淀器的底部固定连接有沉淀腔,所述沉淀腔呈圆锥形,所述沉淀腔的底部固定连接有与沉淀腔流通的淤泥管,所述淤泥管的右侧安装有淤泥泵,所述沉淀器的外部固定连接有固定柱,所述固定柱的底部焊接有减震机构,所述加药机构包括背板、药箱、堵块、气槽、限位杆、连接杆、安装块、第一弹簧、限位板、转轴、把杆、按压板、出药管和pH值检测表,所述背板的上方固定放置有药箱,且药箱的上方活动安装有堵块,所述堵块的底部表面开设有相互对称的两组气槽,所述堵块的另外两侧固定有相互对称的限位杆,所述堵块的顶部固定安装有圆心重合的连接杆,所述连接杆的顶部活动安装有安装块,所述安装块的内部固定有第一弹簧,且第一弹簧的顶部固定有不与安装块连接的限位板,所述安装块的顶部右侧安装有转轴,且转轴的左上方活动安装有把杆,所述把杆的中段底部设置有按压板,所述药箱的右侧底部开设有出药管,且药箱的右侧安装有与沉淀器相互固定的pH值检测表,所述减震机构包括支撑板、支撑柱、侧板、第二弹簧和阻尼器,所述支撑板的底部固定有均匀分布的支撑柱,且支撑柱的底部两侧安装有侧板,所述侧板内部通过中心板相互连接,所述中心板的底部固定连接有相互对称的第二弹簧,所述第二弹簧的内部安装有与中心板相互固定的阻尼器,所述过渡管连接于沉淀器的左上侧,所述过渡管与沉淀器相互流通,所述过渡管的底部与反应器相互流通,所述反应器的内部放置有泵气管,所述泵气管的左侧端部安装有气泵,所述反应器的顶部安装有渡气管,所述反应器的右上端固定有回流管与沉淀器相互流通,所述渡气管的后方固定安装有精脱器,所述精脱器的外部固定安装有固定环,所述精脱器的内部安装有尺寸相互吻合的鲍尔环,所述精脱器的顶部固定有出气管。
2.根据权利要求1所述的复合式高效脱除硫化氢的分离设备,其特征在于,所述鲍尔环的前方开设调节口,且调节口通过凸环和密封环与前板进行连接,所述凸环和前板的尺寸相互吻合,所述前板与调节口相互密封。
3.根据权利要求1所述的复合式高效脱除硫化氢的分离设备,其特征在于,所述精脱器的底部固定有锥形出渣环,且出渣环的外部安装有渣桶。
发明内容
本发明提供了一种复合式高效脱除硫化氢的分离设备,旨在解决现有技术中的现有的沼气脱硫设备在使用过程中不方便对装置进行减震,容易导致装置在使用过程中损坏,同时沼气脱硫不够干净,影响使用的问题。
本发明是这样实现的:一种复合式高效脱除硫化氢的分离设备,包括底板,所述底板的后上方固定安装有加药机构,所述加药机构的前方安装有相互平行的沉淀器,所述沉淀器的右侧连接有相互流通的进气管。
优选的,所述沉淀器的底部固定连接有沉淀腔,所述沉淀腔呈圆锥形,所述沉淀腔的底部固定连接有与沉淀腔流通的淤泥管,所述淤泥管的右侧安装有淤泥泵。
优选的,所述沉淀器的外部固定连接有固定柱,所述固定柱的底部焊接有减震机构。
优选的,所述加药机构包括背板、药箱、堵块、气槽、限位杆、连接杆、安装块、第一弹簧、限位板、转轴、把杆、按压板、出药管和pH值检测表,所述背板的上方固定放置有药箱,且药箱的上方活动安装有堵块,所述堵块的底部表面开设有相互对称的两组气槽,所述堵块的另外两侧固定有相互对称的限位杆,所述堵块的顶部固定安装有圆心重合的连接杆,所述连接杆的顶部活动安装有安装块,所述安装块的内部固定有第一弹簧,且第一弹簧的顶部固定有不与安装块连接的限位板,所述安装块的顶部右侧安装有转轴,且转轴的左上方活动安装有把杆,所述把杆的中段底部设置有按压板,所述药箱的右侧底部开设有出药管,且药箱的右侧安装有与沉淀器相互固定的pH值检测表。
优选的,所述减震机构包括支撑板、支撑柱、侧板、第二弹簧和阻尼器,所述支撑板的底部固定有均匀分布的支撑柱,且支撑柱的底部两侧安装有侧板,所述侧板内部通过中心板相互连接,所述中心板的底部固定连接有相互对称的第二弹簧,所述第二弹簧的内部安装有与中心板相互固定的阻尼器。
优选的,所述沉淀器的左上侧连接有过渡管,所述过渡管与沉淀器相互流通,所述过渡管的底部与反应器相互流通,所述反应器的内部放置有泵气管,所述泵气管的左侧端部安装有气泵,所述反应器的顶部安装有渡气管,所述反应器的右上端固定有回流管与沉淀器相互流通。
优选的,所述渡气管的后方固定安装有精脱器,所述精脱器的外部固定安装有固定环,所述精脱器的内部安装有尺寸相互吻合的鲍尔环,所述精脱器的顶部固定有出气管。
优选的,所述鲍尔环的前方开设调节口,且调节口通过凸环和密封环与前板进行连接,所述凸环和前板的尺寸相互吻合,所述前板与调节口相互密封。
优选的,所述精脱器的底部固定有锥形出渣环,且出渣环的外部安装有渣桶。
本发明提供的复合式高效脱除硫化氢的分离设备,沉淀器可以将沉淀器内部甲烷中的硫磺与洗涤液进行混合,然后使硫磺沉淀,沉淀分离后的上清液和甲烷气体通过左侧的过渡管自流至反应器进行进一步反应,沉淀浓缩后的硫磺在沉淀腔的内部进行保存,之后由淤泥管和淤泥泵输送至污水处理系统或污泥收集池进行进一步处理;
本发明提供的复合式高效脱除硫化氢的分离设备,加药机构可以向沉淀器的内部输入酸或盐溶液,调节沉淀器内部溶液的pH值,在调节的时候首先通过pH值检测表测试装置内部的pH值,然后根据pH值添加酸或盐溶液,在添加的时候把杆通过转轴进行转动,在向上转动的时候按压板会在安装块的顶部跟随向上,因此按压板底部接触的连接杆会在第一弹簧的弹性作用下向上运动,使得堵块就会被连接杆带动向上运动,堵块向上移动的时候底部的气槽会与药箱顶部的通孔接触,此时堵块与药箱之间的接触面不再密封,使得外部的空气进入到药箱的内部就可以将药箱内部的溶液通过出药管通入到沉淀器的内部进行pH值的调节;
本发明提供的复合式高效脱除硫化氢的分离设备,过渡管将沉淀器内部沉淀的上清液和甲烷气体一起通入到反应器的内部进行生化脱硫操作,反应器左侧的气泵会将氧气通过气泵泵入到内部维持好氧微生物的生长,好氧微生物的成长过程是好氧的,氧在水溶液中的溶解度很低,要维持微生物的正常代谢,必须在过程中始终保持氧从气相到液相的传递,保持好氧微生物的成活生长壮大,经微生物的作用,对甲烷内部的硫化氢进行反应去除,同时泵气管将空气送入曝反应器,通过泵气管表面开设的微孔气管,给反应器送入氧气的同时利用空气的喷射功能和流体重度差造成反应液循环流动来实现液体的搅拌和氧传递,之后除硫完成的气体经渡气管进入精脱器内部进行进一步脱硫以及脱水,然后反应器内部多余的液体经回流管回到沉淀器的内部经沉淀后,分离出的清液回流到反应器作为补充液,经生化后再次使用;
本发明提供的复合式高效脱除硫化氢的分离设备,经反应器脱硫的气体进入到精脱器的内部进行进一步脱硫,在精脱器内部的鲍尔环中放置脱硫填充物和干燥剂,对甲烷进行脱硫和脱水操作,然后通过出气管通出装置以便使用。
(发明人:朱劲松;吴亚楠;乐东升)






