公布日:2023.11.07
申请日:2023.10.07
分类号:B01J20/26(2006.01)I;B01J20/30(2006.01)I;C02F9/00(2023.01)I;C02F1/56(2023.01)I;C02F11/145(2019.01)I;C02F11/147(2019.01)I;C02F1/66(2023.01)N;C02F1
/28(2023.01)N;C02F1/38(2023.01)N;C02F1/44(2023.01)N;C02F1/00(2023.01)N;C02F101/20(2006.01)N;C02F103/18(2006.01)N
摘要
本发明提供一种螯合剂、燃煤电厂脱硫废水的工业化处理系统及处理方法,属于脱硫废水处理技术领域,所述螯合剂包括:4-氨基-3-苯基丁酸盐酸盐、DL-3,4-二羟基苯基二醇、4,4'-二氯二苯砜和纳米SiO2改性聚丙烯酸树脂。所述系统包括:螯合剂配制单元、脱硫废水反应单元、过滤单元、中和反应单元、固液分离单元、脱硫污泥处理单元和盐液回收单元;方法包括:利用螯合剂去除脱硫废水中的重金属离子;过滤絮凝状沉淀;调节脱硫废水的pH值;分离含盐浆液与脱硫污泥;脱硫污泥脱水处理;含盐浆液浓缩、蒸发和干燥处理。通过本发明提供的方法,脱硫污泥中的各重金属离子去除率均接近100%,脱硫污泥中的水分含量低于50%。

权利要求书
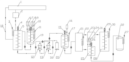
1.一种燃煤电厂脱硫废水的工业化处理方法,其特征在于,所述燃煤电厂脱硫废水的工业化处理方法通过燃煤电厂脱硫废水的工业化处理系统实现,包括以下步骤:向脱硫废水中加入重金属离子螯合剂,通过不断搅拌使重金属离子螯合剂与脱硫废水中的重金属离子发生螯合反应,生成带有絮凝状沉淀的脱硫废水;所述重金属离子螯合剂通过以下方式配制:将4-氨基-3-苯基丁酸盐酸盐、DL-3,4-二羟基苯基二醇、4,4'-二氯二苯砜和纳米SiO2改性聚丙烯酸树脂进行混合,并不断搅拌,直到各反应物发生螯合反应,制备获得重金属离子螯合剂;其中,所述4-氨基-3-苯基丁酸盐酸盐、所述DL-3,4-二羟基苯基二醇、所述4,4'-二氯二苯砜和所述纳米SiO2改性聚丙烯酸树脂的第一预定质量比为(1.2~3.5)∶(2.1~3.8):(1.4~2.5):(5.0~9.5);在重金属离子螯合剂和脱硫废水中的重金属离子发生螯合反应的过程中,向脱硫废水中通入45℃~50℃的烟气;过滤螯合反应后的脱硫废水中的絮凝状沉淀,获得去除重金属离子后的脱硫废水;向去除重金属离子后的脱硫废水中加入碱性物质,通过不断搅拌使碱性物质与脱硫废水发生中和反应,获得pH值为7~13的脱硫废水;将pH值为7~13的脱硫废水进行固液分离,分别获得含盐浆液和脱硫污泥;去除脱硫污泥中的水分含量;将含盐浆液进行浓缩、蒸发和干燥处理,获得含盐固体粉末;所述燃煤电厂脱硫废水的工业化处理系统包括:螯合剂配制单元、脱硫废水反应单元、过滤单元、中和反应单元、固液分离单元、脱硫污泥处理单元、盐液回收单元、烟气通道和烟气降温单元;其中,所述螯合剂配制单元用于将4-氨基-3-苯基丁酸盐酸盐、DL-3,4-二羟基苯基二醇、4,4'-二氯二苯砜和纳米SiO2改性聚丙烯酸树脂进行混合,并不断搅拌,直到各反应物发生螯合反应,制备获得重金属离子螯合剂;所述脱硫废水反应单元的入口与所述螯合剂配制单元的出口相连通,用于将重金属离子螯合剂与脱硫废水进行混合并发生螯合反应;所述烟气通道用于输送燃煤电厂引风机排放的烟气,所述烟气包括:二氧化碳、硫化物、氮氧化物、空气、烟尘和氨;所述烟气降温单元的入口与所述烟气通道相连通,用于将烟气温度降温至45℃~50℃;所述烟气降温单元的出口与所述脱硫废水反应单元的入口相连通,用于向脱硫废水中通入降温处理后的烟气;所述过滤单元的入口与所述脱硫废水反应单元的出口相连通,用于过滤螯合反应后的脱硫废水中的絮凝状沉淀,获得去除重金属离子后的脱硫废水;所述中和反应单元的入口与所述过滤单元的出口相连通,用于将碱性物质与去除重金属离子后的脱硫废水进行混合并发生中和反应,获得调节pH值后的脱硫废水;所述固液分离单元的入口与所述中和反应单元的出口相连通,用于将调节pH值后的脱硫废水中的含盐浆液和脱硫污泥进行固液分离;所述脱硫污泥处理单元的入口与所述固液分离单元的污泥出口相连通,用于去除脱硫污泥中的水分含量;所述盐液回收单元的入口与所述固液分离单元的盐液出口相连通,用于将含盐浆液进行浓缩、蒸发和干燥处理,获得含盐固体粉末。
2.根据权利要求1所述的燃煤电厂脱硫废水的工业化处理方法,其特征在于,所述螯合剂配制单元包括:第一原料罐、第二原料罐、第三原料罐、第四原料罐和螯合剂配制罐;所述第一原料罐、所述第二原料罐、所述第三原料罐、所述第四原料罐分别与所述螯合剂配制罐的入口相连通;所述第一原料罐用于存放4-氨基-3-苯基丁酸盐酸盐;所述第二原料罐用于存放DL-3,4-二羟基苯基二醇;所述第三原料罐用于存放4,4'-二氯二苯砜;所述第四原料罐用于存放纳米SiO2改性聚丙烯酸树脂;所述螯合剂配制罐用于将4-氨基-3-苯基丁酸盐酸盐、DL-3,4-二羟基苯基二醇、4,4'-二氯二苯砜和纳米SiO2改性聚丙烯酸树脂按照第一预定质量比配制为重金属离子螯合剂;所述螯合剂配制罐上还安装有搅拌器,搅拌器用于对螯合剂配制罐中的各反应物进行充分搅拌。
3.根据权利要求1所述的燃煤电厂脱硫废水的工业化处理方法,其特征在于,所述烟气降温单元包括:干冰储存箱和干冰喷射器;其中,所述干冰喷射器安装在所述干冰储存箱上,所述干冰储存箱的入口与所述烟气通道相连通,所述干冰储存箱的出口与所述脱硫废水反应单元的入口相连通。
4.根据权利要求1所述的燃煤电厂脱硫废水的工业化处理方法,其特征在于,所述固液分离单元包括:离心沉淀机、过滤膜和抽水泵;所述过滤膜横向安装在所述离心沉淀机的内部,且过滤膜包括按照从下至上顺序设置的不锈钢过滤网、纤维过滤膜和微米级超滤膜;所述抽水泵的入口与所述离心沉淀机的盐液出口相连通,所述抽水泵的出口与所述盐液回收单元的入口相连通。
5.根据权利要求1所述的燃煤电厂脱硫废水的工业化处理方法,其特征在于,所述脱硫污泥处理单元包括:第五原料罐、第六原料罐、脱硫污泥处理罐和脱硫污泥脱水罐;所述第五原料罐用于存放改性硅钙渣;所述第六原料罐用于存放脱水剂;所述第五原料罐、所述第六原料罐分别与所述脱硫污泥处理罐的入口相连通,所述脱硫污泥处理罐用于充分混合改性硅钙渣、脱水剂和脱硫污泥;所述脱硫污泥脱水罐与所述脱硫污泥处理罐的出口相连通,用于将混合后的脱硫污泥进行机械脱水。
6.根据权利要求1所述的燃煤电厂脱硫废水的工业化处理方法,其特征在于,所述燃煤电厂脱硫废水的工业化处理系统还包括:在线检测单元和控制单元,所述在线检测单元包括:第一检测模块、第二检测模块、第三检测模块、第四检测模块、第五检测模块和第六检测模块;所述第一检测模块用于检测脱硫废水反应单元中的气压和温度;所述第二检测模块用于检测螯合剂配制单元中的各反应物浓度;所述第三检测模块用于检测中和反应单元中的pH值;所述第四检测模块用于检测固液分离单元中的盐浓度;所述第五检测模块用于检测脱硫污泥处理单元中的脱硫污泥含水量;所述第六检测模块用于检测盐液回收单元中的盐液含水量;所述控制单元用于接收所述在线检测单元输出的多项检测数据,并输出相应的控制决策。
7.根据权利要求1所述的燃煤电厂脱硫废水的工业化处理方法,其特征在于,所述去除脱硫污泥中的水分含量,包括:先向脱硫污泥中依次加入改性硅钙渣和脱水剂,不断搅拌后,再针对混合后的脱硫污泥进行机械脱水,获得水分含量低于50%的脱硫污泥。
8.根据权利要求7所述的燃煤电厂脱硫废水的工业化处理方法,其特征在于,所述改性硅钙渣和脱硫污泥中固相物质的第二预定质量比为(0.1~0.3)∶(1~1.2);所述脱水剂和脱硫污泥中固相物质的第三预定质量比为(0.05~0.1)∶(1~1.2)。
9.一种应用于权利要求1~8任一项所述的燃煤电厂脱硫废水的工业化处理方法的重金属离子螯合剂,其特征在于,所述重金属离子螯合剂通过以下方式配制:将4-氨基-3-苯基丁酸盐酸盐、DL-3,4-二羟基苯基二醇、4,4'-二氯二苯砜和纳米SiO2改性聚丙烯酸树脂进行混合,并不断搅拌,直到各反应物发生螯合反应,制备获得重金属离子螯合剂;其中,所述4-氨基-3-苯基丁酸盐酸盐、所述DL-3,4-二羟基苯基二醇、所述4,4'-二氯二苯砜和所述纳米SiO2改性聚丙烯酸树脂的第一预定质量比为(1.2~3.5)∶(2.1~3.8):(1.4~2.5):(5.0~9.5)。
发明内容
针对现有技术中前期脱硫废水处理工艺与后续脱硫废水副产物-脱硫污泥处理工艺是分开进行的,无法实现燃煤电厂脱硫废水及其副产物-脱硫污泥的工业化连续处理,且脱硫污泥中重金属元素的处理方式存在一定局限性的技术问题,本发明提供了一种螯合剂、燃煤电厂脱硫废水的工业化处理系统及处理方法,采用该螯合剂能够极大提高重金属离子去除率,采用该工业化处理系统及处理方法能够实现脱硫废水和脱硫污泥的连续化处理,不仅能够有效去除脱硫污泥中的重金属离子,还能够提高脱硫污泥脱水率,降低脱硫污泥粘性。
为实现上述目的,本发明第一方面提供了一种燃煤电厂脱硫废水的工业化处理系统,所述工业化处理系统包括:螯合剂配制单元、脱硫废水反应单元、过滤单元、中和反应单元、固液分离单元、脱硫污泥处理单元和盐液回收单元;其中,所述螯合剂配制单元用于将4-氨基-3-苯基丁酸盐酸盐、DL-3,4-二羟基苯基二醇、4,4'-二氯二苯砜和纳米SiO2改性聚丙烯酸树脂配制为重金属离子螯合剂;所述脱硫废水反应单元的入口与所述螯合剂配制单元的出口相连通,用于将重金属离子螯合剂与脱硫废水进行混合并发生螯合反应;所述过滤单元的入口与所述脱硫废水反应单元的出口相连通,用于过滤螯合反应后的脱硫废水中的絮凝状沉淀,获得去除重金属离子后的脱硫废水;所述中和反应单元的入口与所述过滤单元的出口相连通,用于将碱性物质与去除重金属离子后的脱硫废水进行混合并发生中和反应,获得调节pH值后的脱硫废水;所述固液分离单元的入口与所述中和反应单元的出口相连通,用于将调节pH值后的脱硫废水中的含盐浆液和脱硫污泥进行固液分离;所述脱硫污泥处理单元的入口与所述固液分离单元的污泥出口相连通,用于去除脱硫污泥中的水分含量;所述盐液回收单元的入口与所述固液分离单元的盐液出口相连通,用于将含盐浆液进行浓缩、蒸发和干燥处理,获得含盐固体粉末。
在本发明的一个示例性实施例中,所述螯合剂配制单元可以包括:第一原料罐、第二原料罐、第三原料罐、第四原料罐和螯合剂配制罐;所述第一原料罐、所述第二原料罐、所述第三原料罐、所述第四原料罐分别与所述螯合剂配制罐的入口相连通;所述第一原料罐用于存放4-氨基-3-苯基丁酸盐酸盐;所述第二原料罐用于存放DL-3,4-二羟基苯基二醇;所述第三原料罐用于存放4,4'-二氯二苯砜;所述第四原料罐用于存放纳米SiO2改性聚丙烯酸树脂;所述螯合剂配制罐用于将4-氨基-3-苯基丁酸盐酸盐、DL-3,4-二羟基苯基二醇、4,4'-二氯二苯砜和纳米SiO2改性聚丙烯酸树脂按照第一预定质量比配制为重金属离子螯合剂;其中,所述4-氨基-3-苯基丁酸盐酸盐、所述DL-3,4-二羟基苯基二醇、所述4,4'-二氯二苯砜和所述纳米SiO2改性聚丙烯酸树脂的第一预定质量比为(1.2~3.5)∶(2.1~3.8):(1.4~2.5):(5.0~9.5)。
在本发明的一个示例性实施例中,所述工业化处理系统还可以包括:烟气通道和烟气降温单元;所述烟气通道用于输送燃煤电厂引风机排放的烟气,所述烟气包括:二氧化碳、硫化物、氮氧化物、空气、烟尘和氨;所述烟气降温单元的入口与所述烟气通道相连通,用于将烟气温度降温至45℃~50℃;所述烟气降温单元的出口与所述脱硫废水反应单元的入口相连通,用于向脱硫废水中通入降温处理后的烟气。
在本发明的一个示例性实施例中,所述烟气降温单元可以包括:干冰储存箱和干冰喷射器;其中,干冰喷射器安装在干冰储存箱上,干冰储存箱的入口与所述烟气通道相连通,干冰储存箱的出口与所述脱硫废水反应单元的入口相连通。
在本发明的一个示例性实施例中,所述固液分离单元可以包括:离心沉淀机、过滤膜和抽水泵;所述过滤膜横向安装在所述离心沉淀机的内部,且过滤膜包括按照从下至上顺序设置的不锈钢过滤网、纤维过滤膜和微米级超滤膜;所述抽水泵的入口与所述离心沉淀机的盐液出口相连通,所述抽水泵的出口与所述盐液回收单元的入口相连通。
在本发明的一个示例性实施例中,所述脱硫污泥处理单元可以包括:第五原料罐、第六原料罐、脱硫污泥处理罐和脱硫污泥脱水罐;所述第五原料罐用于存放改性硅钙渣;所述第六原料罐用于存放脱水剂;所述第五原料罐、所述第六原料罐分别与所述脱硫污泥处理罐的入口相连通,所述脱硫污泥处理罐用于充分混合改性硅钙渣、脱水剂和脱硫污泥;所述脱硫污泥脱水罐与所述脱硫污泥处理罐的出口相连通,用于将混合后的脱硫污泥进行机械脱水。
在本发明的一个示例性实施例中,所述工业化处理系统还可以包括:在线检测单元,所述在线检测单元可以包括:第一检测模块、第二检测模块、第三检测模块、第四检测模块、第五检测模块和第六检测模块;所述第一检测模块用于检测脱硫废水反应单元中的气压和温度;所述第二检测模块用于检测螯合剂配制单元中的各反应物浓度;所述第三检测模块用于检测中和反应单元中的pH值;所述第四检测模块用于检测固液分离单元中的盐浓度;所述第五检测模块用于检测脱硫污泥处理单元中的脱硫污泥含水量;所述第六检测模块用于检测盐液回收单元中的盐液含水量。
在本发明的一个示例性实施例中,所述工业化处理系统还可以包括:控制单元;所述控制单元用于接收所述在线检测单元输出的多项检测数据,并输出相应的控制决策。
本发明第二方面提供了一种重金属离子螯合剂,所述重金属离子螯合剂包括:4-氨基-3-苯基丁酸盐酸盐、DL-3,4-二羟基苯基二醇、4,4'-二氯二苯砜和纳米SiO2改性聚丙烯酸树脂;其中,所述4-氨基-3-苯基丁酸盐酸盐、所述DL-3,4-二羟基苯基二醇、所述4,4'-二氯二苯砜和所述纳米SiO2改性聚丙烯酸树脂的第一预定质量比为(1.2~3.5)∶(2.1~3.8):(1.4~2.5):(5.0~9.5)。
本发明第三方面提供了一种燃煤电厂脱硫废水的工业化处理方法,所述工业化处理方法通过上述的工业化处理系统实现,包括以下步骤:向脱硫废水中加入重金属离子螯合剂,通过不断搅拌使重金属离子螯合剂与脱硫废水中的重金属离子发生螯合反应,生成带有絮凝状沉淀的脱硫废水;过滤螯合反应后的脱硫废水中的絮凝状沉淀,获得去除重金属离子后的脱硫废水;向去除重金属离子后的脱硫废水中加入碱性物质,通过不断搅拌使碱性物质与脱硫废水发生中和反应,获得pH值为7~13的脱硫废水;将pH值为7~13的脱硫废水进行固液分离,分别获得含盐浆液和脱硫污泥;去除脱硫污泥中的水分含量;将含盐浆液进行浓缩、蒸发和干燥处理,获得含盐固体粉末。
在本发明的另一个示例性实施例中,所述去除脱硫污泥中的水分含量,可以包括:先向脱硫污泥中依次加入改性硅钙渣和脱水剂,不断搅拌后,再针对混合后的脱硫污泥进行机械脱水,获得水分含量低于50%的脱硫污泥。
在本发明的另一个示例性实施例中,所述改性硅钙渣和脱硫污泥中固相物质的第二预定质量比可以为(0.1~0.3)∶(1~1.2);所述脱水剂和脱硫污泥中固相物质的第三预定质量比可以为(0.05~0.1)∶(1~1.2)。
在本发明的另一个示例性实施例中,可以在重金属离子螯合剂和脱硫废水中的重金属离子发生螯合反应的过程中,向脱硫废水中通入45℃~50℃的烟气。
通过本发明提供的技术方案,本发明至少具有如下技术效果:
(1)本发明通过配制一种新型的重金属离子螯合剂,极大地提高了重金属离子的去除率(各重金属离子去除率均接近100%),该重金属离子螯合剂对于重金属离子的吸附容量较高,能够较强的吸附重金属离子;
(2)本发明将经过降温处理后的低温烟气作为螯合反应的催化剂,不仅加快了螯合反应速率,辅助提高重金属离子吸附效果,还实现了燃煤电厂烟气的循环利用;
(3)本发明通过设计一种采用离心沉淀机+过滤膜+大功率抽水泵的结构形式的固液分离器,不仅实现了含盐浆液和脱硫污泥的高效分离,还辅助降低了最终脱水后的脱硫污泥中的水分含量;
(4)本发明通过改性硅钙渣和脱水剂与脱硫污泥进行物理结合,提高了脱硫污泥的整体脱水性能,并在机械脱水的协同作用下,最终实现将脱硫污泥的水分含量降低至50%以下,从而降低了脱硫污泥的粘性;
(5)本发明通过设置控制单元和在线检测单元,将燃煤电厂脱硫废水处理与智能化控制相结合,实现了脱硫废水工业化快速与准确处理;
(6)本发明通过脱硫废水和脱硫污泥的连续化处理,不仅能实现脱硫废水及其副产物-脱硫污泥的零排放,而且处理周期短、效率高且效果好,有利于重金属、含盐固体粉末和污泥固体回收,对环境友好,无二次污染。
(发明人:孙江颖)






