公布日:2023.10.13
申请日:2023.08.11
分类号:C02F11/121(2019.01)I;B01D29/03(2006.01)I;B01D29/92(2006.01)I;B01D29/66(2006.01)I
摘要
本发明属于活性淤泥处理技术领域,公开了一种活性污泥脱水分滤机构,包括壳体,所述壳体内固定安装有两端均设置为开口结构的第一滤筒,第一滤筒内滑动安装有压板,所述壳体上第一滤筒所在的侧壁上固定安装有多组间隔分布的第一伸缩件。与现有技术相比,本发明的有益效果是:能够先将活性淤泥中的杂质颗粒先过滤出,然后在对活性淤泥中进行脱水,从而保证杂质颗粒过滤时活性淤泥的流动性,提高后续脱水时活性淤泥的效果和质量,保证活性淤泥的纯净,能够通过活性淤泥中含有的污水对杂质过滤部件进行冲洗,实现了活性淤泥内污水的再利用,无需外界水资源对装置进行冲洗,节省水资源。

权利要求书
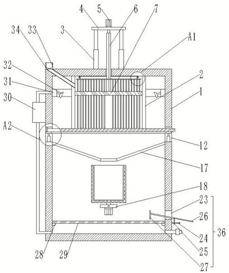
1.一种活性污泥脱水分滤机构,包括壳体,其特征在于,所述壳体内固定安装有两端均设置为开口结构的第一滤筒,第一滤筒内滑动安装有压板,所述壳体上第一滤筒所在的侧壁上固定安装有多组间隔分布的第一伸缩件,第一伸缩件远离壳体的一端共同固定安装有升降板,升降板上固定安装有输出轴指向第一滤筒的第一旋转动力件,第一旋转动力件输出轴轴线与第一滤筒轴线位于同一条竖直线上且第一旋转动力件输出轴末端固定连接有同轴分布的连杆,连杆截面设置为非圆形结构且连杆远离第一旋转动力件的一端伸入壳体内且与压板固定连接,所述壳体内设置有位于第一滤筒内的横板,横板与连杆滑动接触且连杆贯穿横板,横板沿着压板直径分布且横板上固定安装有多组线性间隔分布的搅拌杆,搅拌杆平行于连杆,搅拌杆贯穿压板且与压板滑动接触,所述壳体中部两侧壁上均开设有通槽且通槽内设置有与第一滤筒配合使用的滤板,所述壳体内远离第一滤筒的一端设置有第二滤筒,第二滤筒一端设置为开口结构且第二滤筒内壁上固定安装有滤布,所述壳体内设置有用于第二滤筒运动的动力组件,壳体侧壁远离第一滤筒的一端设置有与第二滤筒配合使用的出料组件,所述壳体外侧面固定安装有水泵,水泵进水端通过管道与壳体远离第一滤筒的一端连通,水泵出水端通过管道连通有固定安装在壳体内且围绕第一滤筒分布的连通环,连通环内连通有多组间隔分布的指向第一滤筒的喷头。
2.根据权利要求1所述的一种活性污泥脱水分滤机构,其特征在于,所述壳体内固定安装有位于第一滤筒内的第一安装圈,第一安装圈围绕连杆分布且轴线与连杆轴线重合,第一安装圈内转动安装有第二安装圈且第二安装圈与横板固定连接。
3.根据权利要求1所述的一种活性污泥脱水分滤机构,其特征在于,所述壳体上固定安装有进料箱,进料箱连通有进料管,进料管与水平面设置有夹角且进料管远离进料箱的一端与第一滤筒连通,进料管与第一滤筒连通的位置位于横板远离升降板的一侧。
4.根据权利要求1所述的一种活性污泥脱水分滤机构,其特征在于,所述壳体上固定安装有位于通槽内的第二伸缩件,第二伸缩件平行于第一伸缩件且第二伸缩件输出端共同固定安装有框型结构的支撑架,滤板滑动放置在支撑架上且支撑架一端固定安装有用于限制支撑架位置的限位板。
5.根据权利要求1所述的一种活性污泥脱水分滤机构,其特征在于,所述壳体内中部固定安装有锥形结构的导板,导板开口较大的一端指向第一滤筒且导板与第二滤筒配合使用,壳体内远离第一滤筒的一端固定安装有多组间隔分布的垫块,垫块上共同放置有活性炭过滤板。
6.根据权利要求1所述的一种活性污泥脱水分滤机构,其特征在于,所述动力组件包括转动板,转动板转动安装在壳体内且转动板转动轴线与第一滤筒轴线位于同一竖直平面内,转动板上固定安装有位于第一滤筒轴线延长线位置上的第三旋转动力件,第三旋转动力件输出轴贯穿转动板且其输出轴末端与第二滤筒固定连接,第三旋转动力件输出轴轴线与第二滤筒轴线位于同一条直线上。
7.根据权利要求6所述的一种活性污泥脱水分滤机构,其特征在于,所述壳体外侧固定安装有输出轴与转动板固定连接的第二旋转动力件,第二旋转动力件输出轴轴线与转动板转动轴线位于同一条直线上。
8.根据权利要求1所述的一种活性污泥脱水分滤机构,其特征在于,所述出料组件包括出料槽,出料槽开设在壳体侧壁上且位于远离第一滤筒的一端,出料槽内滑动安装有出料板,出料板与水平面设置有夹角且位于壳体内的一端高度较高,出料板位于壳体内的一端固定安装有挡板,挡板与出料槽配合使用。
9.根据权利要求8所述的一种活性污泥脱水分滤机构,其特征在于,所述壳体上转动安装有位于出料槽所在侧面的螺纹杆,螺纹杆上螺纹安装有支板,支板伸入出料板内且出料板上开设有与支板配合使用的卡槽。
发明内容
本发明实施例的目的在于提供一种活性污泥脱水分滤机构,旨在解决上述背景提出的问题。
本发明是这样实现的,一种活性污泥脱水分滤机构,包括壳体,所述壳体内固定安装有两端均设置为开口结构的第一滤筒,第一滤筒内滑动安装有压板,所述壳体上第一滤筒所在的侧壁上固定安装有多组间隔分布的第一伸缩件,第一伸缩件远离壳体的一端共同固定安装有升降板,升降板上固定安装有输出轴指向第一滤筒的第一旋转动力件,第一旋转动力件输出轴轴线与第一滤筒轴线位于同一条竖直线上且第一旋转动力件输出轴末端固定连接有同轴分布的连杆,连杆截面设置为非圆形结构且连杆远离第一旋转动力件的一端伸入壳体内且与压板固定连接,所述壳体内设置有位于第一滤筒内的横板,横板与连杆滑动接触且连杆贯穿横板,横板沿着压板直径分布且横板上固定安装有多组线性间隔分布的搅拌杆,搅拌杆平行于连杆,搅拌杆贯穿压板且与压板滑动接触,所述壳体中部两侧壁上均开设有通槽且通槽内设置有与第一滤筒配合使用的滤板,所述壳体内远离第一滤筒的一端设置有第二滤筒,第二滤筒一端设置为开口结构且第二滤筒内壁上固定安装有滤布,所述壳体内设置有用于第二滤筒运动的动力组件,壳体侧壁远离第一滤筒的一端设置有与第二滤筒配合使用的出料组件,所述壳体外侧面固定安装有水泵,水泵进水端通过管道与壳体远离第一滤筒的一端连通,水泵出水端通过管道连通有固定安装在壳体内且围绕第一滤筒分布的连通环,连通环内连通有多组间隔分布的指向第一滤筒的喷头。
作为本发明进一步的方案:所述壳体内固定安装有位于第一滤筒内的第一安装圈,第一安装圈围绕连杆分布且轴线与连杆轴线重合,第一安装圈内转动安装有第二安装圈且第二安装圈与横板固定连接。
作为本发明进一步的方案:所述壳体上固定安装有进料箱,进料箱连通有进料管,进料管与水平面设置有夹角且进料管远离进料箱的一端与第一滤筒连通,进料管与第一滤筒连通的位置位于横板远离升降板的一侧。
作为本发明进一步的方案:所述壳体上固定安装有位于通槽内的第二伸缩件,第二伸缩件平行于第一伸缩件且第二伸缩件输出端共同固定安装有框型结构的支撑架,滤板滑动放置在支撑架上且支撑架一端固定安装有用于限制支撑架位置的限位板。
作为本发明进一步的方案:所述壳体内中部固定安装有锥形结构的导板,导板开口较大的一端指向第一滤筒且导板与第二滤筒配合使用,壳体内远离第一滤筒的一端固定安装有多组间隔分布的垫块,垫块上共同放置有活性炭过滤板。
作为本发明进一步的方案:所述动力组件包括转动板,转动板转动安装在壳体内且转动板转动轴线与第一滤筒轴线位于同一竖直平面内,转动板上固定安装有位于第一滤筒轴线延长线位置上的第三旋转动力件,第三旋转动力件输出轴贯穿转动板且其输出轴末端与第二滤筒固定连接,第三旋转动力件输出轴轴线与第二滤筒轴线位于同一条直线上。
作为本发明进一步的方案:所述壳体外侧固定安装有输出轴与转动板固定连接的第二旋转动力件,第二旋转动力件输出轴轴线与转动板转动轴线位于同一条直线上。
作为本发明进一步的方案:所述出料组件包括出料槽,出料槽开设在壳体侧壁上且位于远离第一滤筒的一端,出料槽内滑动安装有出料板,出料板与水平面设置有夹角且位于壳体内的一端高度较高,出料板位于壳体内的一端固定安装有挡板,挡板与出料槽配合使用。
作为本发明进一步的方案:所述壳体上转动安装有位于出料槽所在侧面的螺纹杆,螺纹杆上螺纹安装有支板,支板伸入出料板内且出料板上开设有与支板配合使用的卡槽。
与现有技术相比,本发明的有益效果是:能够先将活性淤泥中的杂质颗粒先过滤出,然后在对活性淤泥中进行脱水,从而保证杂质颗粒过滤时活性淤泥的流动性,提高后续脱水时活性淤泥的效果和质量,保证活性淤泥的纯净,能够通过活性淤泥中含有的污水对杂质过滤部件进行冲洗,实现了活性淤泥内污水的再利用,无需外界水资源对装置进行冲洗,节省水资源,避免过滤部件上残留活性淤泥,提高活性淤泥过滤的效率,有利于使用。
(发明人:钟万金;胡兆然;蔡健明;蔡苗;张迪;袁小平;贾少伟;张园园;伍广平;刘杰;曹琦)






