公布日:2023.10.13
申请日:2023.07.31
分类号:B30B11/14(2006.01)I;B30B15/00(2006.01)I;B30B15/30(2006.01)I;B30B9/02(2006.01)I
摘要
本发明公开了一种污泥资源化用污泥压块设备,包括支座,所述支座上端内部通过两个动力转轴转动连接有多个压制盒,且多个压制盒之间通过铰链相互连接,多个所述压制盒连接处前后两侧均转动连接有支撑轮,所述支座右端内部设置有转运带,且转运带位于多个压制盒下端右侧,所述支座上端左侧固定连接有下料斗,且下料斗位于多个压制盒上端外侧,通过铰链将多个压制盒连接,并通过两个动力转轴使多个压制盒进行转动,同时在多个压制盒上端设置进行同步转动的多个压板,并通过移位滚轮和滑面压块控制压板的下压和抽出,使得多个压制盒和多个压板能对污泥进行连续的压制,从而使污泥能进行连续的制块,中间不停顿,提高压块设备的压制效率。

权利要求书
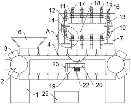
1.一种污泥资源化用污泥压块设备,其特征在于,包括支座(1),所述支座(1)上端内部通过两个动力转轴(2)转动连接有多个压制盒(3),且多个压制盒(3)之间通过铰链相互连接,多个所述压制盒(3)连接处前后两侧均转动连接有支撑轮(4),所述支座(1)右端内部设置有转运带(5),且转运带(5)位于多个压制盒(3)下端右侧,所述支座(1)上端左侧固定连接有下料斗(6),且下料斗(6)位于多个压制盒(3)上端外侧,所述支座(1)上端右侧固定连接有两个同步转动机构(7),且两个同步转动机构(7)分布在多个压制盒(3)的前后两侧,多个所述压制盒(3)底部均开设有多个透水孔(8),多个所述压制盒(3)底部均固定连接有透水垫(9),两个所述同步转动机构(7)之间通过两个同步轨道(10)转动连接有多个同步压轴(11),且两个同步轨道(10)分别开设在两个同步转动机构(7)相邻一端中心处外侧,多个所述同步压轴(11)中心处前后两侧均通过滑座(12)滑动连接有压杆(13),位于同一个同步压轴(11)内部的两个所述压杆(13)下端固定连接有压板(14),多个所述压杆(13)上端均通过滚轮座(15)转动连接有移位滚轮(16),多个所述压杆(13)上侧均套接有回位弹簧(17),且多个回位弹簧(17)均位于同步压轴(11)与滚轮座(15)之间,两个所述同步转动机构(7)之间均设置有滑面压块(18),且两个滑面压块(18)分别位于两个同步轨道(10)内部下侧。
2.根据权利要求1所述的一种污泥资源化用污泥压块设备,其特征在于:所述支撑轮(4)能在支座(1)上端滚动,且与支座(1)之间设置有位于支座(1)左右两端内部的轮槽。
3.根据权利要求1所述的一种污泥资源化用污泥压块设备,其特征在于:所述压制盒(3)能在下料斗(6)下端内部滑动,且压制盒(3)的上端外壁和前后两端外壁能与下料斗(6)的内壁紧密贴合。
4.根据权利要求1所述的一种污泥资源化用污泥压块设备,其特征在于:所述同步压轴(11)的转动速度与压制盒(3)的转动速度相同,且同步压轴(11)在左右水平方向的间隔与压制盒(3)在左右水平方向的间隔相同。
5.根据权利要求1所述的一种污泥资源化用污泥压块设备,其特征在于:所述压板(14)能在支座(1)上端顺利插入和抽出压制盒(3)内部,且压板(14)的侧壁能与压制盒(3)的内壁紧密贴合。
6.根据权利要求1所述的一种污泥资源化用污泥压块设备,其特征在于:所述滑面压块(18)下端左右两侧棱边均呈弧面设置,且移位滚轮(16)能通过弧面顺利滚入滑面压块(18)下端,并通过滚轮座(15)和压杆(13)对压板(14)造成挤压。
7.根据权利要求1所述的一种污泥资源化用污泥压块设备,其特征在于:所述压杆(13)下侧外部固定连接有限位环,且回位弹簧(17)通过滚轮座(15)向上推挤压杆(13),并通过限位环限制压杆(13)向上滑动的位置。
8.根据权利要求1所述的一种污泥资源化用污泥压块设备,其特征在于:所述支座(1)上端右侧内部固定连接有抽吸罩(19),并位于多个压制盒(3)之间,且抽吸罩(19)上端开口位于上侧的压制盒(3)下端,所述抽吸罩(19)下端连通有抽吸盒(20),所述抽吸盒(20)内部转动连接有离心叶轮(21),所述离心叶轮(21)下端固定连接有电机(22),且电机(22)位于抽吸盒(20)下端中心处,并通过连接转轴与离心叶轮(21)固定连接,所述抽吸盒(20)左端连通有导水管(23),且导水管(23)下端开设有清洗喷口(24),所述清洗喷口(24)下侧设置有集水箱(25),且集水箱(25)位于多个压制盒(3)下侧,并位于支座(1)下端右侧内部。
9.根据权利要求8所述的一种污泥资源化用污泥压块设备,其特征在于:所述抽吸罩(19)能通过多个透水孔(8)与压制盒(3)内部连通,并能通过抽吸盒(20)和离心叶轮(21)对压制盒(3)内部的水进行抽吸,且能通过导水管(23)和清洗喷口(24)将抽吸的水喷出。
10.根据权利要求8所述的一种污泥资源化用污泥压块设备,其特征在于:所述清洗喷口(24)能将水通过多个透水孔(8)喷到压制盒(3)内部的透水垫(9)底部,并能透过透水垫(9)流入集水箱(25)内部。
发明内容
本发明的目的在于提供一种污泥资源化用污泥压块设备,以解决上述背景技术中提出的污泥压块设备因压板和成型盒是直上直下压制的,因此不能进行连续压制,压制效率低问题。
为了实现上述目的,本发明提供如下技术方案:一种污泥资源化用污泥压块设备,包括支座,所述支座上端内部通过两个动力转轴转动连接有多个压制盒,且多个压制盒之间通过铰链相互连接,多个所述压制盒连接处前后两侧均转动连接有支撑轮,所述支座右端内部设置有转运带,且转运带位于多个压制盒下端右侧,所述支座上端左侧固定连接有下料斗,且下料斗位于多个压制盒上端外侧,所述支座上端右侧固定连接有两个同步转动机构,且两个同步转动机构分布在多个压制盒的前后两侧,多个所述压制盒底部均开设有多个透水孔,多个所述压制盒底部均固定连接有透水垫,两个所述同步转动机构之间通过两个同步轨道转动连接有多个同步压轴,且两个同步轨道分别开设在两个同步转动机构相邻一端中心处外侧,多个所述同步压轴中心处前后两侧均通过滑座滑动连接有压杆,位于同一个同步压轴内部的两个所述压杆下端固定连接有压板,多个所述压杆上端均通过滚轮座转动连接有移位滚轮,多个所述压杆上侧均套接有回位弹簧,且多个回位弹簧均位于同步压轴与滚轮座之间,两个所述同步转动机构之间均设置有滑面压块,且两个滑面压块分别位于两个同步轨道内部下侧。
优选的,所述支撑轮能在支座上端滚动,且与支座之间设置有位于支座左右两端内部的轮槽。
优选的,所述压制盒能在下料斗下端内部滑动,且压制盒的上端外壁和前后两端外壁能与下料斗的内壁紧密贴合。
优选的,所述同步压轴的转动速度与压制盒的转动速度相同,且同步压轴在左右水平方向的间隔与压制盒在左右水平方向的间隔相同。
优选的,所述压板能在支座上端顺利插入和抽出压制盒内部,且压板的侧壁能与压制盒的内壁紧密贴合。
优选的,所述滑面压块下端左右两侧棱边均呈弧面设置,且移位滚轮能通过弧面顺利滚入滑面压块下端,并通过滚轮座和压杆对压板造成挤压。
优选的,所述压杆下侧外部固定连接有限位环,且回位弹簧通过滚轮座向上推挤压杆,并通过限位环限制压杆向上滑动的位置。
优选的,所述支座上端右侧内部固定连接有抽吸罩,并位于多个压制盒之间,且抽吸罩上端开口位于上侧的压制盒下端,所述抽吸罩下端连通有抽吸盒,所述抽吸盒内部转动连接有离心叶轮,所述离心叶轮下端固定连接有电机,且电机位于抽吸盒下端中心处,并通过连接转轴与离心叶轮固定连接,所述抽吸盒左端连通有导水管,且导水管下端开设有清洗喷口,所述清洗喷口下侧设置有集水箱,且集水箱位于多个压制盒下侧,并位于支座下端右侧内部。
优选的,所述抽吸罩能通过多个透水孔与压制盒内部连通,并能通过抽吸盒和离心叶轮对压制盒内部的水进行抽吸,且能通过导水管和清洗喷口将抽吸的水喷出。
优选的,所述清洗喷口能将水通过多个透水孔喷到压制盒内部的透水垫底部,并能透过透水垫流入集水箱内部。
本发明的有益效果如下:
1、本发明通过铰链将多个压制盒连接,并通过两个动力转轴使多个压制盒进行转动,同时在多个压制盒上端设置进行同步转动的多个压板,并通过移位滚轮和滑面压块控制压板的下压和抽出,使得多个压制盒和多个压板能对污泥进行连续的压制,从而使污泥能进行连续的制块,中间不停顿,提高压块设备的压制效率。
2、本发明通过在被压板挤压的压制盒下端设置抽吸罩、抽吸盒和离心叶轮,让压制盒内部的污泥在被挤压过程中,能通过抽吸罩和抽吸盒的抽吸提高污泥中水分透过透水垫的速度,且能更彻底的将污泥中的水分抽出,既能提高污泥脱水的效率,又能使污泥块更干燥,更容易成型。
3、本发明通过在抽吸盒左端下侧设置导水管和清洗喷口,让吸入抽吸罩和抽吸盒内部的水能在离心叶轮的作用下能通过导水管和清洗喷口向下喷出,并喷在下侧压制盒的底部,从而对压制盒进行清洗,同时能通过压制盒底部的多个透水孔对透水垫进行方向冲洗,既能使压制盒保持清洁,又能防止污泥残留在透水垫内部对透水垫造成堵塞,确保透水垫的透水性。
(发明人:何晶;白星广;陈利娟;魏朋英)






