公布日:2023.11.03
申请日:2023.06.02
分类号:C02F1/66(2023.01)I;C02F1/00(2023.01)I;C02F103/20(2006.01)N
摘要
本发明公开了一种用于生猪养殖的废水处理装置,涉及生猪养殖技术领域,包括底座,底座顶部固定连接有过滤箱,过滤箱内部设有过滤机构,底座顶部设有中和筒,中和筒内部设有中和机构,过滤机构包括电机,电机设于过滤箱顶部前侧,电机输出端固定连接有传动轴,传动轴外侧套设有往复丝杆,往复丝杆外侧套设有滑动块,往复丝杆与滑动块通过滚珠丝杠副连接,滑动块底部固定连接有连接杆,过滤箱顶部开设有活动槽,连接杆底端通过活动槽并延伸至过滤箱内部,连接杆底端固定连接有连接板,本发明的有益效果是:本装置对生猪养殖产生的废水进行有效的过滤和中和处理,极大地降低了废水的污染效果,对环境起到了极大的保护。

权利要求书
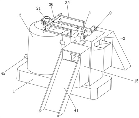
1.一种用于生猪养殖的废水处理装置,包括底座(1),其特征在于:所述底座(1)顶部固定连接有过滤箱(2),所述过滤箱(2)内部设有过滤机构,所述底座(1)顶部设有中和筒(3),所述中和筒(3)内部设有中和机构;所述过滤机构包括电机(4),所述电机(4)设于过滤箱(2)顶部前侧,所述电机(4)输出端固定连接有传动轴(5),所述传动轴(5)外侧套设有往复丝杆(6),所述往复丝杆(6)外侧套设有滑动块(7),所述往复丝杆(6)与滑动块(7)通过滚珠丝杠副连接,所述滑动块(7)底部固定连接有连接杆(8),所述过滤箱(2)顶部开设有活动槽(9),所述连接杆(8)底端通过活动槽(9)并延伸至过滤箱(2)内部,所述连接杆(8)底端固定连接有连接板(10),所述连接板(10)底部固定连接有伸缩杆(11),所述伸缩杆(11)底端固定连接有刮板(12),所述过滤箱(2)内部固定嵌设有过滤网(13),所述过滤箱(2)前后两侧开设有通槽(14),所述过滤网(13)前后两侧均固定连接有收集盒(15),两个所述通槽(14)分别延伸至收集盒(15)内部,两个所述收集盒(15)内部均设有排料组件;所述中和机构包括第一连杆(16),所述第一连杆(16)通过铰链连接在滑动块(7)一侧,所述第一连杆(16)一端套设有连接管(17),所述连接管(17)一侧内部嵌设有第二连杆(18),所述第二连杆(18)一端连接有齿板(19),所述第二连杆(18)与齿板(19)通过铰链活动连接,所述齿板(19)一侧设有齿轮(20),所述齿轮(20)与齿板(19)啮合连接,所述齿轮(20)内部固定嵌设有连通管(21),所述连通管(21)底端延伸至中和筒(3)内部,所述连通管(21)与中和筒(3)通过滚动轴承活动连接,所述连通管(21)底端固定连接有排料板(22),所述排料板(22)底端固定连接有传动杆(23),所述传动杆(23)外侧固定套设有多个搅拌杆(24)。
2.根据权利要求1所述的一种用于生猪养殖的废水处理装置,其特征在于:所述排料组件包括电动推杆(25),所述电动推杆(25)嵌设在收集盒(15)底部,所述电动推杆(25)顶端固定连接有过滤板(26),所述过滤板(26)一侧固定连接有两个T型滑块(27),所述收集盒(15)一侧内壁开设有T型滑槽(28),两个所述T型滑块(27)分别嵌设在两个T型滑槽(28)内部。
3.根据权利要求2所述的一种用于生猪养殖的废水处理装置,其特征在于:所述电动推杆(25)顶部一侧固定连接有升降杆(29),所述收集盒(15)另一侧内壁开设有升降槽(30),所述升降槽(30)内部嵌设有升降板(31),所述升降板(31)底部开设有移动槽,所述移动槽内部固定嵌设有两个定位杆(32),两个所述定位杆(32)均嵌设在升降杆(29)内部。
4.根据权利要求1所述的一种用于生猪养殖的废水处理装置,其特征在于:所述刮板(12)顶部固定连接有两个第一弹簧(33),两个所述第一弹簧(33)分别设于伸缩杆(11)左右两侧。
5.根据权利要求3所述的一种用于生猪养殖的废水处理装置,其特征在于:多个所述定位杆(32)外侧均套设有第二弹簧(34),多个所述第二弹簧(34)分别设于两个定位杆(32)顶端。
6.根据权利要求1所述的一种用于生猪养殖的废水处理装置,其特征在于:所述过滤箱(2)顶部一侧固定连接有固定架(35),所述固定架(35)一侧固定连接有两个限位板(36),两个所述限位板(36)内部均开设有限位槽(37),两个所述限位槽(37)内部均嵌设有限位条(38),两个所述限位条(38)分别固定连接在齿板(19)顶部和底部。7.根据权利要求6所述的一种用于生猪养殖的废水处理装置,其特征在于:所述固定架(35)底部固定连接有稳定板(39),所述稳定板(39)顶部连接有转杆(40),所述转杆(40)固定连接在连接管(17)底部,所述转杆(40)与稳定板(39)通过滚动轴承活动连接。
8.根据权利要求1所述的一种用于生猪养殖的废水处理装置,其特征在于:两个所述收集盒(15)外侧均固定连接有出料板(41)。
9.根据权利要求2所述的一种用于生猪养殖的废水处理装置,其特征在于:两个所述电动推杆(25)顶端均固定连接有滑块(42),两个所述过滤板(26)底部均开设有滑槽,所述滑块(42)与滑槽相匹配。
10.根据权利要求1所述的一种用于生猪养殖的废水处理装置,其特征在于:所述底座(1)内部嵌设有水泵(43),所述水泵(43)输出端和输入端均固定连接有排水管(44),两个所述排水管(44)分别延伸至过滤箱(2)和中和筒(3)内部,所述中和筒(3)一侧连接有出水管(45)。
发明内容
为此,本发明提供一种用于生猪养殖的废水处理装置,通过使用者将废水排入过滤箱内部,过滤箱对废水进行固液分离,同时收集盒将固态垃圾和粪便排出,过来的废水进入中和筒进行中和处理,以解决猪圈的废水中残渣猪粪和其他残渣,直接排放会造成环境的污染,会对生态环境造成极大的破坏的问题。
为了实现上述目的,本发明提供如下技术方案:一种用于生猪养殖的废水处理装置,包括底座,所述底座顶部固定连接有过滤箱,所述过滤箱内部设有过滤机构,所述底座顶部设有中和筒,所述中和筒内部设有中和机构;
所述过滤机构包括电机,所述电机设于过滤箱顶部前侧,所述电机输出端固定连接有传动轴,所述传动轴外侧套设有往复丝杆,所述往复丝杆外侧套设有滑动块,所述往复丝杆与滑动块通过滚珠丝杠副连接,所述滑动块底部固定连接有连接杆,所述过滤箱顶部开设有活动槽,所述连接杆底端通过活动槽并延伸至过滤箱内部,所述连接杆底端固定连接有连接板,所述连接板底部固定连接有伸缩杆,所述伸缩杆底端固定连接有刮板,所述过滤箱内部固定嵌设有过滤网,所述过滤箱前后两侧开设有通槽,所述过滤网前后两侧均固定连接有收集盒,两个所述通槽分别延伸至收集盒内部,两个所述收集盒内部均设有排料组件;
所述中和机构包括第一连杆,所述第一连杆通过铰链连接在滑动块一侧,所述第一连杆一端套设有连接管,所述连接管一侧内部嵌设有第二连杆,所述第二连杆一端连接有齿板,所述第二连杆与齿板通过铰链活动连接,所述齿板一侧设有齿轮,所述齿轮与齿板啮合连接,所述齿轮内部固定嵌设有连通管,所述连通管底端延伸至中和筒内部,所述连通管与中和筒通过滚动轴承活动连接,所述连通管底端固定连接有排料板,所述排料板底端固定连接有传动杆,所述传动杆外侧固定套设有多个搅拌杆。
优选的,所述排料组件包括电动推杆,所述电动推杆嵌设在收集盒底部,所述电动推杆顶端固定连接有过滤板,所述过滤板一侧固定连接有两个T型滑块,所述收集盒一侧内壁开设有T型滑槽,两个所述T型滑块分别嵌设在两个T型滑槽内部。
优选的,所述电动推杆顶部一侧固定连接有升降杆,所述收集盒另一侧内壁开设有升降槽,所述升降槽内部嵌设有升降板,所述升降板底部开设有移动槽,所述移动槽内部固定嵌设有两个定位杆,两个所述定位杆均嵌设在升降杆内部。
优选的,所述刮板顶部固定连接有两个第一弹簧,两个所述第一弹簧分别设于伸缩杆左右两侧。
优选的,多个所述定位杆外侧均套设有第二弹簧,多个所述第二弹簧分别设于两个定位杆顶端。
优选的,所述过滤箱顶部一侧固定连接有固定架,所述固定架一侧固定连接有两个限位板,两个所述限位板内部均开设有限位槽,两个所述限位槽内部均嵌设有限位条,两个所述限位条分别固定连接在齿板顶部和底部。
优选的,所述固定架底部固定连接有稳定板,所述稳定板顶部连接有转杆,所述转杆固定连接在连接管底部,所述转杆与稳定板通过滚动轴承活动连接。
优选的,两个所述收集盒外侧均固定连接有出料板。
优选的,两个所述电动推杆顶端均固定连接有滑块,两个所述过滤板底部均开设有滑槽,所述滑块与滑槽相匹配。
优选的,所述底座内部嵌设有水泵,所述水泵输出端和输入端均固定连接有排水管,两个所述排水管分别延伸至过滤箱和中和筒内部,所述中和筒一侧连接有出水管。
本发明的有益效果是:
1、本发明通过使用者将废水排入过滤箱内部,过滤箱对废水进行固液分离,同时收集盒将固态垃圾和粪便排出,过来的废水进入中和筒进行中和处理,以解决猪圈的废水中残渣猪粪和其他残渣,直接排放会造成环境的污染,会对生态环境造成极大的破坏的问题,本装置对生猪养殖产生的废水进行有效的过滤和中和处理,极大地降低了废水的污染效果,对环境起到了极大的保护;
2、另外本装置通过联动的结构进行过滤和中和同时工作,使得对废水处理的效率极大地提升,同时本装置有效地进行废水的固液分离,便于使用者对废水和废料进行分类处理,极大地提高了处理的效率,同时也降低了收集处理的成本,也给养殖者带来极大的收益。
(发明人:崔恒进;殷萍;张琴)






