公布日:2023.10.27
申请日:2023.09.12
分类号:C02F9/00(2023.01)I;C02F1/00(2023.01)N;C02F1/66(2023.01)N;C02F1/58(2023.01)N;C02F1/62(2023.01)N;C02F101/10(2006.01)N;C02F101/20(2006.01)N;
C02F103/10(2006.01)N
摘要
本发明公开了一种集约化矿山酸性废水处理设备,包括初级过滤桶、膨胀沉淀桶、陶瓷过滤桶、储存回用桶和管道系统,所述初级过滤桶、膨胀沉淀桶、陶瓷过滤桶与储存回用桶依次排列,所述初级过滤桶内设置有进水结构,所述进水结构用于对酸性废水进行初次过滤并收集,所述管道系统将经进水结构初次过滤并收集的酸性废水输送到所述膨胀沉淀桶内进行沉淀,所述陶瓷过滤桶内设置有多级过滤结构,所述管道系统将膨胀沉淀桶的上层清液输送到所述陶瓷过滤桶的多级过滤结构进行过滤,最后将多级过滤后的清水输送到所述储存回用桶内进行存储。本发明可以减少碱性药剂的投加量,降低成本,装置集收集、沉淀、过滤和存储一体化,装置简易。

权利要求书
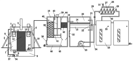
1.一种集约化矿山酸性废水处理设备,其特征在于,包括初级过滤桶(1)、膨胀沉淀桶(16)、陶瓷过滤桶(20)、储存回用桶(25)和管道系统,所述初级过滤桶(1)、所述膨胀沉淀桶(16)、所述陶瓷过滤桶(20)与所述储存回用桶(25)依次排列,所述初级过滤桶(1)内设置有进水结构,所述进水结构用于对酸性废水进行初次过滤并收集,所述管道系统将经所述进水结构初次过滤并收集的酸性废水输送到所述膨胀沉淀桶(16)内进行沉淀,所述陶瓷过滤桶(20)内设置有多级过滤结构,所述管道系统将所述膨胀沉淀桶(16)的上层清液输送到所述陶瓷过滤桶(20)的多级过滤结构进行过滤,最后将多级过滤后的清水输送到所述储存回用桶(25)内进行存储。
2.根据权利要求1所述的集约化矿山酸性废水处理设备,其特征在于,所述进水结构包括第一进水管(3)和第一筛网筒(4),所述第一进水管(3)设置在所述初级过滤桶(1)的上端,所述第一筛网筒(4)设置在所述初级过滤桶(1)内,上端与所述第一进水管(3)位置相对应,下端面与所述初级过滤桶(1)内下端连接。
3.根据权利要求1所述的集约化矿山酸性废水处理设备,其特征在于,所述膨胀沉淀桶(16)内依次设置有中和膨胀室、中和反应室、快速沉淀室,所述中和膨胀室设置在靠近所述初级过滤桶(1)的侧壁面,所述快速沉淀室设置在靠近所述陶瓷过滤桶(20)的侧壁面,所述中和反应室设置在所述中和膨胀室和所述快速沉淀室之间。
4.根据权利要求3所述的集约化矿山酸性废水处理设备,其特征在于,所述中和膨胀室包括中和滤料(38),所述中和滤料(38)设置在所述膨胀沉淀桶(16)的侧壁面,所述中和反应室包括搅拌杆(41)和加药管(43),所述搅拌杆(41)安装第二连接杆(40)上,所述第二连接杆(40)安装在伺服电机(39)驱动端上,所述伺服电机(39)设置在所述膨胀沉淀桶(16)的上端中心处,所述搅拌杆(41)和所述中和滤料(38)相邻,所述加药管(43)设置在所述膨胀沉淀桶(16)上端,且位于所述伺服电机(39)和所述中和滤料(38)之间,所述快速沉淀室包括蜂窝状斜管(42),所述蜂窝状斜管(42)设置在所述膨胀沉淀桶(16)的侧壁面。
5.根据权利要求4所述的集约化矿山酸性废水处理设备,其特征在于,所述快速沉淀室还包括隔板(44)、导泥板(45),所述导泥板(45)设置在所述蜂窝状斜管(42)下方,所述隔板(44)安装在所述蜂窝状斜管(42)的侧壁面,且与所述膨胀沉淀桶(16)的上端相连接。
6.根据权利要求1所述的集约化矿山酸性废水处理设备,其特征在于,所述多级过滤结构包括过滤板(14)和陶瓷过滤器(15),所述陶瓷过滤器(15)位于所述过滤板(14)下方,所述过滤板(14)便于第二次过滤废水,所述陶瓷过滤器(15)便于第三次过滤废水。
7.根据权利要求1所述的集约化矿山酸性废水处理设备,其特征在于,所述初级过滤桶(1)内设置有第一微型泵(17),所述第一微型泵(17)上安装有通过所述初级过滤桶(1)伸出的第二水管(18),所述第二水管(18)插入所述膨胀沉淀桶(16),所述膨胀沉淀桶(16)侧壁面连接第三水管(19),所述第三水管(19)连接所述陶瓷过滤桶(20),所述陶瓷过滤桶(20)内设置有第二微型泵(23),所述第二微型泵(23)上安装有通过所述陶瓷过滤桶(20)伸出的第四水管(24),所述第四水管(24)与所述储存回用桶(25)之间相互连接。
8.根据权利要求2所述的集约化矿山酸性废水处理设备,其特征在于,所述进水结构还包括环形架(10)、第一筒体(5)、第二筒体(6)以及伸缩电机(7),所述环形架(10)设置在所述初级过滤桶(1)内,且与所述第一筛网筒(4)平行连接,所述第一筒体(5)固定连接在所述环形架(10)下端,所述伸缩电机(7)固定连接在所述初级过滤桶(1)上,所述第二筒体(6)设置于所述初级过滤桶(1)下端,且其内安装有堵塞(13)。
9.根据权利要求8所述的集约化矿山酸性废水处理设备,所述伸缩电机(7)驱动端上安装有第一连接杆(11),所述第一连接杆(11)上安装有堵头(12),所述堵头(12)插装于所述第一筒体(5)内。
10.根据权利要求7所述的集约化矿山酸性废水处理设备,其特征在于,所述第四水管(24)与所述储存回用桶(25)之间还设置有冷却结构,所述冷却结构包括:螺旋管(28)、环形箱体(26)、制冷片(27),所述螺旋管(28)一端连接第五水管(29)、另一端连接第六水管(30),所述第五水管(29)与所述第四水管(24)连接,所述第六水管(30)与所述储存回用桶(25)相连接,所述环形箱体(26)罩在所述螺旋管(28)上,所述制冷片(27)安置于所述环形箱体(26)内。
发明内容
本发明的目的在于提供一种集约化矿山酸性废水处理设备,本发明可以减少碱性物质的投加量,降低成本,装置集收集、沉淀、过滤和存储一体化,装置简易,达到保护环境,不会让矿山酸性废水造成环境污染。
本发明为实现上述目的提供的技术方案如下:
一种集约化矿山酸性废水处理设备,包括初级过滤桶、膨胀沉淀桶、陶瓷过滤桶、储存回用桶和管道系统,所述初级过滤桶、所述膨胀沉淀桶、所述陶瓷过滤桶与所述储存回用桶依次排列,所述初级过滤桶内设置有进水结构,所述进水结构用于对酸性废水进行初次过滤并收集,所述管道系统将经所述进水结构初次过滤并收集的酸性废水输送到所述膨胀沉淀桶内进行沉淀,所述陶瓷过滤桶内设置有多级过滤结构,所述管道系统将所述膨胀沉淀桶的上层清液输送到所述陶瓷过滤桶的多级过滤结构进行过滤,最后将多级过滤后的清水输送到所述储存回用桶内进行存储。
优选的,所述进水结构包括第一进水管和第一筛网筒,所述第一进水管设置在所述初级过滤桶的上端,所述第一筛网筒设置在所述初级过滤桶内,上端与所述第一进水管位置相对应,下端面与所述初级过滤桶内下端连接。
优选的,所述膨胀沉淀桶内依次设置有中和膨胀室、中和反应室、快速沉淀室,所述中和膨胀室设置在靠近所述初级过滤桶的侧壁面,所述快速沉淀室设置在靠近所述陶瓷过滤桶的侧壁面,所述中和反应室设置在所述中和膨胀室和所述快速沉淀室之间。
优选的,所述中和膨胀室包括中和滤料,所述中和滤料设置在所述膨胀沉淀桶的侧壁面,所述中和反应室包括搅拌杆和加药管,所述搅拌杆安装第二连接杆上,所述第二连接杆安装在伺服电机驱动端上,所述伺服电机设置在所述膨胀沉淀桶的上端中心处,所述搅拌杆和所述中和滤料相邻,所述加药管设置在所述膨胀沉淀桶上端,且位于所述伺服电机和所述中和滤料之间,所述快速沉淀室包括蜂窝状斜管,所述蜂窝状斜管设置在所述膨胀沉淀桶的侧壁面。
优选的,所述快速沉淀室还包括隔板、导泥板,所述导泥板设置在所述蜂窝状斜管下方,所述隔板安装在所述蜂窝状斜管的侧壁面,且与所述膨胀沉淀桶的上端相连接。
优选的,所述多级过滤结构包括过滤板和陶瓷过滤器,所述陶瓷过滤器位于所述过滤板下方,所述过滤板便于第二次过滤废水,所述陶瓷过滤器便于第三次过滤废水。
优选的,所述初级过滤桶内设置有第一微型泵,所述第一微型泵上安装有通过所述初级过滤桶伸出的第二水管,所述第二水管插入所述膨胀沉淀桶,所述膨胀沉淀桶侧壁面连接第三水管,所述第三水管连接所述陶瓷过滤桶,所述陶瓷过滤桶内设置有第二微型泵,所述第二微型泵上安装有通过所述陶瓷过滤桶伸出的第四水管,所述第四水管与所述储存回用桶之间相互连接。
优选的,所述进水结构还包括环形架、第一筒体、第二筒体以及伸缩电机,所述环形架设置在所述初级过滤桶内,且与所述第一筛网筒平行连接,所述第一筒体固定连接在所述环形架下端,所述伸缩电机固定连接在所述初级过滤桶上,所述第二筒体设置于所述初级过滤桶下端,且其内安装有堵塞。
优选的,所述伸缩电机驱动端上安装有第一连接杆,所述第一连接杆上安装有堵头,所述堵头插装于所述第一筒体内。
优选的,所述第四水管与所述储存回用桶之间还设置有冷却结构,所述冷却结构包括:螺旋管、环形箱体、制冷片,所述螺旋管一端连接第五水管、另一端连接第六水管,所述第五水管与所述第四水管连接,所述第六水管与所述储存回用桶相连接,所述环形箱体罩在所述螺旋管上,所述制冷片安置于所述环形箱体内。
本发明的有益效果是:酸性废水通过进水结构、膨胀沉淀桶和过滤结构后,使废水pH升高,重金属离子沉淀,保护环境,并合理储存处理后的水体,便于后续循环利用,避免矿山酸性废水污染环境,且充分利用宝贵的水资源。同时,减少传统化学沉淀法的投药量,降低处理成本。
(发明人:张涛;刘园;邓文婷;马欢;张星辰;刘渊博)






