公布日:2024.04.12
申请日:2024.01.24
分类号:B01D36/04(2006.01)I
摘要
本发明适用于环保设备技术领域,提供了一种环保用污水沉淀池排水装置,包括:支撑架,所述支撑架为L形结构;抽吸头,所述抽吸头上设置有多组悬浮气囊,且抽吸头上连接有伸缩导管,所述伸缩导管远离抽吸头的一端连接有过滤机构;所述过滤机构包括过滤箱、收集箱、U形架、连接管以及定位杆;升降组件,所述升降组件设置于支撑架上;以及弹性组件,所述弹性组件用于抽吸头与升降组件之间的滑动连接,本发明通过悬浮气囊、抽吸头、弹性组件以及过滤机构的配合设置,避免了现有的环保用污水沉淀池排水装置在使用时,容易将沉淀物排出,且无法对排水中的沉淀物进行过滤,严重影响污水处理效果的问题。

权利要求书
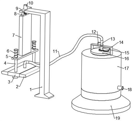
1.一种环保用污水沉淀池排水装置,包括支撑架,所述支撑架为L形结构,其特征在于,还包括:抽吸头,所述抽吸头上设置有多组悬浮气囊,且抽吸头上连接有伸缩导管,所述伸缩导管远离抽吸头的一端连接有过滤机构;所述过滤机构包括过滤箱、收集箱、U形架、连接管以及定位杆,所述过滤箱固定安装于收集箱上,且过滤箱底部开设有与收集箱相连通的圆孔,收集箱底部开设有排污孔,所述过滤箱内还设置有过滤组件,过滤箱上设置有用于将过滤后的水排出的排水管,所述U形架固定安装于过滤箱顶部,连接管通过定位杆固定安装于U形架上,且连接管的一端与过滤组件连通,连接管的另一端与伸缩导管连接,所述连接管上还设置有水泵;升降组件,所述升降组件设置于支撑架上;以及弹性组件,所述弹性组件用于抽吸头与升降组件之间的滑动连接。
2.根据权利要求1所述的环保用污水沉淀池排水装置,其特征在于,所述升降组件包括:固定安装于支撑架上的第一导向杆,所述第一导向杆至少设置有一组;转动安装于支撑架上的第一螺纹杆,所述支撑架上还设置有用于带动第一螺纹杆转动的第一电机;以及升降板,所述升降板滑动安装于第一导向杆上,且升降板与第一螺纹杆之间螺纹连接,所述升降板远离第一电机的一端与弹性组件连接。
3.根据权利要求2所述的环保用污水沉淀池排水装置,其特征在于,所述弹性组件包括:固定安装于升降板上的支撑板;滑动安装于支撑板上的支撑杆,所述支撑杆设置有多组,且支撑杆还与抽吸头固定连接;以及套设于支撑杆上的第一弹簧,所述第一弹簧的一端与支撑板固定连接,第一弹簧的另一端与支撑杆固定连接。
4.根据权利要求1所述的环保用污水沉淀池排水装置,其特征在于,所述过滤组件包括:过滤筒,所述过滤筒固定安装于过滤箱内,且过滤筒与过滤箱底部的圆孔之间还设置有封堵组件;调节板,所述调节板通过第一转管转动安装于过滤箱内,且第一转管与连接管转动连接,U形架上还设置有用于带动第一转管转动的驱动组件;挡板,所述挡板通过转轴转动安装于调节板上,且挡板在调节板的圆周方向上设置有多组,多组挡板之间相互接触;用于实现多组转轴联动的传动组件,所述传动组件设置于第一转管上;以及用于带动传动组件工作的气动组件。
5.根据权利要求4所述的环保用污水沉淀池排水装置,其特征在于,所述驱动组件包括第三电机和齿轮组,所述第三电机设置于U形架上,齿轮组用于第三电机的输出轴与第一转管之间的连接。
6.根据权利要求4所述的环保用污水沉淀池排水装置,其特征在于,所述传动组件包括:第二转管,所述第二转管转动安装于第一转管上,且第二转管上还固定安装有第二齿轮和第三齿轮,所述第三齿轮与气动组件连接;固定安装于转轴上的第一齿轮,所述第一齿轮与第二齿轮相啮合。
7.根据权利要求6所述的环保用污水沉淀池排水装置,其特征在于,所述气动组件包括:导气盒,所述导气盒固定安装于U形架上,且导气盒内具有导气空腔,导气盒上还连接有导气管;支撑盘,所述支撑盘固定安装于第一转管上,且支撑盘与导气盒转动连接,支撑盘内还设置有与导气盒的导气空腔相连通的支撑管;与第三齿轮相啮合的齿条,所述齿条内均有空腔,支撑管的端部通过限位块滑动安装于齿条的空腔内;以及套设于支撑管上的第二弹簧,所述第二弹簧的一端与限位块固定连接,第二弹簧的另一端与齿条的空腔侧壁固定连接。
8.根据权利要求4所述的环保用污水沉淀池排水装置,其特征在于,所述挡板上还固定安装有扰流板。
9.根据权利要求4所述的环保用污水沉淀池排水装置,其特征在于,所述封堵组件包括:封堵板,所述封堵板滑动安装于过滤筒内;封堵环,所述封堵环通过联动块与封堵板固定连接;第二导向杆,所述第二导向杆固定安装于收集箱内,且封堵环与封堵板上均开设有用于供第二导向杆贯穿的圆孔;横板,所述横板固定安装于收集箱内,且横板上设置有第二电机;以及第二螺纹杆,所述第二螺纹杆的一端与封堵板螺纹连接,第二螺纹杆的另一端与第二电机的输出轴固定连接。
发明内容
本发明的目的在于提供一种环保用污水沉淀池排水装置,旨在解决上述背景技术中的问题。
本发明是这样实现的,一种环保用污水沉淀池排水装置,包括:
支撑架,所述支撑架为L形结构;
抽吸头,所述抽吸头上设置有多组悬浮气囊,且抽吸头上连接有伸缩导管,所述伸缩导管远离抽吸头的一端连接有过滤机构;所述过滤机构包括过滤箱、收集箱、U形架、连接管以及定位杆,所述过滤箱固定安装于收集箱上,且过滤箱底部开设有与收集箱相连通的圆孔,收集箱底部开设有排污孔,所述过滤箱内还设置有过滤组件,过滤箱上设置有用于将过滤后的水排出的排水管,所述U形架固定安装于过滤箱顶部,连接管通过定位杆固定安装于U形架上,且连接管的一端与过滤组件连通,连接管的另一端与伸缩导管连接,所述连接管上还设置有水泵;
升降组件,所述升降组件设置于支撑架上;
以及弹性组件,所述弹性组件用于抽吸头与升降组件之间的滑动连接。
作为本发明进一步的方案:所述升降组件包括:
固定安装于支撑架上的第一导向杆,所述第一导向杆至少设置有一组;
转动安装于支撑架上的第一螺纹杆,所述支撑架上还设置有用于带动第一螺纹杆转动的第一电机;
以及升降板,所述升降板滑动安装于第一导向杆上,且升降板与第一螺纹杆之间螺纹连接,所述升降板远离第一电机的一端与弹性组件连接。
作为本发明进一步的方案:所述弹性组件包括:
固定安装于升降板上的支撑板;
滑动安装于支撑板上的支撑杆,所述支撑杆设置有多组,且支撑杆还与抽吸头固定连接;
以及套设于支撑杆上的第一弹簧,所述第一弹簧的一端与支撑板固定连接,第一弹簧的另一端与支撑杆固定连接。
作为本发明进一步的方案:所述过滤组件包括:
过滤筒,所述过滤筒固定安装于过滤箱内,且过滤筒与过滤箱底部的圆孔之间还设置有封堵组件;
调节板,所述调节板通过第一转管转动安装于过滤箱内,且第一转管与连接管转动连接,U形架上还设置有用于带动第一转管转动的驱动组件;
挡板,所述挡板通过转轴转动安装于调节板上,且挡板在调节板的圆周方向上设置有多组,多组挡板之间相互接触;
用于实现多组转轴联动的传动组件,所述传动组件设置于第一转管上;
以及用于带动传动组件工作的气动组件。
作为本发明进一步的方案:所述驱动组件包括第三电机和齿轮组,所述第三电机设置于U形架上,齿轮组用于第三电机的输出轴与第一转管之间的连接。
作为本发明进一步的方案:所述传动组件包括:
第二转管,所述第二转管转动安装于第一转管上,且第二转管上还固定安装有第二齿轮和第三齿轮,所述第三齿轮与气动组件连接;
固定安装于转轴上的第一齿轮,所述第一齿轮与第二齿轮相啮合。
作为本发明进一步的方案:所述气动组件包括:
导气盒,所述导气盒固定安装于U形架上,且导气盒内具有导气空腔,导气盒上还连接有导气管;
支撑盘,所述支撑盘固定安装于第一转管上,且支撑盘与导气盒转动连接,支撑盘内还设置有与导气盒的导气空腔相连通的支撑管;
与第三齿轮相啮合的齿条,所述齿条内均有空腔,支撑管的端部通过限位块滑动安装于齿条的空腔内;
以及套设于支撑管上的第二弹簧,所述第二弹簧的一端与限位块固定连接,第二弹簧的另一端与齿条的空腔侧壁固定连接。
作为本发明进一步的方案:所述挡板上还固定安装有扰流板。
作为本发明进一步的方案:所述封堵组件包括:
封堵板,所述封堵板滑动安装于过滤筒内;
封堵环,所述封堵环通过联动块与封堵板固定连接;
第二导向杆,所述第二导向杆固定安装于收集箱内,且封堵环与封堵板上均开设有用于供第二导向杆贯穿的圆孔;
横板,所述横板固定安装于收集箱内,且横板上设置有第二电机;
以及第二螺纹杆,所述第二螺纹杆的一端与封堵板螺纹连接,第二螺纹杆的另一端与第二电机的输出轴固定连接。
与现有技术相比,本发明的有益效果:通过升降组件的设置,便于对弹性组件和抽吸头的工作位置进行调节,并配合悬浮气囊使得抽吸头能够悬浮于水面,通过抽吸头将水抽到过滤机构内,通过过滤组件实现对水的过滤处理,过滤后的水将通过排水管排出,当封堵组件停止对过滤筒底部进行封堵后,便于将过滤组件内的杂质排出,从而提高过滤效果;通过悬浮气囊、抽吸头、弹性组件以及过滤机构的配合设置,避免了现有的环保用污水沉淀池排水装置在使用时,容易将沉淀物排出,且无法对排水中的沉淀物进行过滤,严重影响污水处理效果的问题。
(发明人:席扬)






