公布日:2024.04.12
申请日:2024.01.15
分类号:C02F1/40(2023.01)I;C02F1/38(2023.01)I;B01D17/12(2006.01)I;B01D17/038(2006.01)I;B01F27/90(2022.01)I;B01F35/12(2022.01)I
摘要
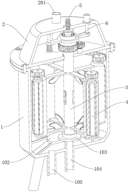
本发明涉及国产农村野外A片性视频技术领域,尤其涉及一种与污水调节罐配套的旋流除油处理装置,包括罐体,罐体顶端可拆卸连接有顶盖,罐体底部通过支撑脚支撑固定,罐体内的底部固定设置有支撑台,支撑台上端固定设置有转动座,转动座内转动安装有呈中空设置的旋流中心杆,旋流中心杆外侧等间隔设置有若干刮油组件,旋流中心杆内部同轴设置有排油中心杆,排油中心杆内部沿轴线方向设置有排油腔道,顶盖内设置有控制组件,控制组件用于驱动旋流中心杆转动以实现旋流或驱动排油中心杆升降以实现排油。本发明通过控制排油中心杆的位移距离可以调整内槽口与外槽口重叠部分的面积,从而可以根据油污层的实际厚度来调节排油速度的快慢。

权利要求书
1.一种与污水调节罐配套的旋流除油处理装置,包括罐体(1),所述罐体(1)顶端可拆卸连接有顶盖(2),所述罐体(1)底部通过支撑脚(101)支撑固定,其特征在于,所述罐体(1)内的底部固定设置有支撑台(102),所述支撑台(102)上端固定设置有转动座(103),所述转动座(103)内转动安装有呈中空设置的旋流中心杆(3),所述旋流中心杆(3)外侧等间隔设置有若干刮油组件(4),所述旋流中心杆(3)内部同轴设置有排油中心杆(5),所述排油中心杆(5)内部沿轴线方向设置有排油腔道(504),所述顶盖(2)内设置有控制组件(6),所述控制组件(6)用于驱动旋流中心杆(3)转动以实现旋流或驱动排油中心杆(5)升降以实现排油;所述旋流中心杆(3)顶端套接设置有旋流齿轮(301),所述旋流中心杆(3)内侧壁上设置有定位槽(302),所述旋流中心杆(3)外壁上贯穿设置有外槽口(303),所述排油中心杆(5)外侧设置有与定位槽(302)相对应的定位块(502),所述定位块(502)适配滑动安装于定位槽(302)内,所述排油中心杆(5)上贯穿设置有与外槽口(303)相对应的内槽口(503),所述内槽口(503)与外槽口(303)相交错以形成与排油腔道(504)相连通的排油口(104),所述排油中心杆(5)顶端固定连接有升降螺杆(501);所述顶盖(2)上贯穿设置有进污口(201),所述进污口(201)底部与罐体(1)相连通,所述支撑台(102)底部设置有排油口(104),所述排油口(104)顶端伸入到旋流中心杆(3)内腔中,所述排油口(104)底端贯穿罐体(1)并向外伸出,所述罐体(1)底部贯通设置有排水口(105);所述控制组件(6)包括柱筒(601)、升降台板(602)以及升降气缸(603),所述柱筒(601)与升降台板(602)转动配合,所述升降台板(602)一端固定连接有驱动轴(604),所述升降气缸(603)固定设置在顶盖(2)上端,所述升降气缸(603)输出端与驱动轴(604)相连接,所述升降台板(602)另一端滑动贯穿设置有限位杆(6021),所述限位杆(6021)上端与顶盖(2)固定连接,所述限位杆(6021)底端设置有挡板(6022),所述挡板(6022)与升降台板(602)之间设置有回位弹簧(6023);所述升降台板(602)内壁上周向设置有限位环槽(6024),所述柱筒(601)外壁上周向设置有限位环凸(6013),所述限位环凸(6013)适配滑动安装于限位环槽(6024)内;所述柱筒(601)外壁上周向设置有外齿柱(6012),所述顶盖(2)内固定设置有驱动电机(605),所述驱动电机(605)的输出轴上套接设置有驱动齿轮(606),所述驱动齿轮(606)与外齿柱(6012)相啮合,所述外齿柱(6012)的高度大于驱动齿轮(606)的厚度;所述旋流中心杆(3)穿过顶盖(2)伸入到柱筒(601)内,所述升降螺杆(501)从旋流中心杆(3)顶端伸出,所述柱筒(601)上下两端的内壁上均设置有内齿槽(6011),所述柱筒(601)内部设置有内螺套(608),所述升降螺杆(501)与内螺套(608)螺纹配合,所述内螺套(608)顶部转动安装于旋转座(607)内,所述旋转座(607)与顶盖(2)固定连接,所述内螺套(608)底部套接设置有升降齿轮(6081),所述内齿槽(6011)与升降齿轮(6081)或旋流齿轮(301)相啮合;所述刮油组件(4)包括半圆套筒(401),所述半圆套筒(401)内转动安装有自转轴(402),所述自转轴(402)顶端套接设置有自转齿轮(403),所述罐体(1)内壁上固定设置有齿环(106),所述自转齿轮(403)与齿环(106)相啮合,所述自转轴(402)外壁上设置有刮油辊(404),所述刮油辊(404)外壁上均匀设置有多个刮油刀(405),所述刮油刀(405)贴靠罐体(1)内壁设置,所述半圆套筒(401)背向罐体(1)内壁的一端通过连接杆(406)与旋流中心杆(3)固定连接。
2.根据权利要求1所述的一种与污水调节罐配套的旋流除油处理装置,其特征在于,所述柱筒(601)上下两端内齿槽(6011)之间的间距大于升降齿轮(6081)与旋流齿轮(301)之间的间距。
3.根据权利要求1所述的一种与污水调节罐配套的旋流除油处理装置,其特征在于,所述半圆套筒(401)朝向罐体(1)内壁的一端呈开口设置,所述连接杆(406)上固定连接有旋流扇片(407)。
发明内容
本发明的目的在于提供一种与污水调节罐配套的旋流除油处理装置,旨在解决上述技术问题。
本发明的目的可以通过以下技术方案实现:
一种与污水调节罐配套的旋流除油处理装置,包括罐体,所述罐体顶端可拆卸连接有顶盖,所述罐体底部通过支撑脚支撑固定,所述罐体内的底部固定设置有支撑台,所述支撑台上端固定设置有转动座,所述转动座内转动安装有呈中空设置的旋流中心杆,所述旋流中心杆外侧等间隔设置有若干刮油组件,所述旋流中心杆内部同轴设置有排油中心杆,所述排油中心杆内部沿轴线方向设置有排油腔道,所述顶盖内设置有控制组件,所述控制组件用于驱动旋流中心杆转动以实现旋流或驱动排油中心杆升降以实现排油。
所述旋流中心杆顶端套接设置有旋流齿轮,所述旋流中心杆内侧壁上设置有定位槽,所述旋流中心杆外壁上贯穿设置有外槽口,所述排油中心杆外侧设置有与定位槽相对应的定位块,所述定位块适配滑动安装于定位槽内,所述排油中心杆上贯穿设置有与外槽口相对应的内槽口,所述内槽口与外槽口相交错以形成与排油腔道相连通的排油口,所述排油中心杆顶端固定连接有升降螺杆。
所述顶盖上贯穿设置有进污口,所述进污口底部与罐体相连通,所述支撑台底部设置有排油口,所述排油口顶端伸入到旋流中心杆内腔中,所述排油口底端贯穿罐体并向外伸出,所述罐体底部贯通设置有排水口。
作为本发明进一步的方案:所述控制组件包括柱筒、升降台板以及升降气缸,所述柱筒与升降台板转动配合,所述升降台板一端固定连接有驱动轴,所述升降气缸固定设置在顶盖上端,所述升降气缸输出端与驱动轴相连接,所述升降台板另一端滑动贯穿设置有限位杆,所述限位杆上端与顶盖固定连接,所述限位杆底端设置有挡板,所述挡板与升降台板之间设置有回位弹簧。
作为本发明进一步的方案:所述升降台板内壁上周向设置有限位环槽,所述柱筒外壁上周向设置有限位环凸,所述限位环凸适配滑动安装于限位环槽内。
作为本发明进一步的方案:所述柱筒外壁上周向设置有外齿柱,所述顶盖内固定设置有驱动电机,所述驱动电机的输出轴上套接设置有驱动齿轮,所述驱动齿轮与外齿柱相啮合,所述外齿柱的高度大于驱动齿轮的厚度。
作为本发明进一步的方案:所述旋流中心杆穿过顶盖伸入到柱筒内,所述升降螺杆从旋流中心杆顶端伸出,所述柱筒上下两端的内壁上均设置有内齿槽,所述柱筒内部设置有内螺套,所述升降螺杆与内螺套螺纹配合,所述内螺套顶部转动安装于旋转座内,所述旋转座与顶盖固定连接,所述内螺套底部套接设置有升降齿轮,所述内齿槽与升降齿轮或旋流齿轮相啮合。
作为本发明进一步的方案:所述柱筒上下两端内齿槽之间的间距大于升降齿轮与旋流齿轮之间的间距。
作为本发明进一步的方案:所述刮油组件包括半圆套筒,所述半圆套筒内转动安装有自转轴,所述自转轴顶端套接设置有自转齿轮,所述罐体内壁上固定设置有齿环,所述自转齿轮与齿环相啮合,所述自转轴外壁上设置有刮油辊,所述刮油辊外壁上均匀设置有多个刮油刀,所述刮油刀贴靠罐体内壁设置。
作为本发明进一步的方案:所述半圆套筒朝向罐体内壁的一端呈开口设置,所述半圆套筒背向罐体内壁的一端通过连接杆与旋流中心杆固定连接,所述连接杆上固定连接有旋流扇片。
本发明的有益效果:
(1)本发明利用旋流中心杆转动以进行搅拌旋流过程,根据油水密度差的特性,利用旋流产生的离心力使得污水在旋转过程中逐渐形成油水分层,当油水旋流分层后,控制组件能够控制排油中心杆进行直线升降,直到将排油腔道打开,此时上层的油污层将集中从排油腔道排出,实现高效油水分离,同时可以通过控制排油中心杆的位移距离可以调整内槽口与外槽口重叠部分的面积,从而可以根据油污层的实际厚度来调节排油速度的快慢,避免因为排油速度太慢而导致排油效率低或因为排油速度太快而导致油水分层紊流影响分离效果。
(2)本发明通过设置控制组件,利用柱筒的上下位移实现旋流过程与排油过程的灵活切换,当下端的内齿槽与旋流齿轮相啮合时,柱筒将带动旋流中心杆转动,以实现搅拌旋流,当柱筒向上位移直到上端的内齿槽与升降齿轮相啮合时,此时柱筒将带动内螺套转动,内螺套在转动过程中将促使升降螺杆相对于旋流中心杆发生位移,从而使得排油中心杆在旋流中心杆内滑动,直到内槽口与外槽口相互交错以形成连接通口,此时油污层将会流通到排油腔道中排出,以实现排油过程。
(3)本发明过设置刮油组件,在旋流搅拌过程中,旋流中心杆通过连接杆带动半圆套筒进行周向转动,连接杆上的旋流扇片能够有利于形成旋流,半圆套筒在围绕旋流中心杆进行公转的同时,还将带动刮油辊围绕自转轴实现自转,刮油辊在转动过程中,刮油刀能够对附着在罐体内壁上的油污进行刮除清理,避免油污残留,提高了油水分离效果。
(发明人:马忠伟)






