公布日:2024.04.12
申请日:2023.12.29
分类号:B01D36/00(2006.01)I;B01D29/60(2006.01)I;B01D29/68(2006.01)I;B01D29/96(2006.01)I
摘要
本发明公开了一种柳条篮生产喷漆污水过滤装置及其过滤方法,包括污水箱,污水箱的上端设置有过滤机构,过滤机构包括过滤网与过滤圈,过滤圈的内部设置有自动切换过滤网的切换机构,且切换机构包括转动的通水板与阻挡通水板转动的挡圈,通水板的一端设置有反水冲洗机构,反水冲洗机构包括反向出水冲洗过滤网的喷水圈,过滤网堵塞后通水板与出水板转动,使机器能够自动更换过滤网,使过滤装置无需经常更换清洁,且喷水圈转动至堵塞的过滤网一端,使喷水圈对堵塞的过滤网进行反冲洗,使过滤装置的过滤性能保持在合适的范围之内。

权利要求书
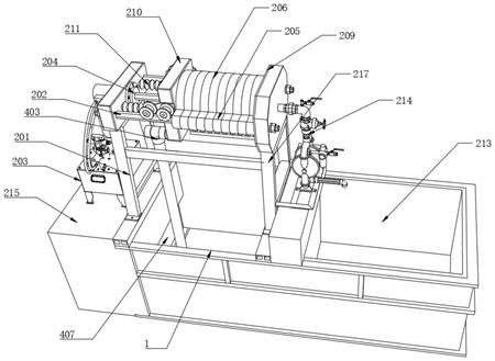
1.一种柳条篮生产喷漆污水过滤装置,包括污水箱(1),其特征在于,所述污水箱(1)的上端设置有过滤机构,所述过滤机构包括过滤网(218)与过滤圈(206),所述过滤圈(206)的内部设置有自动切换过滤网(218)的切换机构,且所述切换机构包括转动的通水板(306)与阻挡通水板(306)转动的挡圈(312),所述通水板(306)的一端设置有反水冲洗机构,所述反水冲洗机构包括反向出水冲洗过滤网(218)的喷水圈(401)。
2.根据权利要求1所述的一种柳条篮生产喷漆污水过滤装置,其特征在于,所述污水箱(1)的侧端固定安装有蓄水箱(215),所述蓄水箱(215)的内壁底端固定安装有抽水泵(216),所述抽水泵(216)的输出端固定安装有传水管(212),所述传水管(212)远离抽水泵(216)的一端固定安装有伸缩软管(211),所述伸缩软管(211)的另一端固定连接挤压板(210)。
3.根据权利要求2所述的一种柳条篮生产喷漆污水过滤装置,其特征在于,所述污水箱(1)的上端固定安装有安装架(201),所述安装架(201)的侧端固定安装有推动伸缩杆(204),且所述挤压板(210)固定安装在推动伸缩杆(204)的输出端,所述安装架(201)的侧端固定安装有滑杆(202)。
4.根据权利要求3所述的一种柳条篮生产喷漆污水过滤装置,其特征在于,所述滑杆(202)远离安装架(201)的一端固定安装有固定架(217),且所述固定架(217)固定安装在污水箱(1)的上端,所述固定架(217)靠近滑杆(202)的侧端固定安装有连接板(209),所述连接板(209)的侧端固定安装有出水管(214)。
5.根据权利要求3所述的一种柳条篮生产喷漆污水过滤装置,其特征在于,所述滑杆(202)靠近挤压板(210)的外壁滑动安装有滑块(205),且所述挤压板(210)滑动安装在滑杆(202)的外壁上,且所述过滤圈(206)固定安装在滑块(205)的侧端,所述过滤圈(206)的下端固定安装有排水管(404),所述排水管(404)的下端固定安装控制阀板(405),所述控制阀板(405)下端固定安装有收集管(403),且所述收集管(403)固定安装在安装架(201)与固定架(217)之间。
6.根据权利要求1所述的一种柳条篮生产喷漆污水过滤装置,其特征在于,所述过滤圈(206)的内壁固定安装有固定圈(301),所述固定圈(301)的一端阵列安装有多个安装筒(302),所述安装筒(302)的内壁左端固定安装有拉动弹簧伸缩杆(310),所述拉动弹簧伸缩杆(310)的输出端固定安装有安装圈(303),且所述安装圈(303)滑动贴合安装筒(302)的内壁,且所述过滤网(218)固定安装在安装圈(303)靠近拉动弹簧伸缩杆(310)的一端。
7.根据权利要求6所述的一种柳条篮生产喷漆污水过滤装置,其特征在于,所述固定圈(301)的侧端圆心转动安装有转筒(304),所述转筒(304)的内壁转动安装有转杆(305),所述转杆(305)的一端固定安装有出水板(307),且所述通水板(306)固定安装在转杆(305)远离出水板(307)的一端,所述出水板(307)靠近固定圈(301)的侧端设置有出水孔,所述出水孔中固定安装有控制圈(406),所述控制圈(406)靠近固定圈(301)的一端固定安装有推动弹簧伸缩杆(313),且所述挡圈(312)固定安装在推动弹簧伸缩杆(313)的输出端,所述出水板(307)远离挡圈(312)的侧端固定安装通水管(402),所述通水管(402)靠近喷水圈(401)的一端固定安装有通水块(408),且所述通水块(408)的输出端固定连接在喷水圈(401)的输入端。
8.根据权利要求7所述的一种柳条篮生产喷漆污水过滤装置,其特征在于,所述转筒(304)与固定圈(301)之间固定安装有卷绕弹簧(308),所述转筒(304)的内壁设置有限位槽,所述转杆(305)靠近限位槽的外壁滑动安装有限位块(317),所述转动筒的外壁卷绕安装有拉动绳(315),所述拉动绳(315)远离转动筒的一端固定安装有上下移动的活塞板(314),且所述活塞板(314)滑动贴合排水管(404)的内壁。
9.一种柳条篮生产喷漆污水过过滤方法,用于权利要求1-8中任意一项一种柳条篮生产喷漆污水过滤装置,包括以下步骤:S1.当过滤网堵塞时,当安装筒(302)中安装的过滤网(218)堵塞后,安装圈(303)移动距离增加,从而使安装圈(303)推动挡圈(312)移动,当挡圈(312)移动时,控制阀板(405)将堵塞的过滤所在的过滤圈(206)开始排水,过滤圈(206)中的水通过排水管(404)排出过滤圈(206),水通过排水管(404)时,推动活塞板(314)下降,连接绳拉动转筒(304)转动,转杆(305)不会转动,当过滤圈(206)中的水排完水流量变小时,控制阀板(405)关闭,使过滤圈(206)开始将过滤完的水存储,排水管(404)不在排水,卷绕弹簧(308)带动转筒(304)转动,带动转杆(305)转动,从而带动通水板(306)与出水板(307)转动,使出水板(307)与通水板(306)转动至下一个安装筒(302)中,从而更换滤网,过滤网(218)堵塞后通水板(306)与出水板(307)转动,使机器能够自动更换过滤网(218),使过滤装置无需经常更换清洁,使过滤装置的过滤性能保持在合适的范围之内;S2.当带动通水板(306)与出水板(307)转动时,出水板(307)与通水板(306)转动至下一个安装筒(302)中,从而更换滤网,且喷水圈(401)转动至堵塞的过滤网(218)一端,使喷水圈(401)对堵塞的过滤网(218)进行反冲洗,从而使喷水圈(401)能够对堵塞的过滤网(218)进行清洁。
发明内容
本发明的目的在于提供一种柳条篮生产喷漆污水过滤装置及其过滤方法,以解决上述背景技术中提出随着过滤的进行,杂质会逐渐积累在过滤装置中,导致过滤装置堵塞的问题。
为实现上述目的,本发明提供如下技术方案:
一种柳条篮生产喷漆污水过滤装置,包括污水箱,所述污水箱的上端设置有过滤机构,所述过滤机构包括过滤网与过滤圈,所述过滤圈的内部设置有自动切换过滤网的切换机构,且所述切换机构包括转动的通水板与阻挡通水板转动的挡圈,所述通水板的一端设置有反水冲洗机构,所述反水冲洗机构包括反向出水冲洗过滤网的喷水圈。
作为本发明进一步的方案,所述污水箱的侧端固定安装有蓄水箱,所述蓄水箱的内壁底端固定安装有抽水泵,所述抽水泵的输出端固定安装有传水管,所述传水管远离抽水泵的一端固定安装有伸缩软管,所述伸缩软管的另一端固定连接挤压板。
作为本发明再进一步的方案,所述污水箱的上端固定安装有安装架,所述安装架的侧端固定安装有推动伸缩杆,且所述挤压板固定安装在推动伸缩杆的输出端,所述安装架的侧端固定安装有滑杆。
作为本发明再进一步的方案,所述滑杆远离安装架的一端固定安装有固定架,且所述固定架固定安装在污水箱的上端,所述固定架靠近滑杆的侧端固定安装有连接板,所述连接板的侧端固定安装有出水管。
作为本发明再进一步的方案,所述滑杆靠近挤压板的外壁滑动安装有滑块,且所述挤压板滑动安装在滑杆的外壁上,且所述过滤圈固定安装在滑块的侧端,所述过滤圈的下端固定安装有排水管,所述排水管的下端固定安装控制阀板,所述控制阀板下端固定安装有收集管,且所述收集管固定安装在安装架与固定架之间。
作为本发明再进一步的方案,所述过滤圈的内壁固定安装有固定圈,所述固定圈的一端阵列安装有多个安装筒,所述安装筒的内壁左端固定安装有拉动弹簧伸缩杆,所述拉动弹簧伸缩杆的输出端固定安装有安装圈,且所述安装圈滑动贴合安装筒的内壁,且所述过滤网固定安装在安装圈靠近拉动弹簧伸缩杆的一端。
作为本发明再进一步的方案,所述固定圈的侧端圆心转动安装有转筒,所述转筒的内壁转动安装有转杆,所述转杆的一端固定安装有出水板,且所述通水板固定安装在转杆远离出水板的一端,所述出水板靠近固定圈的侧端设置有出水孔,所述出水孔中固定安装有控制圈,所述控制圈靠近固定圈的一端固定安装有推动弹簧伸缩杆,且所述挡圈固定安装在推动弹簧伸缩杆的输出端,所述出水板远离挡圈的侧端固定安装通水管,所述通水管靠近喷水圈的一端固定安装有通水块,且所述通水块的输出端固定连接在喷水圈的输入端。
作为本发明再进一步的方案,所述转筒与固定圈之间固定安装有卷绕弹簧,所述转筒的内壁设置有限位槽,所述转杆靠近限位槽的外壁滑动安装有限位块,所述转动筒的外壁卷绕安装有拉动绳,所述拉动绳远离转动筒的一端固定安装有上下移动的活塞板,且所述活塞板滑动贴合排水管的内壁。
与现有技术相比,本发明的有益效果是:
1、本发明使用时,当安装筒中安装的过滤网堵塞后,安装圈移动距离增加,从而使安装圈推动挡圈移动,当挡圈移动时,控制阀板将堵塞的过滤所在的过滤圈开始排水,过滤圈中的水通过排水管排出过滤圈,水通过排水管时,推动活塞板下降,连接绳拉动转筒转动,转杆不会转动,当过滤圈中的水排完水流量变小时,控制阀板关闭,使过滤圈开始将过滤完的水存储,排水管不在排水,卷绕弹簧带动转筒转动,带动转杆转动,从而带动通水板与出水板转动,使出水板与通水板转动至下一个安装筒中,从而更换滤网,过滤网堵塞后通水板与出水板转动,使机器能够自动更换过滤网,使过滤装置无需经常更换清洁,使过滤装置的过滤性能保持在合适的范围之内。
2、本发明使用时,当带动通水板与出水板转动时,出水板与通水板转动至下一个安装筒中,从而更换滤网,且喷水圈转动至堵塞的过滤网一端,使喷水圈对堵塞的过滤网进行反冲洗,从而使喷水板能够对堵塞的过滤网进行清洁。
(发明人:刘坤;卢东;卢艺文;郑鹏)






