公布日:2023.09.29
申请日:2023.08.28
分类号:F28B9/08(2006.01)I;B01D29/64(2006.01)I;B01D29/68(2006.01)I;B01D29/66(2006.01)I;B01D29/72(2006.01)I;F28F19/01(2006.01)I
摘要
本发明涉及蒸汽凝结水回收技术领域,尤其为一种高温凝结水闪蒸回收凝结水和乏汽装置,包括底板,所述底板上端面左侧固定连接有凝结水罐,所述底板上端面右侧固定连接有集水器,所述凝结水罐内腔下端固定连接有过滤板,所述集水器后端中部通过销轴转动连接有第二转动块,所述第二转动块前端设置有第二清刷组件,本发明实现了可对凝结水罐内部的过滤板以及集水器内部的吸附板起到一个自动清理效果,避免了出现堵塞的情况,提高了水流的通过效率,也省去了人工手动将其取下进行清理的过程,节省时间人力,可对输入管内腔壁附着的污泥等杂质起到一个自动刮取效果,避免了出现输入管堵塞的情况。

权利要求书
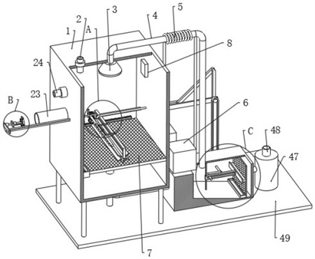
1.一种高温凝结水闪蒸回收凝结水和乏汽装置,包括底板,其特征在于:所述底板上端面左侧设置有凝结水罐,所述底板上端面右侧设置有集水器,所述凝结水罐内腔下端设置有过滤板,所述集水器内腔壁右侧设置有吸附板,所述凝结水罐右端中部通过销轴转动设置有链轮和第三连杆,所述第三连杆左端通过销轴转动连接有第二连杆,所述第二连杆左端通过销轴转动连接有安装杆,所述安装杆左端设置有第一清刷组件,所述集水器后端中部通过销轴转动连接有第二转动块,所述第二转动块前端设置有第二清刷组件;所述第一清刷组件包括毛刷辊,所述毛刷辊上滑动设置有第一毛刷板,所述毛刷辊内侧设置有弹性气囊,所述毛刷辊侧上端横向滑动设置有集水管;所述第二清刷组件包括毛刷架,所述毛刷架侧端滑动设置有第二毛刷板,所述毛刷架内设置有空腔,所述第二毛刷板在空腔内的一侧设置有活塞板,所述活塞板远离第二毛刷板的一侧设置有第一弹簧,所述毛刷架上设置有气管,所述气管与弹性气囊连通设置;所述凝结水罐左端中部设置有输入管和矩形板,所述输入管侧端设置有转盘,所述转盘外侧滑动设置有刮板,所述刮板侧端设置有弹性圆垫,所述矩形板靠近凝结水罐的一侧还设置有距离传感器;所述毛刷辊中部通过销轴设置有第二齿轮,所述毛刷辊与第二齿轮均通过销轴转动连接于安装杆,所述安装杆后端上下两侧均通过销轴分别转动连接有第三齿轮和第一齿轮,所述第一齿轮与第三齿轮相互啮合,所述第一齿轮与第二齿轮相互啮合,所述第三齿轮与安装杆的连接处通过销轴设置有蜗杆,所述安装杆左端面后侧通过销轴转动连接有蜗轮和第一转动块,所述蜗轮与蜗杆相互啮合,所述第一转动块左端面后侧通过销轴嵌入有第一凹槽杆并与其滑动相连,所述第一凹槽杆侧端设置有集水管;所述集水管上端中部滑动连接有限位杆,所述限位杆两端通过连接架设置于安装杆上,所述集水管下端设置有喷头,所述凝结水罐内腔壁后端面下侧设置有齿条,所述齿条与第一齿轮相互啮合,所述集水管上端连通有软管,所述软管与凝结水罐贯穿并滑动相连,所述软管右端通过水泵连通有清洁水箱,所述清洁水箱主体部分设置于凝结水罐;所述第二清刷组件还包括第三电机,所述第三电机下端设置于集水器,所述第三电机输出端销轴转动穿过集水器,所述第三电机的输出端销轴在集水器内外两侧分别设置有第二转动块和链轮,所述链轮啮合连接有链条,所述第二转动块通过销轴嵌入有毛刷架并与其滑动相连,所述毛刷架左端滑动连接有固定杆,所述固定杆上下两端均设置于集水器,所述凝结水罐左端中部和集水器右端下侧均插接有收集盒;所述凝结水罐左端面中部滑动设置有第一连接杆,所述第一连接杆穿过凝结水罐设置于安装杆侧端,所述第一连接杆远离凝结水罐的一侧设置有矩形板,所述矩形板前端滑动设置有滑杆,所述滑杆右端面设置于凝结水罐;所述矩形板右端面后侧设置有第一电机,所述第一电机输出端通过销轴设置有第二连接杆,所述第二连接杆右端设置有固定盘,所述第二连接杆右端面设置有第二电机,所述第二电机输出端通过销轴设置有转盘,所述固定盘沿径向分布并滑动连接有刮板,所述刮板左端面中部通过销轴转动连接有第一连杆,所述第一连杆远离刮板的一端通过销轴与转盘转动相连。
2.根据权利要求1所述的一种高温凝结水闪蒸回收凝结水和乏汽装置,其特征在于:所述输入管采用弹性橡胶材料,所述输入管外侧设置有移动板,所述凝结水罐靠近输入管的一侧设置有限位滑槽,所述移动板在限位滑槽内进行滑动,所述移动板与限位滑槽之间设置有第二弹簧。
3.根据权利要求1所述的一种高温凝结水闪蒸回收凝结水和乏汽装置,其特征在于:所述集水器上端面左侧设置有换热器,所述换热器的换热管缠绕有连接管,且所述换热管输入端和输出端分别设置在换热器输出端和输入端上,所述连接管左端与凝结水罐贯穿并连通有闪蒸水收集器,所述连接管下端与集水器连通。
4.根据权利要求1所述的一种高温凝结水闪蒸回收凝结水和乏汽装置,其特征在于:所述集水器右端中部连通有抽液泵,所述抽液泵下端面固定连接于底板,所述抽液泵出液端连通有输出管,所述凝结水罐内壁还设置有压力传感器。
5.根据权利要求1所述的一种高温凝结水闪蒸回收凝结水和乏汽装置,其特征在于:所述凝结水罐上端左侧中部设置有安全阀,所述凝结水罐左侧上端中部设置有排气阀,所述凝结水罐下端设置有与集水器连通的连通管,所述连通管上设置有排水管,所述连通管上设置有流量计。
发明内容
本发明的目的在于提供一种高温凝结水闪蒸回收凝结水和乏汽装置,以解决上述背景技术中提出的问题。
为实现上述目的,本发明提供如下技术方案:
一种高温凝结水闪蒸回收凝结水和乏汽装置,包括底板,所述底板上端面左侧设置有凝结水罐,所述底板上端面右侧设置有集水器,所述凝结水罐内腔下端设置有过滤板,所述集水器内腔壁右侧设置有吸附板,所述凝结水罐右端中部通过销轴转动设置有链轮和第三连杆,所述第三连杆左端通过销轴转动连接有第二连杆,所述第二连杆左端通过销轴转动连接有安装杆,所述安装杆左端设置有第一清刷组件,所述集水器后端中部通过销轴转动连接有第二转动块,所述第二转动块前端设置有第二清刷组件;
所述第一清刷组件包括毛刷辊,所述毛刷辊上滑动设置有第一毛刷板,所述毛刷辊内侧设置有弹性气囊,所述毛刷辊侧上端横向滑动设置有集水管;
所述第二清刷组件包括毛刷架,所述毛刷架侧端滑动设置有第二毛刷板,所述毛刷架内设置有空腔,所述第二毛刷板在空腔内的一侧设置有活塞板,所述活塞板远离第二毛刷板的一侧设置有第一弹簧,所述毛刷架上设置有气管,所述气管与弹性气囊连通设置;
所述凝结水罐左端中部设置有输入管和矩形板,所述输入管侧端设置有转盘,所述转盘外侧滑动设置有刮板,所述刮板侧端设置有弹性圆垫,所述矩形板靠近凝结水罐的一侧还设置有距离传感器。
本发明通过设置弹性气囊、弹性圆垫、移动板、流量计和距离传感器等装置,通过各个部件之间相互的配合使过滤板通过水流冲击、震动、刮扫和气流反冲的作用进行清堵,也使吸附板进行刮扫和震动清理,进而使过滤板和吸附板在对杂质进行过滤时效果更好,并且通过弹性圆垫和刮板的辅助也能够对输入管内壁的杂质进行清理,使设备在进行回收凝结水时效果更好,并且设备对过滤板和吸附板的自行清理减少了人工的参与,节省了人力。
优选的,所述毛刷辊中部通过销轴设置有第二齿轮,所述毛刷辊与第二齿轮均通过销轴转动连接于安装杆,所述安装杆后端上下两侧均通过销轴分别转动连接有第三齿轮和第一齿轮,所述第一齿轮与第三齿轮相互啮合,所述第一齿轮与第二齿轮相互啮合,所述第三齿轮与安装杆的连接处通过销轴设置有蜗杆,所述安装杆左端面后侧通过销轴转动连接有蜗轮和第一转动块,所述蜗轮与蜗杆相互啮合,所述第一转动块左端面后侧通过销轴嵌入有第一凹槽杆并与其滑动相连,所述第一凹槽杆侧端设置有集水管。
优选的,所述集水管上端中部滑动连接有限位杆,所述限位杆两端通过连接架设置于安装杆上,所述集水管下端设置有喷头,所述凝结水罐内腔壁后端面下侧设置有齿条,所述齿条与第一齿轮相互啮合,所述集水管上端连通有软管,所述软管与凝结水罐贯穿并滑动相连,所述软管右端通过水泵连通有清洁水箱,所述清洁水箱主体部分设置于凝结水罐。
优选的,所述第二清刷组件还包括第三电机,所述第三电机下端设置于集水器,所述第三电机输出端销轴转动穿过集水器,所述第三电机的输出端销轴在集水器内外两侧分别设置有第二转动块和链轮,所述链轮啮合连接有链条,所述第二转动块通过销轴嵌入有毛刷架并与其滑动相连,所述毛刷架左端滑动连接有固定杆,所述固定杆上下两端均设置于集水器,所述凝结水罐左端中部和集水器右端下侧均插接有收集盒。
优选的,所述凝结水罐左端面中部滑动设置有第一连接杆,所述第一连接杆穿过凝结水罐设置于安装杆侧端,所述第一连接杆远离凝结水罐的一侧设置有矩形板,所述矩形板前端滑动设置有滑杆,所述滑杆右端面设置于凝结水罐。
优选的,所述矩形板右端面后侧设置有第一电机,所述第一电机输出端通过销轴设置有第二连接杆,所述第二连接杆右端设置有固定盘,所述第二连接杆右端面设置有第二电机,所述第二电机输出端通过销轴设置有转盘,所述固定盘沿径向分布并滑动连接有刮板,所述刮板左端面中部通过销轴转动连接有第一连杆,所述第一连杆远离刮板的一端通过销轴与转盘转动相连。
优选的,所述输入管采用弹性橡胶材料,所述输入管外侧设置有移动板,所述凝结水罐靠近输入管的一侧设置有限位滑槽,所述移动板在限位滑槽内进行滑动,所述移动板与限位滑槽之间设置有第二弹簧。
优选的,所述集水器上端面左侧设置有换热器,所述换热器的换热管缠绕有连接管,且所述换热管输入端和输出端分别设置在换热器输出端和输入端上,所述连接管左端与凝结水罐贯穿并连通有闪蒸水收集器,所述连接管下端与集水器连通。
优选的,所述集水器右端中部连通有抽液泵,所述抽液泵下端面固定连接于底板,所述抽液泵出液端连通有输出管,所述凝结水罐内壁还设置有压力传感器。
优选的,所述凝结水罐上端左侧中部设置有安全阀,所述凝结水罐左侧上端中部设置有排气阀,所述凝结水罐下端设置有与集水器连通的连通管,所述连通管上设置有排水管,所述连通管上设置有流量计。
与现有技术相比,本发明的有益效果是:
1.本发明通过设置毛刷辊、集水管、齿条和第一齿轮等装置,使安装杆在进行往复移动的过程中,通过齿条、第一齿轮、第二齿轮和第三齿轮等装置的配合使毛刷辊转动对过滤板进行清理,并且使集水管往复移动且喷水对过滤板清扫下的杂质进行冲洗,避免了杂质对过滤板使用的影响,使过滤板在进行使用时其过滤效果更好,提高了设备使用的效果和使用的稳定性。
2.本发明通过设置第二转动块、固定杆和毛刷架等装置,使第二转动块的转动能够通过固定杆等装置的辅助带动毛刷架的上下往复移动,而毛刷架的上下往复移动使第二毛刷板能够对吸附板上的杂质进行上下刮扫,避免杂质对吸附板使用的影响。
3.本发明通过设置第一电机、第二电机、刮板和弹性圆垫等装置,通过第二电机的辅助使刮板靠近输入管内壁,通过第一电机的辅助使固定盘进行转动,从而使刮板能够对输入管内壁进行清理,并且随着第一连接杆的往复移动,使输入管内壁进行全面的清理,同时在弹性圆垫的辅助下将清理下来的杂质排出输入管。
4.本发明通过设置弹性气囊、弹性圆垫、移动板、流量计和距离传感器等装置,通过各个部件之间相互的配合使过滤板通过水流冲击、震动、刮扫和气流反冲的作用进行清堵,也使吸附板进行刮扫和震动清理,进而使过滤板和吸附板在对杂质进行过滤时效果更好,并且通过弹性圆垫和刮板的辅助也能够对输入管内壁的杂质进行清理,使设备在进行回收凝结水时效果更好,并且设备对过滤板和吸附板的自行清理减少了人工的参与,节省了人力。
(发明人:刘永祥;牛宗峰;李小龙;徐海;周成杰;张奉磊;成浩;李彤彤)






