公布日:2023.09.26
申请日:2023.05.26
分类号:C02F1/52(2023.01)I;B01J2/16(2006.01)I
摘要
本发明提供了一种小水量封闭式一体化循环结团造粒流化床水处理设备,其中,罐体的底端封闭且顶端封闭,外筒的顶端封闭,罐体位于外筒的顶端以上的内部腔体为集水区,外筒的底端以下且位于封闭的混合筒外部的罐体的内部腔体为污泥浓缩区;外筒的底端开放,形成分离入水口,外筒和罐体之间为分离区;分离区的顶部与集水区相连通;分离区的底部与污泥浓缩区相连通。本发明用于处理污染物含量低的水质,采取封闭式顶端,采用顶部出水管出水。采用了内筒、中筒、外筒和罐体同轴设置的四层结构,将分离区设置在外筒和罐体之间,解决了现有技术中位于顶部的分离区内的构造复杂,水质水量适应性较差等问题,进一步提升系统经济性。

权利要求书
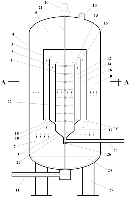
1.一种小水量封闭式一体化循环结团造粒流化床水处理设备,包括罐体(4),其特征在于,所述的罐体(4)内从内至外依次套装有内筒(1)、中筒(2)和外筒(3),内筒(1)、中筒(2)、外筒(3)和罐体(4)均同轴固定设置;所述的中筒(2)的底端开放,所述的中筒(2)的底端连通有底端封闭的混合筒(5);所述的罐体(4)的底端封闭且顶端封闭,所述的外筒(3)的顶端封闭,罐体(4)的顶端高于外筒(3)的顶端,罐体(4)位于外筒(3)的顶端以上的内部腔体为集水区(6),所述的外筒(3)的底端以下且位于封闭的混合筒(5)外部的罐体(4)的内部腔体为污泥浓缩区(7);所述的外筒(3)的底端开放,形成分离入水口(8),所述的外筒(3)和罐体(4)之间为分离区(9);所述的分离区(9)的顶部与集水区(6)相连通;所述的分离区(9)的底部与污泥浓缩区(7)相连通;所述的集水区(6)上方的罐体(4)的顶部设置有出水管(10);所述的罐体(4)外壁上设置有连通罐体(4)内的污泥浓缩区(7)的排泥管(11);所述的混合筒(5)的底端与进水管(25)相连通,进水管(25)穿过罐体(4)的侧壁伸出至罐体(2)的外部。
2.如权利要求1所述的小水量封闭式一体化循环结团造粒流化床水处理设备,其特征在于,所述的内筒(1)的底端开放,所述的内筒(1)内为造粒流化区(12);所述的内筒(1)的顶端开放,所述的中筒(2)的顶端高于内筒(1)的顶端,形成回流入水口(13),所述的内筒(1)和中筒(2)之间为循环区(14);所述的中筒(2)的顶端开放,所述的外筒(3)的顶端高于中筒(2)的顶端,形成污泥沉降口(15),所述的中筒(2)和外筒(3)之间为污泥沉降区(16),污泥沉降区(16)的底部与所述的污泥浓缩区(7)相连通;所述的混合筒(5)内为混合区(17),混合区(17)的顶部与造粒流化区(12)和循环区(14)相连通。
3.如权利要求2所述的小水量封闭式一体化循环结团造粒流化床水处理设备,其特征在于,所述的中筒(2)的底端靠近内筒(1)的底端的位置向内收缩形成收缩内壁(18),内筒(1)的底端和中筒(2)的收缩内壁(18)之间形成回流出水狭缝(19),用于形成局部负压,提供回流动力;所述的中筒(2)的收缩内壁(18)的底端连接有混合筒(5),回流出水狭缝(19)与混合区(17)的顶端连通。
4.如权利要求1所述的小水量封闭式一体化循环结团造粒流化床水处理设备,其特征在于,罐体(4)封闭的顶端安装有搅拌驱动电机(20),搅拌驱动电机(20)驱动搅拌轴(21);所述的搅拌轴(21)依次穿过集水区(6)、外筒(3)封闭的顶端、内筒(1)和混合筒(5)且伸入至罐体(4)的底部;所述的内筒(1)中的搅拌轴(21)上安装有搅拌桨叶(22),所述的搅拌轴(21)以混合筒(5)内固定安装的布水器(23)作为转动支撑座,所述的搅拌轴(21)的底端与安装在罐体(4)的底部的刮泥板(24)相连,搅拌轴(21)的转动带动搅拌桨叶(22)和刮泥板(24)转动。
5.如权利要求4所述的小水量封闭式一体化循环结团造粒流化床水处理设备,其特征在于,所述的进水管(25)的底部与搅拌轴(21)之间设置有滑动密封套(26)。
6.如权利要求1所述的小水量封闭式一体化循环结团造粒流化床水处理设备,其特征在于,所述的罐体(4)的底部为弧形底,混合筒(5)的底部为锥形斗底。
7.如权利要求1所述的小水量封闭式一体化循环结团造粒流化床水处理设备,其特征在于,所述的罐体(4)采用钢材料制成。
8.如权利要求1所述的小水量封闭式一体化循环结团造粒流化床水处理设备,其特征在于,罐体(4)安装在基架(27)上。
9.如权利要求1所述的小水量封闭式一体化循环结团造粒流化床水处理设备,其特征在于,所述的混合筒(5)的内径小于或等于内筒(1)的内径。
发明内容
针对现有技术存在的不足,本发明的目的在于,提供一种小水量封闭式一体化循环结团造粒流化床水处理设备,解决现有技术中的封闭式系统在小水量条件下的运行经济性差的技术问题。
为了解决上述技术问题,本发明采用如下技术方案予以实现:
一种小水量封闭式一体化循环结团造粒流化床水处理设备,包括罐体,所述的罐体内从内至外依次套装有内筒、中筒和外筒,内筒、中筒、外筒和罐体均同轴固定设置;所述的中筒的底端开放,所述的中筒的底端连通有底端封闭的混合筒。
所述的罐体的底端封闭且顶端封闭,所述的外筒的顶端封闭,罐体的顶端高于外筒的顶端,罐体位于外筒的顶端以上的内部腔体为集水区,所述的外筒的底端以下且位于封闭的混合筒外部的罐体的内部腔体为污泥浓缩区。
所述的外筒的底端开放,形成分离入水口,所述的外筒和罐体之间为分离区;所述的分离区的顶部与集水区相连通;所述的分离区的底部与污泥浓缩区相连通。
所述的集水区上方的罐体的顶部设置有出水管。
所述的罐体外壁上设置有连通罐体内的污泥浓缩区的排泥管。
所述的混合筒的底端与进水管相连通,进水管穿过罐体的侧壁伸出至罐体的外部。
本发明还具有如下技术特征:
所述的内筒的底端开放,所述的内筒内为造粒流化区;所述的内筒的顶端开放,所述的中筒的顶端高于内筒的顶端,形成回流入水口,所述的内筒和中筒之间为循环区;所述的中筒的顶端开放,所述的外筒的顶端高于中筒的顶端,形成污泥沉降口,所述的中筒和外筒之间为污泥沉降区,污泥沉降区的底部与所述的污泥浓缩区相连通;所述的混合筒内为混合区,混合区的顶部与造粒流化区和循环区相连通。
所述的中筒的底端靠近内筒的底端的位置向内收缩形成收缩内壁,内筒的底端和中筒的收缩内壁之间形成回流出水狭缝,用于形成局部负压,提供回流动力;所述的中筒的收缩内壁的底端连接有混合筒,回流出水狭缝与混合区的顶端连通。
罐体封闭的顶端安装有搅拌驱动电机,搅拌驱动电机驱动搅拌轴;所述的搅拌轴依次穿过集水区、外筒封闭的顶端、内筒和混合筒且伸入至罐体的底部;所述的内筒中的搅拌轴上安装有搅拌桨叶,所述的搅拌轴以混合筒内固定安装的布水器作为转动支撑座,所述的搅拌轴的底端与安装在罐体的底部的刮泥板相连,搅拌轴的转动带动搅拌桨叶和刮泥板转动。
所述的进水管的底部与搅拌轴之间设置有滑动密封套。
所述的罐体的底部为弧形底,混合筒的底部为锥形斗底。
所述的罐体采用钢材料制成。
所述的罐体安装在基架上。
所述的混合筒的内径小于或等于内筒的内径。
本发明与现有技术相比,具有如下技术效果:
(Ⅰ)本发明用于处理污染物含量低的水质,采取封闭式顶端,采用顶部出水管出水。本发明的设备采用了内筒、中筒、外筒和罐体同轴设置的四层结构,将分离区设置在外筒和罐体之间,罐体的顶部封闭,解决了现有技术中位于顶部的分离区内的构造复杂,水质水量适应性较差等问题,进一步提升系统经济性。
(Ⅱ)本发明中的多筒体结构,提升了系统水力停留时间,有效优化了微小颗粒沉降效果,使得分离区中的水浊度和悬浮物明显降低,在小水量条件下获得良好的去除效果。
(Ⅲ)本发明取消了现有技术中的系统的分离区中的悬浮层过滤固液分离装置,降低了设备整体高度,减少了设备安装高度。同时避免了悬浮珠的定期更换,减少了设备安装与后期维护工作量,运行更加简单便捷,设备造价降低。
(Ⅳ)本发明很好地利用了颗粒的高密度性能。原水中的细小颗粒经过在造粒区的结团絮凝过程,逐渐形成了具有较大有效密度的球形体。较大的球体颗粒经过内筒后直接翻入污泥浓缩区,底部无法去除的微小颗粒通过污泥沉降区和分离区后得到有效去除。由于将现有技术中的分离区中的搅拌叶片的去除,有效降低了转动电机的能量消耗,进一步提升了系统的经济效益。
(Ⅴ)本发明对各种小水量条件下的各类水质都有很好的处理效果。基于现有技术的运行经验,在处理有机质含量较高的水质,悬浮物密度较低时,本发明装置的运行以加砂循环造粒为主;在处理溶解性有机物含量较高水质时,本装置运行以粉碳循环造粒为主。
(发明人:胡瑞柱;黄廷林;卜建伟;邢翔轩)






