公布日:2023.10.24
申请日:2023.05.11
分类号:B01D46/30(2006.01)I;B01D46/79(2022.01)I;C02F1/66(2023.01)I;C02F1/00(2023.01)I;C02F101/20(2006.01)N;C02F103/18(2006.01)N
摘要
本发明提供一种燃煤烟气和脱硫废水处理装置,涉及环保技术领域。所述燃煤烟气和脱硫废水处理装置包括:处理箱,具有烟气进口、烟气出口以及污水出口;多层净化组件,分层设置在所述处理箱内,净化组件用于过滤自所述烟气进口进入所述处理箱内的燃煤烟气中的重金属与颗粒物;喷淋组件,设置在所述处理箱内,用于向净化组件喷淋脱硫废水以冲洗净化组件过滤出的重金属与颗粒物;其中,所述多层净化组件还能够中和脱硫废水的酸碱度。本发明提供的燃煤烟气和脱硫废水处理装置,解决了现有技术中不能同时处理燃煤电厂发电过程中产生的燃煤烟气以及燃煤烟气脱硫后产生的脱硫废水的问题,使得废物得到再次利用,降低了燃煤烟气和脱硫废水的处理成本。

权利要求书
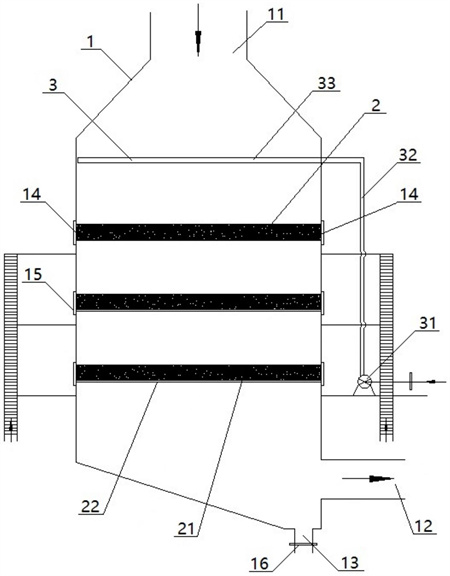
1.一种燃煤烟气和脱硫废水处理装置,其特征在于,所述燃煤烟气和脱硫废水处理装置包括:处理箱(1),具有烟气进口(11)、烟气出口(12)以及污水出口(13);多层净化组件(2),分层设置在所述处理箱(1)内,且每一净化组件(2)与所述烟气进口(11)的延伸方向互相垂直,净化组件(2)用于过滤自所述烟气进口(11)进入所述处理箱(1)内的燃煤烟气中的重金属与颗粒物;喷淋组件(3),设置在所述处理箱(1)内,用于向净化组件(2)喷淋脱硫废水以冲洗净化组件(2)过滤出的重金属与颗粒物;其中,所述多层净化组件(2)还能够中和脱硫废水的酸碱度;每一净化组件(2)包括:一对净化托盘(21)和净化支架(22);所述净化支架(22)设置在所述处理箱(1)内,与所述处理箱(1)的箱壁固定;一对净化托盘(21)活动设置在所述净化支架(22)上,每一净化托盘(21)内铺设有用于过滤燃煤烟气中重金属和颗粒物的过滤颗粒的滤材,所述滤材为钢渣,每一净化托盘(21)的底部为网状结构;每一净化托盘(21)的底部设置有滚轮,所述净化支架(22)上设置有与滚轮适配的导向轨道(221),每一净化托盘(21)通过滚轮活动设置在所述净化支架(22)的导向轨道(221)上;所述处理箱(1)上还具有多对与净化支架(22)数量对应的托盘进出口(14),每一对托盘进出口(14)对称开设在净化支架(22)两侧的处理箱(1)的箱壁上,每一净化托盘(21)通过对应的托盘进出口(14)进出所述处理箱(1)。
2.根据权利要求1所述的燃煤烟气和脱硫废水处理装置,其特征在于,每一净化组件(2)还包括:多块分隔板(23),每一净化托盘(21)内交叉设置有多个分隔板(23)以将净化托盘(21)内分隔成多个格栅槽,滤材铺设在每一格栅槽内。
3.根据权利要求1所述的燃煤烟气和脱硫废水处理装置,其特征在于,所述喷淋组件(3)包括:喷淋泵(31)、主管(32)和多根支管(33);多根支管(33)互相平行设置在所述处理箱(1)内烟气进口(11)的下方,沿每一支管(33)的延伸方向开设有多个出水口,每一支管(33)与所述主管(32)连通,所述喷淋泵(31)通过所述主管(32)以及每一支管(33)向所述净化组件(2)喷淋脱硫废水。
4.根据权利要求1所述的燃煤烟气和脱硫废水处理装置,其特征在于,所述燃煤烟气和脱硫废水处理装置还包括:烟气浓度检测器,设置在所述烟气出口(12),用于检测过滤后燃煤烟气的浓度。
5.根据权利要求4所述的燃煤烟气和脱硫废水处理装置,其特征在于,所述燃煤烟气和脱硫废水处理装置还包括:报警器,设置在所述处理箱(1)上,与所述烟气浓度检测器电连接,用于根据过滤后燃煤烟气的浓度发出对应的预警提示。
6.根据权利要求1所述的燃煤烟气和脱硫废水处理装置,其特征在于,所述燃煤烟气和脱硫废水处理装置还包括酸碱度测试仪,设置在所述污水出口(13)处,用于检测经净化组件(2)中和后的脱硫废水的PH值。
发明内容
本发明实施例的目的是提供一种燃煤烟气和脱硫废水处理装置,用于解决现有技术中不能同时处理燃煤电厂发电过程中产生的燃煤烟气以及燃煤烟气脱硫后产生的脱硫废水的问题。
为了实现上述目的,本发明提供一种燃煤烟气和脱硫废水处理装置,所述燃煤烟气和脱硫废水处理装置包括:
处理箱,具有烟气进口、烟气出口以及污水出口;
多层净化组件,分层设置在所述处理箱内,且每一净化组件与所述烟气进口的延伸方向互相垂直,净化组件用于过滤自所述烟气进口进入所述处理箱内的燃煤烟气中的重金属与颗粒物;
喷淋组件,设置在所述处理箱内,用于向净化组件喷淋脱硫废水以冲洗净化组件过滤出的重金属与颗粒物;
其中,所述多层净化组件还能够中和脱硫废水的酸碱度。
具体地,每一净化组件包括:一对净化托盘和净化支架;
所述净化支架设置在所述处理箱内,与所述处理箱的箱壁固定;
一对净化托盘活动设置在所述净化支架上,每一净化托盘内铺设有用于过滤燃煤烟气中重金属和颗粒物的过滤颗粒的滤材,每一净化托盘的底部为网状结构。
具体地,所述滤材为钢渣。
具体地,每一净化组件还包括:多块分隔板,每一净化托盘内交叉设置有多个分隔板以将净化托盘内分隔成多个格栅槽,滤材铺设在每一格栅槽内。
具体地,每一净化托盘的底部设置有滚轮,所述净化支架上设置有与滚轮适配的导向轨道,每一净化托盘通过滚轮活动设置在所述净化支架的导向轨道上。
具体地,所述处理箱上还具有多对与净化支架数量对应的托盘进出口,每一对托盘进出口对称开设在净化支架两侧的处理箱的箱壁上,每一净化托盘通过对应的托盘进出口进出所述处理箱。
具体地,所述喷淋组件包括:喷淋泵、主管和多根支管;
多根支管互相平行设置在所述处理箱内烟气进口的下方,沿每一支管的延伸方向开设有多个出水口,每一支管与所述主管连通,所述喷淋泵通过所述主管以及每一支管向所述净化组件喷淋脱硫废水。
具体地,所述燃煤烟气和脱硫废水处理装置还包括:烟气浓度检测器,设置在所述烟气出口,用于检测过滤后燃煤烟气的浓度。
具体地,所述燃煤烟气和脱硫废水处理装置还包括:报警器,设置在所述处理箱上,与所述烟气浓度检测器电连接,用于根据过滤后燃煤烟气的浓度发出对应的预警提示。
具体地,所述燃煤烟气和脱硫废水处理装置还包括:酸碱度测试仪,设置在所述污水出口处,用于检测经净化组件中和后的脱硫废水的PH值。
本发明提供的燃煤烟气和脱硫废水处理装置,在处理箱内设置多层净化组件,以通过净化组件过滤自烟气进口进入处理箱内的燃煤烟气中的重金属和颗粒物,为了提高净化组件的过滤效果,在净化组件过滤一段时间后,通过喷淋组件向净化组件上喷淋脱硫废水,以通过脱硫废水冲洗净化组件过滤出的重金属和颗粒物,确保燃煤烟气的过滤效果,脱硫废水在冲洗净化组件的过程中,净化组件还能够中和脱硫废水的酸碱度以及过滤脱硫废水中的重金属,从而完成对燃煤烟气的过滤处理以及对脱硫废水酸碱度的中和处理和过滤处理,这样,不仅过滤了燃煤烟气中的重金属和颗粒物,还使得脱硫废水废物利用的同时过滤、中和了脱硫废水,本发明提供的燃煤烟气和脱硫废水处理装置,解决了现有技术中不能同时处理燃煤电厂发电过程中产生的燃煤烟气以及燃煤烟气脱硫后产生的脱硫废水的问题,使得废物得到再次利用,降低了燃煤烟气和脱硫废水的处理成本。
(发明人:周凯;潘杨;夏远芬;刘晶莹;石叶佳;杨蓉)






