公布日:2023.09.19
申请日:2023.07.14
分类号:C02F11/13(2019.01)I;B01D50/60(2022.01)I;B01D53/78(2006.01)I;B01D53/58(2006.01)I;B01D53/52(2006.01)I;B01D53/26(2006.01)I;B01D50/20(2022.01)I;
B01D1/00(2006.01)I;B01D5/00(2006.01)I
摘要
本申请涉及污泥处理的技术领域,尤其是涉及一种污泥低温带式干化机,其包括设置于烘房内的机体,机体内设置有分隔板,分隔板将机体内腔划分为干化室和净化室,机体靠近干化室一侧设置有用于将气体引入干化室内的循环风机,干化室内设置有供污泥放置的网带组件,分隔板远离网带组件一端设置有用于连通干化室和净化室的气体通道,气体通道内壁设置有板式过滤器,机体靠近净化室一侧设置有用于给气体加热的冷凝器,冷凝器的出气口与循环风机的进气口连通,净化室内设置有过滤气体的除尘装置,冷凝器靠近除尘装置一侧设置有除湿装置。本申请可以优化干化机的除尘效果。

权利要求书
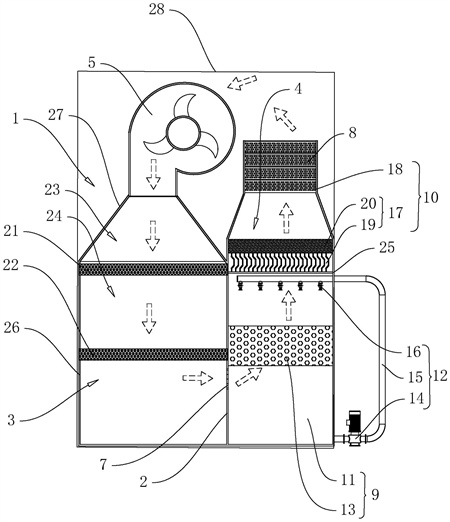
1.一种污泥低温带式干化机,包括设置于烘房内的机体(1),其特征在于,所述机体(1)内设置有分隔板(2),所述分隔板(2)将所述机体(1)内腔划分为干化室(3)和净化室(4),所述机体(1)靠近所述干化室(3)一侧设置有用于将气体引入所述干化室(3)内的循环风机(5),所述干化室(3)内设置有供污泥放置的网带组件(6),所述分隔板(2)远离所述网带组件(6)一端设置有用于连通所述干化室(3)和所述净化室(4)的气体通道,所述气体通道内壁设置有板式过滤器(7),所述机体(1)靠近所述净化室(4)一侧设置有用于给气体加热的冷凝器(8),所述冷凝器(8)的出气口与所述循环风机(5)的进气口连通,所述净化室(4)内设置有过滤气体的除尘装置(9),所述冷凝器(8)靠近所述除尘装置(9)一侧设置有除湿装置(10)。
2.根据权利要求1所述的一种污泥低温带式干化机,其特征在于,所述除尘装置(9)包括设置于所述净化室(4)底部的水槽(11)、设置于所述净化室(4)内且与所述水槽(11)连通的喷淋组件(12)、设置于所述喷淋组件(12)和所述水槽(11)之间的塑料填料层(13),所述喷淋组件(12)向所述塑料填料层(13)表面喷洒水,形成用于吸收粉尘的水膜。
3.根据权利要求2所述的一种污泥低温带式干化机,其特征在于,所述喷淋组件(12)包括设置于所述机体(1)外壁靠近所述水槽(11)一侧且与所述水槽(11)连通的水泵(14)、一端设置于所述水泵(14)上且另一端设置于所述净化室(4)内的管道(15)、设置于所述管道(15)靠近所述塑料填料层(13)一侧的雾化喷头(16)。
4.根据权利要求2所述的一种污泥低温带式干化机,其特征在于,所述除湿装置(10)包括设置于所述喷淋组件(12)靠近所述冷凝器(8)一侧的除雾件(17)、设置于所述冷凝器(8)靠近所述除雾件(17)一侧的蒸发器(18)。
5.根据权利要求4所述的一种污泥低温带式干化机,其特征在于,所述除雾件(17)包括设置于所述喷淋组件(12)靠近所述冷凝器(8)一侧的折板除雾器(19)、设置于所述折板除雾器(19)靠近所述蒸发器(18)一侧的丝网除雾器(20)。
6.根据权利要求1所述的一种污泥低温带式干化机,其特征在于,所述网带组件(6)包括沿所述干化室(3)竖直方向并列设置的第一网带(21)和第二网带(22),所述第一网带(21)靠近所述循环风机(5)一侧与所述机体(1)内壁构成供污泥放置的第一容纳腔室(23)、所述第一网带(21)和所述第二网带(22)之间的间隙构成供污泥放置的第二容纳腔室(24)。
7.根据权利要求6所述的一种污泥低温带式干化机,其特征在于,所述第一网带(21)和所述第二网带(22)均为网状结构,且所述第一网带(21)和所述第二网带(22)均与所述干化室(3)内壁转动连接。
8.根据权利要求1所述的一种污泥低温带式干化机,其特征在于,所述机体(1)包括供所述除尘装置(9)放置的净化部(25)、供所述网带组件(6)放置的干化部(26)、设置于所述干化部(26)靠近所述循环风机(5)一侧的导风部(27),所述导风部(27)呈喇叭状,所述导风部(27)靠近所述循环风机(5)一侧的长度小于所述导风部(27)远离所述循环风机(5)一侧的长度。
发明内容
为了优化干化机的除尘效果,本申请提供一种污泥低温带式干化机。
本申请提供的一种污泥低温带式干化机,采用如下的技术方案:一种污泥低温带式干化机,包括设置于烘房内的机体,所述机体内设置有分隔板,所述分隔板将所述机体内腔划分为干化室和净化室,所述机体靠近所述干化室一侧设置有用于将气体引入所述干化室内的循环风机,所述干化室内设置有供污泥放置的网带组件,所述分隔板远离所述网带组件一端设置有用于连通所述干化室和所述净化室的气体通道,所述气体通道内壁设置有板式过滤器,所述机体靠近所述净化室一侧设置有用于给气体加热的冷凝器,所述冷凝器的出气口与所述循环风机的进气口连通,所述净化室内设置有过滤气体的除尘装置,所述冷凝器靠近所述除尘装置一侧设置有除湿装置。
通过采用上述技术方案,机体是安装烘房内,烘房内的温度比外界温度高,起到保温的效果。分隔板将机体内腔划分为干化室和净化室,循环风机将经过冷凝器加热的热气体吸入到干化室内,热气体对网带组件上的污泥进行烘干,污泥在加热的脱水的过程中会产生部分粉尘;热气体和粉尘混合后组成混合气体,混合气体通过板式过滤器过滤掉大颗粒的粉尘后进入到净化室,再通过净化室内的除尘装置过滤掉小颗粒粉尘;得到净化后的气体流向除湿装置进行除湿后,再由冷凝器进一步加热后,通过循环风机吸入干化室内,使得烘房内的气体得到循环利用;本申请中的方案通过板式过滤器和除尘装置的对气体的双层过滤,以及除湿装置干燥气体后再由冷凝器加热气体,改善了湿度较大的气体带领粉尘堵塞在冷凝器上的情况,从而优化干化机的除尘效果。
可选的,所述除尘装置包括设置于所述净化室底部的水槽、设置于所述净化室内且与所述水槽连通的喷淋组件、设置于所述喷淋组件和所述水槽之间的塑料填料层,所述喷淋组件向所述塑料填料层表面喷洒水,形成用于吸收粉尘的水膜。
通过采用上述技术方案,喷淋组件吸取水槽内水,将水喷洒在塑料填料层上,形成水膜的形态,含尘的气体与水膜接触后,小颗粒粉尘与水膜融合后,带着粉尘的水流入水槽内;本申请中的方案可以将气体中小颗粒的粉尘进行过滤,提高干化机内对气体的除尘效果。
可选的,所述喷淋组件包括设置于所述机体外壁靠近所述水槽一侧且与所述水槽连通的水泵、一端设置于所述水泵上且另一端设置于所述净化室内的管道、设置于所述管道靠近所述塑料填料层一侧的雾化喷头。
通过采用上述技术方案,喷淋组件通过水泵抽取水槽内的水,通过管道将水运输到塑料填料层上方,再通过雾化喷头将水雾化后喷洒在塑料填料层上,形成水膜的形态,对气体灰尘进行吸附,提高气体的净化度。
可选的,所述除湿装置包括设置于所述喷淋组件靠近所述冷凝器一侧的除雾件、设置于所述冷凝器靠近所述除雾件一侧的蒸发器。
通过采用上述技术方案,湿度较大的气体穿过除雾件,对气体内的水分进行消耗,再通过蒸发器对气体进行降温处理,将气体内的水分析出,进一步降低气体的湿度,析出来的水分通过重力作用流向水槽一侧。
可选的,所述除雾件包括设置于所述喷淋组件靠近所述冷凝器一侧的折板除雾器、设置于所述折板除雾器靠近所述蒸发器一侧的丝网除雾器。
通过采用上述技术方案,除雾件采用折板除雾器和丝网除雾器的组合,折板除雾器由多个波形板组合而成,当湿度较大的气体以一定的速度通过波形板时,由于气体的惯性冲击,与波形板发生碰撞时,液滴从波形板的表面分离,达到除雾的效果;气体经过丝网除雾器的丝网时,液滴碰到丝网上,被粘附或吸附下来,液滴在重力的作用下跌落下来;本申请中的方案,湿度较大的气体先通过折板除雾器将大颗粒的水分进行去除,再通过丝网除雾器将小颗粒的水分进行去除,提高气体的除湿效果。
可选的,所述网带组件包括沿所述干化室竖直方向并列设置的第一网带和第二网带,所述第一网带靠近所述循环风机一侧与所述机体内壁构成供污泥放置的第一容纳腔室、所述第一网带和所述第二网带之间的间隙构成供污泥放置的第二容纳腔室。
通过采用上述技术方案,第一网带和第二网带用于污泥的进出,便于循环风机通入的热空气对第一网带和第二网带上的污泥进行加热烘干。
可选的,所述第一网带和所述第二网带均为网状结构,且所述第一网带和所述第二网带均与所述干化室内壁转动连接。
通过采用上述技术方案,第一网带和第二网带设为网状结构,便于气体的流动,加速污泥的干化,第一网带和第二网带均与干化室内壁转动连接,便于污泥的进出。
可选的,所述机体包括供所述除尘装置放置的净化部、供所述网带组件放置的干化部、设置于所述干化部靠近所述循环风机一侧的导风部,所述导风部呈喇叭状,所述导风部靠近所述循环风机一侧的长度小于所述导风部远离所述循环风机一侧的长度。
通过采用上述技术方案,导风部呈喇叭状,对循环风机的引入的热气体进行导向,使得气体更为均匀的吹向网带组件,促进污泥干化的效率。
综上所述,本申请包括以下至少一种有益技术效果:1.本申请中的方案通过板式过滤器和除尘装置的对气体的双层过滤,以及除湿装置干燥气体后再由冷凝器加热气体,改善了湿度较大的气体带领粉尘堵塞在冷凝器上的情况,从而优化干化机的除尘效果;2.喷淋组件吸取水槽内水,将水喷洒在塑料填料层上,形成水膜的形态,含尘的气体与水膜接触后,小颗粒粉尘与水膜融合后,带着粉尘的水流入水槽内;本申请中的方案可以将气体中小颗粒的粉尘进行过滤,提高干化机内对气体的除尘效果。
(发明人:吕伟;童国斌;王钊;林霞亮;王飞)






