公布日:2023.10.20
申请日:2023.09.13
分类号:C02F9/00(2023.01)I;C02F1/66(2023.01)I;C02F1/52(2023.01)I;C02F1/38(2023.01)I;B01F27/90(2022.01)I;B01F35/12(2022.01)I
摘要
本提供一种锅炉废水处理装置,属于国产农村野外A片性视频技术领域。一种锅炉废水处理装置包括离心箱体;环形刮刀,其与首个所述离心箱体内侧壁滑动连接;驱动丝杆,其设置在首个所述离心箱体中,所述离心箱体上安装有用于带动所述驱动丝杆转动的转动源;滑轴,竖直安装在所述离心箱体中;活动杆,滑动套设在所述滑轴上;复位弹簧,固定连接在所述活动杆和首个所述离心箱体底壁之间;管道疏通器,安装在所述活动杆上且深入所述导流管入水口处,用于对所述导流管入水口处进行清理。本申请可以解决传统锅炉废水处理设备易堵塞的技术缺陷。

权利要求书
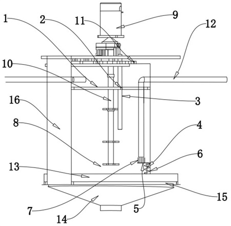
1.一种锅炉废水处理装置,其特征在于,包括:离心箱体,所述离心箱体设置有多个,多个所述离心箱体之间通过导流管(12)连通;环形刮刀(1),其与首个所述离心箱体内侧壁滑动连接,所述环形刮刀(1)与首个所述离心箱体内侧壁抵接;驱动丝杆(3),其设置在首个所述离心箱体中,所述离心箱体上安装有用于带动所述驱动丝杆(3)转动的转动源,所述环形刮刀(1)螺纹套接在所述驱动丝杆(3)上;滑轴(4),竖直安装在所述离心箱体中;活动杆(5),滑动套设在所述滑轴(4)上;复位弹簧(6),固定连接在所述活动杆(5)和首个所述离心箱体底壁之间;管道疏通器(7),安装在所述活动杆(5)上且深入所述导流管(12)入水口处,用于对所述导流管(12)入水口处进行清理;其中,当所述环形刮刀(1)与所述活动杆(5)抵接运动时,所述活动杆(5)沿所述滑轴(4)产生上下滑动对所述管道疏通器(7)进行疏通清理运动;所述离心箱体包括:搅拌作业罐(8);驱动电机(9),其固定连接在所述搅拌作业罐(8)上端面中;搅拌杆(10),其设置在所述搅拌作业罐(8)内,所述搅拌杆(10)与所述驱动电机(9)驱动轴连接;所述驱动丝杆(3)上端固定连接有与所述驱动电机(9)连接的驱动齿轮(11);所述搅拌作业罐(8)下端固定连通有用于淤泥堆积的归集基罐(13),所述归集基罐(13)中设置用于淤泥归集的推环机构(15)、用于驱动所述推环机构(15)往复运动的传动机构(16)、用于淤泥排放的卸淤底盘(14);所述归集基罐(13)设置在所述搅拌作业罐(8)下方,所述归集基罐(13)与所述搅拌作业罐(8)内部连通,所述归集基罐(13)的水平截面大于所述搅拌作业罐(8)的水平截面;所述卸淤底盘(14)固定连通在所述归集基罐(13)的下端面中,所述卸淤底盘(14)与所述归集基罐(13)的内侧面密封连接,所述卸淤底盘(14)上设置位于圆心位置的卸淤通孔(17)、位于边缘呈环形分布的清理孔(18);所述推环机构(15)设置在所述归集基罐(13)中所述卸淤底盘(14)的上方;所述推环机构(15)包括:驱动环(19),其转动连接在所述卸淤底盘(14)上端面的边缘,所述驱动环(19)在外力的作用下往复旋转;推块(20),其设置有五个,五个所述推块(20)拼成圆盘形,所述推块(20)为一面凹圆弧、两面凸圆弧的三角形结构,所述推块(20)中第一凸圆弧、凹圆弧的夹角处拼接为圆心;活动轴(21),其设置有五个,五个所述活动轴(21)分别设置在五个所述推块(20)中两凸圆弧的夹角处,所述活动轴(21)与所述卸淤底盘(14)转动连接;传动轴(22),其设置有五个,五个所述传动轴(22)的第一端设置在所述驱动环(19)上呈环形分布连接,五个所述传动轴(22)的第二端分别与五个所述推块(20)中第二凸圆弧、凹圆弧的夹角处活动连接;所述传动机构(16)包括:不完全齿轮(23),其设置有两个,两个所述不完全齿轮(23)分别固定连接在所述驱动电机(9)上和所述驱动齿轮(11)的上端;传动轮(24),其设置有两个,两个所述传动轮(24)转动连接在所述离心箱体的上端面中,两个所述传动轮(24)分别与两个所述不完全齿轮(23)交替啮合连接;作用轮(25),其与所述离心箱体上端面转动连接,所述作用轮(25)与两所述传动轮(24)分别连接;齿圈(26),其转动连接在所述离心箱体上端面边缘,所述齿圈(26)与所述作用轮(25)连接;动力板(27),其为圆弧板,所述动力板(27)的上下两端分别连接所述齿圈(26)、所述推环机构(15)中的所述驱动环(19),所述动力板(27)设置在所述离心箱体外侧。
2.根据权利要求1所述的一种锅炉废水处理装置,其特征在于:所述导流管(12)的进水口端设置在所述搅拌作业罐(8)内的下端、出水口端设置在依次连接的所述搅拌作业罐(8)内的上端,所述导流管(12)穿过所述搅拌作业罐(8)侧壁的上端。
发明内容
为了解决上述部分或全部技术问题,本申请提供一种锅炉废水处理装置,具备对作业设备进行清淤防堵塞的技术优势。
第一方面,本申请提供的一种锅炉废水处理装置,采用如下的技术方案:
一种锅炉废水处理装置,包括:离心箱体,所述离心箱体设置有多个,多个所述离心箱体之间通过导流管连通;环形刮刀,其与首个所述离心箱体内侧壁滑动连接,所述环形刮刀与首个所述离心箱体内侧壁抵接;驱动丝杆,其设置在首个所述离心箱体中,所述离心箱体上安装有用于带动所述驱动丝杆转动的转动源,所述环形刮刀螺纹套接在所述驱动丝杆上;滑轴,竖直安装在所述离心箱体中;活动杆,滑动套设在所述滑轴上;复位弹簧,固定连接在所述活动杆和首个所述离心箱体底壁之间;管道疏通器,安装在所述活动杆上且深入所述导流管入水口处,用于对所述导流管入水口处进行清理;其中,当所述环形刮刀与所述活动杆抵接运动时,所述活动杆沿所述滑轴产生上下滑动对所述管道疏通器进行疏通清理运动。
通过采用上述技术方案,当驱动丝杆在转动源的作用下产生自旋驱动时,进而带动环形刮刀沿驱动丝杆运动,产生环形刮刀对离心箱体内侧壁相对运动的刮动清理,从而实现了对离心箱体内侧壁的刮动清理作业。由原本的拆卸清理,转移至驱动丝杆的动力传输、环形刮刀的清理作业,实现了对离心箱体的不拆解、在运清理。
当环形刮刀与活动杆抵接运动时,活动杆沿滑轴产生上下滑动,进而产生管道疏通器的相对运动作用于导流管入水口端的疏通清理作业;采用行程触发式导流管清理作业的模式,实现了离心箱体、导流管清理作业的一体式联动,降低运行负载。
可选的,所述离心箱体包括:搅拌作业罐;驱动电机,其固定连接在所述搅拌作业罐上端面中;搅拌杆,其设置在所述搅拌作业罐内,所述搅拌杆与所述驱动电机驱动轴连接;所述驱动丝杆上端固定连接有与所述驱动电机连接的驱动齿轮。
通过采用上述技术方案,以驱动电机为转动源,通过与驱动电机连接的搅拌杆实现对搅拌作业罐中锅炉废水的充分搅拌混合。
通过设置在驱动丝杆上与驱动电机连接的驱动齿轮,以驱动电机为转动源,实现对离心箱体、导流管清理作业的动力输出,通过对驱动电机正反转的控制,实现对驱动齿轮、驱动丝杆正反转的切换,达到控制环形刮刀沿驱动丝杆上下运动的技术目的,可实现往复式上下运动。
可选的,所述导流管的进水口端设置在所述搅拌作业罐内的下端、出水口端设置在依次连接的所述搅拌作业罐内的上端,所述导流管穿过所述搅拌作业罐侧壁的上端。
通过采用上述技术方案,由于进水口端设置在搅拌作业罐的下端,有效利用了重力,废水可以自然流入导流管,无需额外的能量消耗。出水口端设置在下一搅拌作业罐的上端,利用重力可以使废水顺利流出。有效避免废水倒流,提高处理效率。
可选的,所述搅拌作业罐下端用于淤泥堆积的归集基罐,所述归集基罐中固定连通用于淤泥归集的推环机构、用于所述推环机构往复运动的传动机构、用于淤泥排放的卸淤底盘;所述归集基罐设置在所述搅拌作业罐下方,所述归集基罐与所述搅拌作业罐内部连通,所述归集基罐的水平截面大于所述搅拌作业罐的水平截面;所述卸淤底盘固定连通在所述归集基罐的下端面中,所述卸淤底盘与所述归集基罐的内侧面密封连接,所述卸淤底盘上设置位于圆心位置的卸淤通孔、位于边缘呈环形分布的清理孔。
通过采用上述技术方案,利用淤泥沉积、减速分离的方式,实现在归集基罐中淤泥的收集;设计卸淤通孔与清理孔相结合的结构,实现对归集基罐中淤泥的均衡排出,解决单一排淤管路作业时,出现的排淤死角,部分淤泥长时间失效堆积所造成的作业空间缩小、作业效率下降的问题。
可选的,所述推环机构设置在所述归集基罐中所述卸淤底盘的上方;所述推环机构包括:驱动环,其转动连接在所述卸淤底盘上端面的边缘,所述驱动环在外力的作用下往复旋转;推块,其设置有五个,五个所述推块拼成圆盘形,所述推块为一面凹圆弧、两面凸圆弧的三角形结构,所述推块中第一凸圆弧、凹圆弧的夹角处拼接为圆心;活动轴,其设置有五个,五个所述活动轴分别设置在五个所述推块中两凸圆弧的夹角处,所述活动轴与所述卸淤底盘连接;传动轴,其设置有五个,五个所述传动轴的第一端设置在所述驱动环上呈环形分布连接,五个所述传动轴的第二端分别与五个所述推块中第二凸圆弧、凹圆弧的夹角处活动连接。
通过采用上述技术方案,在驱动环受外力作用进行往复旋转的前提下,推环机构进行开合运动;驱动环的往复旋转运动通过传动轴作用于推块进行开闭运动;推环机构闭合时,推块拼接成圆盘形,圆盘形的圆心与卸淤底盘的圆心同轴,提高推环机构的淤泥归集效率;当驱动环受外力旋转时,驱动环通过传动轴作用于推块进行呈环形分布的同步旋转运动,推块以活动轴为旋转中心向圆心/边缘运动,推动堆积在归集基罐中的淤泥向圆心/边缘中心运动,完成推环机构的展开/收拢运动,达到淤泥归集的目的。
可选的,所述传动机构包括:不完全齿轮,其设置有两个,两个所述不完全齿轮分别固定连接在所述驱动电机上和所述驱动齿轮的上端;传动轮,其设置有两个,两个所述传动轮转动连接在所述离心箱体的上端面中,两个所述传动轮分别与两个所述不完全齿轮交替啮合连接;作用轮,其设置在所述离心箱体上端面中,所述作用轮与两所述传动轮分别连接;齿圈,其转动连接在所述离心箱体上端面边缘,所述齿圈与所述作用轮连接;动力板,其为圆弧板,所述动力板的上下两端分别连接所述齿圈、所述推环机构中的所述驱动环,所述动力板设置在所述离心箱体外侧。
通过采用上述技术方案,在进行传动机构的传动作业时,由于驱动电机与驱动丝杆上驱动齿轮的连接,两分别设置在驱动电机、驱动丝杆上的不完全齿轮反向旋转;由于两组传动轮与不完全齿轮的交替啮合连接,进而形成两传动轮的交替反方旋转运动,同时基于作用轮与两所述传动轮的分别连接,则作用轮为往复式旋转运动;根据齿圈与作用轮连接、动力板的上下两端分别连接齿圈和推环机构中的驱动环,从而使得作用轮的往复式旋转运动作用于驱动环的往复式旋转运动,达到为推环机构提供动力的设计目的。实现驱动电机对推环机构动力输出的兼容,提高结构的稳定性和兼容性。
综上所述,与现有技术相比,本申请包括以下至少一种锅炉废水处理装置有益技术效果:
1.采用中和箱、沉降箱、絮凝箱分段式沉降的作业方式,可针对锅炉废水中不同杂质、有害物的特性进行分别沉降,在提高沉降效率的同时,便于对沉降物的回收再利用;
2.当环形刮刀与活动杆抵接运动时,活动杆沿滑轴产生上下滑动,进而产生管道疏通器的相对运动作用于导流管入水口端的疏通清理作业;采用行程触发式导流管清理作业的模式,实现了离心箱体、导流管清理作业的一体式联动,降低运行负载;
3.内置清淤功能结构的设置,实现设备在不停机作业的前提下,完成对离心箱体内侧壁、导流管入水口的清理作业。
(发明人:罗建东;安晓力;邵林林;曹月明)






