公布日:2024.01.16
申请日:2023.10.16
分类号:C02F1/72(2023.01)I;C02F7/00(2006.01)I;B01J35/00(2024.01)I;C02F101/30(2006.01)N
摘要
本发明公开了一种两相催化氧化污水处理工艺及反应装置,具体涉及污水处理领域,通过在污水泵的运行下,从污水管将污水抽送到反应塔本体内,在第一催化滤筒和第二催化滤筒内的催化剂的配合作用下,对污水进行降解处理,并通过第一催化滤筒和第二催化滤筒两端连接配合的换料机构配合运行,将使用后的催化剂移动到上料筒内,更换催化剂,持续催化反应,从而保障了对污水处理的效率,再通过清洁组件对进入上料筒内使用后的催化剂进行清洗,以便重复利用,在整个工艺过程中不需要酸性药剂的添加,从而减少了药剂添加成本,能够自动更换催化剂,提高自动化水平,且对更换的催化剂能够自动清洁,从而能够进行重复利用,从而降低污水处理的成本。

权利要求书
1.一种两相催化氧化污水处理工艺,其特征在于:包括以下步骤:S1:向反应塔内放置复合非均相过渡金属催化剂和固态零价复合金属催化剂用于对进入的污水进行催化反应;S2:向反应塔内通入污水,并对反应塔底部进行曝气;S3:在通入污水的同时,常温常压下向反应塔内的污水中冲入双氧水,在两种催化剂的反应下,对污水进行处理;S4:在对污水处理的过程中,在催化剂使用后效果产生不佳时,能够自动更换催化剂,保障污水处理效率,并将更换后的催化剂进行清洗回收,重复利用。
2.根据权利要求1所述的一种两相催化氧化污水处理工艺,其特征在于:所述反应塔内通入污水时,同步通入双氧水混合进入反应塔内,且进入反应塔内的混合液底端持续进行曝气。
3.根据权利要求1所述的一种两相催化氧化污水处理工艺,其特征在于:所述复合非均相过渡金属催化剂和固态零价复合金属催化剂分别设置有两份,且每两份交替使用。
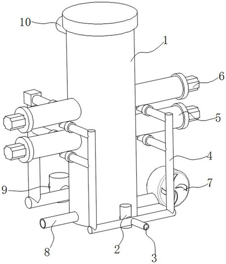
4.根据权利要求1-3所述一种两相催化氧化污水处理工艺的反应装置,其特征在于:包括反应塔本体(1),所述反应塔本体(1)一侧底端连接有污水泵(2),所述污水泵(2)连接有污水管(3),所述反应塔本体(1)底端连接有双氧水管(8),所述反应塔本体(1)一侧底端设置有鼓风机(7),所述反应塔本体(1)底端一侧连接有清洁组件(9),所述反应塔本体(1)内部平行安装有第一催化滤筒(11)和第二催化滤筒(12),所述第一催化滤筒(11)和第二催化滤筒(12)两侧的反应塔本体(1)上均焊接有上料筒(5),各所述上料筒(5)内均安装有换料机构(6),所述反应塔本体(1)顶端一侧连接有出水管(10)。
5.根据权利要求4所述的反应装置,其特征在于:所述鼓风机(7)一端连接有通气管,所述通气管插接在反应塔本体(1)内部底端,且通气管上安装有多个曝气头。
6.根据权利要求4所述的反应装置,其特征在于:所述上料筒(5)一侧连接有清洁管,所述清洁管与清洁组件(9)连接,所述上料筒(5)底端连接有排流管,所述排流管连接有回流管(4),所述回流管(4)与污水泵(2)连接,所述清洁管和排流管上均安装有用阀门。
7.根据权利要求4所述的反应装置,其特征在于:所述换料机构(6)包括液压泵(601),所述液压泵(601)安装在上料筒(5)一端;液压杆(602),所述液压杆(602)一端与液压泵(601)连接;第一塞盘(603),所述第一塞盘(603)安装在液压杆(602)另一端;连杆(604),所述连杆(604)一端与第一塞盘(603)连接;第二塞盘(605),所述第二塞盘(605)安装在连杆(604)另一端。
8.根据权利要求7所述的反应装置,其特征在于:所述第一塞盘(603)和第二塞盘(605)均与上料筒(5)滑动配合,且第一塞盘(603)和第二塞盘(605)之间放置有催化剂。
9.根据权利要求4所述的反应装置,其特征在于:所述清洁组件(9)包括清水泵(901),所述清水泵(901)设置在反应塔本体(1)一侧;清水管(902),所述清水管(902)与清水泵(901)抽水端相连接;进水管(903),所述进水管(903)一端与输水端连接,另一端与清洁管相连接。
发明内容
为了克服现有技术的上述缺陷,本发明提供一种两相催化氧化污水处理工艺及反应装置,以解决上述背景技术中提出的问题。
为实现上述目的,本发明提供如下技术方案:一种两相催化氧化污水处理工艺,包括以下步骤:
S1:向反应塔内放置复合非均相过渡金属催化剂和固态零价复合金属催化剂用于对进入的污水进行催化反应;
S2:向反应塔内通入污水,并对反应塔底部进行曝气;
S3:在通入污水的同时,常温常压下向反应塔内的污水中冲入双氧水,在两种催化剂的反应下,对污水进行处理;
S4:在对污水处理的过程中,在催化剂使用后效果产生不佳时,能够自动更换催化剂,保障污水处理效率,并将更换后的催化剂进行清洗回收,重复利用。
优选地,反应塔内通入污水时,同步通入双氧水混合进入反应塔内,且进入反应塔内的混合液底端持续进行曝气。
优选地,复合非均相过渡金属催化剂和固态零价复合金属催化剂分别设置有两份,且每两份交替使用。
通过将复合非均相过渡金属催化剂和固态零价复合金属催化剂分别取两份,并分别放置在对应的上料筒内,处于每个上料筒内的第一塞盘和第二塞盘之间,在进行污水处理时,分别将同侧的两个上料筒内的催化剂,分别在对应的换料机构的作用下,分别推送到第一催化滤筒和第二催化滤筒内,污水泵运行,从污水管抽水输送到由鼓风机曝气的反应塔本体内,配合双氧水管输送双氧水,在两组催化剂分别催化下,对污水内有机成分进行降解处理。
优选地,一种两相催化氧化污水处理工艺的反应装置,包括反应塔本体,反应塔本体一侧底端连接有污水泵,污水泵连接有污水管,反应塔本体底端连接有双氧水管,反应塔本体一侧底端设置有鼓风机,反应塔本体底端一侧连接有清洁组件,反应塔本体内部平行安装有第一催化滤筒和第二催化滤筒,第一催化滤筒和第二催化滤筒两侧的反应塔本体上均焊接有上料筒,各上料筒内均安装有换料机构,反应塔本体顶端一侧连接有出水管。
通过在污水泵的运行下,从污水管将污水抽送到反应塔本体内,同步的鼓风机运行,双氧水管向反应塔本体内输送双氧水,在第一催化滤筒和第二催化滤筒内的催化剂的配合作用下,对污水进行降解处理,在催化剂表面由污渍覆盖,导致与污水接触面降低,从而导致催化效率变低时,通过第一催化滤筒和第二催化滤筒两端连接配合的换料机构配合运行,将使用后的催化剂移动到上料筒内,另一组未使用的催化剂从另一个上料筒内输送到对应的滤筒内,持续催化反应,从而保障了对污水处理的效率,再通过清洁组件对进入上料筒内使用后的催化剂进行清洗,以便重复利用,在整个工艺过程中不需要酸性药剂的添加,从而减少了药剂添加成本,能够自动更换催化剂,提高自动化水平,且对更换的催化剂能够自动清洁,从而能够进行重复利用,从而降低污水处理的成本。
优选地,鼓风机一端连接有通气管,通气管插接在反应塔本体内部底端,且通气管上安装有多个曝气头。
优选地,上料筒一侧连接有清洁管,清洁管与清洁组件连接,上料筒底端连接有排流管,排流管连接有回流管,回流管与污水泵连接,清洁管和排流管上均安装有用阀门。
优选地,换料机构包括液压泵,液压泵安装在上料筒一端。
液压杆,液压杆一端与液压泵连接。
第一塞盘,第一塞盘安装在液压杆另一端。
连杆,连杆一端与第一塞盘连接。
第二塞盘,第二塞盘安装在连杆另一端。
在对催化剂进行更换时,通过液压泵运行,使得液压杆伸长,从而使得第一塞盘和连杆连接的第二塞盘同步向对应的滤筒内进行移动,在移动的过程中,将第一塞盘和第二塞盘内的催化剂推挤到对应的滤筒内,同步的另一组换料机构运行时,液压杆回缩,将使用后的催化剂拖回至另一个上料筒内,从而实现自动更换催化剂,且保障了持续催化,不需停机,从而提高对污水处理效率,提高反应装置的自动化水平。
优选地,第一塞盘和第二塞盘均与上料筒滑动配合,且第一塞盘和第二塞盘之间放置有催化剂。
优选地,清洁组件包括清水泵,清水泵设置在反应塔本体一侧。
清水管,清水管与清水泵抽水端相连接。
进水管,进水管一端与输水端连接,另一端与清洁管相连接。
本发明的技术效果和优点:
1、通过复合非均相过渡金属催化剂和固态零价复合金属催化剂作为催化剂的设置,与现有技术相比,实现对工业废水处理的高效催化氧化二级反应,且反应所需PH适应条件更广,不需要投加酸,从而减少了碱液的使用,大大降低了运行成本以及操作的危险性;
2、通过第一催化滤筒、第二催化滤筒、上料筒以及换料机构的设置,与现有技术相比,通过上料筒内的换料机构能够自动对催化滤筒内的催化剂进行自动更换,从而避免催化剂表面被覆盖,以保障催化剂的催化效率,提高污水处理效率,且能够自动更换催化剂,从而提高自动化水平;
3、通过清水泵、清水管、进水管、回流管、清洁管、以及排流管的设置,与现有的技术相比,能够对回收后的催化剂进行冲洗,从而使得能够对催化剂重复进行使用,且清洗后的污水能够自动排入反应器内,避免浪费,能够进行自动处理,从而提高自动化水平。
(发明人:张军)






