申请日2016.05.27
公开(公告)日2016.12.07
IPC分类号E03B3/02; E03B1/04; E04D13/04; C02F9/08; C02F9/10
摘要
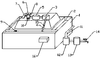
本实用新型公开了一种绿色建筑的集水处理装置,包括房屋本体,房屋本体的顶端设有若干集水槽,集水槽侧壁上安装有水位检测器,集水槽通过第一抽水管和第一抽水泵连接,第一抽水管内设有阀门,第一抽水泵通过输水管和净化装置连接,净化装置通过输水管和第一集水箱连接,第一集水箱的顶端内壁上安装有防溢流探杆,第一集水箱的一侧设有太阳能热水器,太阳能热水器上设有进水口,净化装置通过输水管和进水口连接,房屋本体侧壁上安装有控制器,水位检测器和控制器电性连接,控制器和第一抽水泵电性连接,防溢流探杆和控制器电性连接,控制器和第二抽水泵电性连接,本实用新型结构简单,提高水资源的利用率,节约水资源。
摘要附图
权利要求书
1.一种绿色建筑的集水处理装置,包括房屋本体(1),其特征在于,所述房屋本体(1)的顶端设有若干集水槽(2),所述集水槽(2)靠近所述房屋本体(1)顶端边缘处,所述集水槽(2)侧壁上安装有水位检测器(9),所述集水槽(2)通过第一抽水管(4)和第一抽水泵(3)连接,所述第一抽水管(4)内设有阀门(15),所述第一抽水泵(3)通过输水管(8)和净化装置(5)连接,所述净化装置(5)通过所述输水管(8)和第一集水箱(6)连接,所述第一集水箱(6)的顶端内壁上安装有防溢流探杆(10),所述第一集水箱(6)的一侧设有太阳能热水器(7),所述太阳能热水器(7)上设有进水口,所述净化装置(5)通过所述输水管(8)和所述进水口连接,所述房屋本体(1)侧壁上安装有控制器(16)。
2.根据权利要求1所述的一种绿色建筑的集水处理装置,其特征在于,所述第一集水箱(6)通过第二抽水管(11)和第二抽水泵(12)连接,所述第二抽水泵(12)的一侧设有第二集水箱(13),所述第二集水箱(13)上安装有水龙头(14)。
3.根据权利要求1所述的一种绿色建筑的集水处理装置,其特征在于,所述净化装置(5)由紫外线消毒杀菌灯(501)、过滤网(502)和活性炭过滤网(503)组成,所述紫外线消毒杀菌灯(501)安装在所述净化装置(5)顶端的内壁上,所述过滤网(502)的一侧设有所述活性炭过滤网(503)。
4.根据权利要求2所述的一种绿色建筑的集水处理装置,其特征在于,所述水位检测器(9)和所述控制器(16)电性连接,所述控制器(16)和所述第一抽水泵(3)电性连接,所述防溢流探杆(10)和所述控制器(16)电性连接,所述控制器(16)和所述第二抽水泵(12)电性连接。
说明书
一种绿色建筑的集水处理装置
技术领域
本实用新型涉及一种绿色建筑,特别涉及一种绿色建筑的集水处理装置。
背景技术
绿色建筑并不是指一般意义的立体绿化、屋顶花园,而是代表一种概念或象征,指建筑对环境无害,能充分利用环境自然资源,并且在不破坏环境基本生态平衡条件下建造的一种建筑,又可称为可持续发展建筑、生态建筑、回归大自然建筑、节能环保建筑等。绿色建筑评价体系共有六类指标,由高到低划分为三星、二星和一星。绿色建筑的室内布局十分合理,尽量减少使用合成材料,充分利用阳光,节省能源,为居住者创造一种接近自然的感觉。以人、建筑和自然环境的协调发展为目标,在利用天然条件和人工手段创造良好、健康的居住环境的同时,尽可能地控制和减少对自然环境的使用和破坏,充分体现向大自然的索取和回报之间的平衡。
随着科技的快速发展,人们越来注重环保,因此有人提出了绿色建筑,即节约型建筑,一般下雨天,雨水都是任意流,为了节约水资源,在绿色建筑的基础上设计出集水装置,用雨水来进行浇花,但是雨水中含有一定的杂质和细菌,现在大多数家庭都安装了太阳能热水器,但是现有的热水器都是抽取自来水供应,如果能将雨水收集并处理,可以给热水器供水,减少水资源的浪费,提高水资源的利用率,因此设计一种绿色建筑的集水处理装置的集水处理装置非常重要。
实用新型内容
本实用新型提供一种绿色建筑的集水处理装置,通过设有净化装置,解决了现有的集水装置不能直接将水体供应给热水器的问题。
为了解决上述技术问题,本实用新型提供了如下的技术方案:
本实用新型一种绿色建筑的集水处理装置,包括房屋本体,所述房屋本体的顶端设有若干集水槽,所述集水槽靠近所述房屋本体顶端边缘处,所述集水槽侧壁上安装有水位检测器,所述集水槽通过第一抽水管和第一抽水泵连接,所述第一抽水管内设有阀门,所述第一抽水泵通过输水管和净化装置连接,所述净化装置通过所述输水管和第一集水箱连接,所述第一集水箱的顶端内壁上安装有防溢流探杆,所述第一集水箱的一侧设有太阳能热水器,所述太阳能热水器上设有进水口,所述净化装置通过所述输水管和所述进水口连接,所述房屋本体侧壁上安装有控制器。
作为本实用新型的一种优选技术方案,所述第一集水箱通过第二抽水管和第二抽水泵连接,所述第二抽水泵的一侧设有第二集水箱,所述第二集水箱上安装有水龙头。
作为本实用新型的一种优选技术方案,所述净化装置由紫外线消毒杀菌灯、过滤网和活性炭过滤网组成,所述紫外线消毒杀菌灯安装在所述净化装置顶端的内壁上,所述过滤网的一侧设有所述活性炭过滤网。
作为本实用新型的一种优选技术方案,所述水位检测器和所述控制器电性连接,所述控制器和所述第一抽水泵连接,所述防溢流探杆和所述控制器电性电性连接,所述控制器和所述第二抽水泵电性连接。
本实用新型所达到的有益效果是:本实用新型结构简单,提高水资源的利用率,节约水资源。


