申请日2016.05.27
公开(公告)日2016.12.07
IPC分类号C02F9/14
摘要
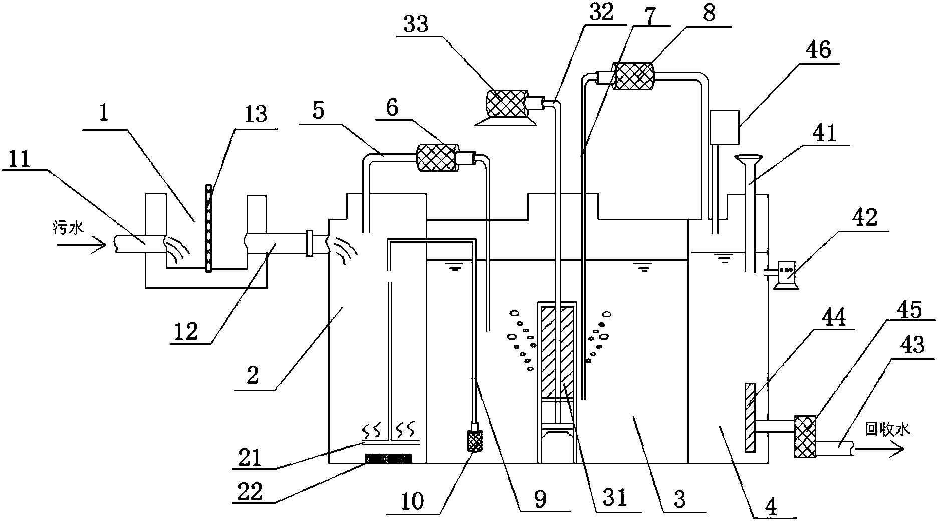
本实用新型提供了一种能够消毒除臭的污水处理装置,包括格栅渠、缺氧沉淀池、曝气池和消毒除臭池,格栅渠设置有格栅,污水出口连通缺氧沉淀池,缺氧沉淀池的底部设置有加热器,缺氧沉淀池和曝气池之间通过第一输水管道导通,第一输水管道上设置有第一输水泵,曝气池内设置有MBR曝气膜组和曝气管,曝气管连接有鼓风机,曝气池和消毒除臭池之间通过第二输水管道导通,第二输水管道上设置有第二输水泵,消毒除臭池的上部设置有加药器、二氧化氯消毒器和等离子除臭装置,消毒除臭池的底部设置有回收出水口。有益效果是能够处理排出的污水,处理掉固体污染物,回收污泥资源,充分曝气,而且能够消除污水中的臭味,输出稳定的水质。
摘要附图
权利要求书
1.一种能够消毒除臭的污水处理装置,其特征在于:包括格栅渠、缺氧沉淀池、曝气池和消毒除臭池,所述格栅渠的污水进口和污水出口之间设置有格栅,所述污水出口连通所述缺氧沉淀池,所述缺氧沉淀池的底部设置有加热器,所述缺氧沉淀池和所述曝气池之间通过第一输水管道导通,所述第一输水管道上设置有第一输水泵,所述曝气池内设置有MBR曝气膜组和曝气管,所述曝气管连接有鼓风机,所述曝气池和所述消毒除臭池之间通过第二输水管道导通,所述第二输水管道上设置有第二输水泵,所述消毒除臭池的上部设置有加药器、二氧化氯消毒器和等离子除臭装置,所述消毒除臭池的底部设置有回收出水口。
2.根据权利要求1所述的能够消毒除臭的污水处理装置,其特征在于:所述缺氧沉淀池和所述曝气池之间还连通有污泥回流管道,所述曝气池内设置有与所述污泥回流管道连通的污泥回流泵。
3.根据权利要求1所述的能够消毒除臭的污水处理装置,其特征在于:所述回收出水口设置有活性炭过滤器和反冲洗过滤器,所述活性炭过滤器设置在所述消毒除臭池内部,所述反冲洗过滤器设置在所述消毒除臭池的外部。
4.根据权利要求1所述的能够消毒除臭的污水处理装置,其特征在于:所述缺氧沉淀池的底部设置有污泥清理口。
说明书
一种能够消毒除臭的污水处理装置
技术领域
本实用新型属于一体式污水处理装置领域,尤其是涉及一种能够消毒除臭的污水处理装置。
背景技术
随着全球水资源状况的不断恶化,全世界范围内保护水资源的热潮正在兴起。我国的水环境污染和生态破坏相当严重,并呈现加剧的发展趋势。目前,我国的大部分城镇的污水采用直接排放的处理方式,没有采取环保的处理措施,加重了对水资源环境的污染,现有的水处理装置往往仅能够实现过滤掉污水中的固体污染物,进行一定的曝气除菌操作,不能彻底消除污水中的臭味,也不能及时回收污水处理过程中的资源,造成资源的浪费。
实用新型内容
有鉴于此,本实用新型旨在提出一种能够消毒除臭的污水处理装置,能够处理排出的污水,处理掉固体污染物,回收污泥资源,充分曝气,而且能够通过加药器、二氧化氯消毒器、等离子除臭装置、活性炭过滤器和反冲洗过滤器,消除污水中的臭味,输出稳定的水质。
为达到上述目的,本实用新型的技术方案是这样实现的:
一种能够消毒除臭的污水处理装置,包括格栅渠、缺氧沉淀池、曝气池和消毒除臭池,所述格栅渠的污水进口和污水出口之间设置有格栅,所述污水出口连通所述缺氧沉淀池,所述缺氧沉淀池的底部设置有加热器,所述缺氧沉淀池和所述曝气池之间通过第一输水管道导通,所述第一输水管道上设置有第一输水泵,所述曝气池内设置有MBR曝气膜组和曝气管,所述曝气管连接有鼓风机,所述曝气池和所述消毒除臭池之间通过第二输水管道导通,所述第二输水管道上设置有第二输水泵,所述消毒除臭池的上部设置有加药器、二氧化氯消毒器和等离子除臭装置,所述消毒除臭池的底部设置有回收出水口。
进一步的,所述缺氧沉淀池和所述曝气池之间还连通有污泥回流管道,所述曝气池内设置有与所述污泥回流管道连通的污泥回流泵。
进一步的,所述回收出水口设置有活性炭过滤器和反冲洗过滤器,所述活性炭过滤器设置在所述消毒除臭池内部,所述反冲洗过滤器设置在所述消毒除臭池的外部。
进一步的,所述缺氧沉淀池的底部设置有污泥清理口。
相对于现有技术,本实用新型所述的能够消毒除臭的污水处理装置具有以下优势:
污水能够先通过污水进口进入格栅渠,通过格栅拦截掉水中大型悬浮物,再通过污水出口进入到缺氧沉淀池,经过缺氧沉淀池的缺氧沉淀作用,沉淀掉部分污泥,通过污泥清理口进行污泥回收,随后第一输水泵和第一输水管道将污水导入曝气池,曝气池能够利用鼓风机和曝气管为MBR曝气膜组提供氧气,满足好氧微生物所需要的氧量以及污水与活性污泥充分接触的混合条件,沉淀污泥,并能够通过污泥回流泵和污泥回流管道将曝气池内的污泥抽吸回流到缺氧沉淀池内,通过第二输水泵和第二输水管道将曝气池内的污水导入到消毒除臭池内,通过加药器和二氧化氯消毒器进行除臭消毒,等离子除臭装置能够消除消毒除臭池内的臭气体,再通过回收出水口的活性炭过滤器和反冲洗过滤器排出除臭消毒后的回收水。


