申请日2016.05.04
公开(公告)日2016.10.12
IPC分类号E03C1/12; E03C1/122; E03B1/02
摘要
本实用新型公开了一种净水器废水回收利用系统,该系统包括:废水收集部分,用以从居民楼户内收集净水器废水;储存净化部分,用以储存和净化从所述废水收集部分得到的净水器废水;以及回收水再利用部分,用以对净水器废水进行再利用;所述废水收集部分、储存净化部分和回收水再利用部分依次连通。该系统采用预留在居民楼内的回收管路收集净水器的废水,并将废水储存在居民楼户外的储水装置中,随后通过供水泵向中水管网、消防水箱、洗车房、绿化管网等各种用水系统供水。本实用新型的废水净化系统结构简单、成本低廉,且不占用居民室内空间;该废水收集系统可以回收净水器的全部废水并分质再利用,提高了净水器废水的利用率,达到节约用水的效果。
权利要求书
1.一种净水器废水回收利用系统,其特征在于,该系统包括:
废水收集部分,用以从居民楼户内收集净水器废水;
储存净化部分,用以储存和净化从所述废水收集部分得到的净水器废水;以及
回收水再利用部分,用以对净水器废水进行再利用;
所述废水收集部分、储存净化部分和回收水再利用部分依次连通。
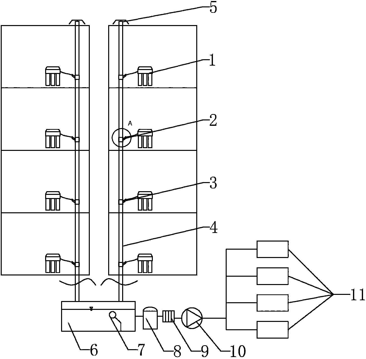
2.根据权利要求1所述的系统,其特征在于,所述废水收集部分包括设置于居民楼户内的废水接口(3)和连接于所述废水接口(3)的回收管路(4),所述废水接口(3)用于与居民楼户内的净水器(1)连通。
3.根据权利要求2所述的系统,其特征在于,所述废水接口(3)上设有逆止阀(2)。
4.根据权利要求2或3所述的系统,其特征在于,所述回收管路(4)包括沿所述居民楼的高度方向延伸的主管路,以及从该主管路向各居民户内延伸的分支管路,所述废水接口(3)设置在所述分支管路的末端,所述主管路的顶端设有通气装置(5)。
5.根据权利要求1所述的系统,其特征在于,所述储存净化部分包括与所述废水收集部分连通的储水装置(6)。
6.根据权利要求5所述的系统,其特征在于,所述储存净化部分还包括与所述储水装置(6)连接的净化装置。
7.根据权利要求6所述的系统,其特征在于,所述净化装置为过滤装置(8)和/或消毒装置(9)。
8.根据权利要求1所述的系统,其特征在于,所述回收再利用部分包括供水泵(10)和与该供水泵(10)连通的多个再利用水箱(11),所述多个再利用水箱(11)分别用作中水储水箱、消防水箱、绿化水箱和洗车水箱中的一种或几种。
9.根据权利要求8所述的系统,其特征在于,所述储存净化部分包括与所述废水收集部分连通的储水装置(6),所述供水泵(10)连接在该储水装置(6)的下游,并且所述储水装置(6)中设有液位控制装置(7)用以控制所述供水泵(10)的开启和关闭。
10.根据权利要求1所述的系统,其特征在于,所述废水收集装置设置在所述居民楼内,所述储存净化部分和回收再利用部分设置于居民户外的公共空间。
说明书
一种净水器废水回收利用系统
技术领域
本实用新型涉及节水技术领域,具体地,涉及一种净水器废水回收利用系统。
背景技术
随着各地水污染事件的频繁发生及人们对饮用水质的要求的提高,居民用净水器逐渐成为普及商品。目前常用的净水器按照过滤级别主要分为超滤净水器、纳滤净水器、反渗透净水器等种类,其中使用范围最广的为反渗透型净水器。但该净水器存在废水量过多的缺陷,采用该净水器制备1L纯净水需要排放约3L浓水。市场数据显示,全国在用的居民用净水机1500万台、商用机500万台计算,每年浪费自来水约10亿吨。这在我国水资源缺乏形势极为严峻的现实中,是很难被接受的。
由于净水器采用自来水作为净水原料,净水器排出的冲洗水及浓水依然比较清澈,除盐离子、COD、氨氮、浊度略微升高外,消毒后完全可以满足居民用中水、消防用水、绿化用水、洗车用水等分质供水要求,所以急需一种有效地回收利用净水器废水的手段。现有的净水器废水回收利用方法主要通过在室内设置水箱储存废水作为家庭中水使用。但是这种方法大量占用室内空间,难以获得消费者认可。
实用新型内容
本实用新型的目的是提供一种净水器废水回收利用系统,该系统可以解决现有技术中缺乏回收利用净水器废水的有效方法的问题。
为了实现上述目的,本实用新型提供一种净水器废水回收利用系统,该系统包括:
废水收集部分,用以从居民楼户内收集净水器废水;
储存净化部分,用以储存和净化从所述废水收集部分得到的净水器废水;以及
回收水再利用部分,用以对净水器废水进行再利用;
所述废水收集部分、储存净化部分和回收水再利用部分依次连通。
可选地,所述废水收集部分包括设置于居民楼户内的废水接口和连接于所述废水接口的回收管路,所述废水接口用于与居民楼户内的净水器连通。
可选地,所述废水接口上设有逆止阀。
可选地,所述回收管路包括沿所述居民楼的高度方向延伸的主管路,以及从该主管路向各居民户内延伸的分支管路,所述废水接口设置在所述分支管路的末端,所述主管路的顶端设有通气装置。
可选地,所述储存净化部分包括与所述废水收集部分连通的储水装置。
可选地,所述储存净化部分还包括与所述储水装置连接的净化装置。
可选地,所述净化装置为过滤装置和/或消毒装置。
可选地,所述回收再利用部分包括供水泵和与该供水泵连通的多个再利用水箱,所述多个再利用水箱分别用作中水储水箱、消防水箱、绿化水箱和洗车水箱中的一种或几种。
可选地,所述储存净化部分包括与所述废水收集部分连通的储水装置,所述供水泵连接在该储水装置的下游,并且所述储水装置中设有液位控制装置用以控制所述供水泵的开启和关闭。
可选地,所述废水收集装置设置在所述居民楼内,所述储存净化部分和回收再利用部分设置于居民户外的公共空间。
通过上述技术方案,采用预留在居民楼内的回收管路收集净水器的废水,并将废水储存在居民楼户外的储水装置中,随后通过供水泵向中水管网、消防水箱、洗车房、绿化管网等各种用水系统供水。本实用新型的废水净化系统结构简单、成本低廉,且不占用居民室内空间;该废水收集系统可以回收净水器的全部废水并分质再利用,提高了净水器废水的利用率,达到节约用水的效果。
本实用新型的其他特征和优点将在随后的具体实施方式部分予以详细说明。



