申请日2016.05.04
公开(公告)日2016.10.05
IPC分类号C02F9/04
摘要
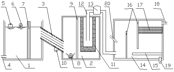
本实用新型提供了一种工业废水净化系统,包括预处理池、沉淀池和混凝沉淀池,所述预处理池上部与沉淀池下部通过斜管连通,所述预处理池底部设置有进水口,进水口上部设置有捞渣器,所述预处理池中部设置有过滤层,所述预处理池上部设置有气浮机,所述沉淀池底部设置有排污泵,所述沉淀池上部设置有出水管,所述出水管连通混凝沉淀池,所述出水管上设置有加压水泵,所述混凝沉淀池上部设置有溢流管,所述混凝沉淀池底部设置有排渣管。本实用新型可适应不同废水物质的净化处理,能够实现油水分离、污泥的沉淀,以及金属离子和悬浮杂质的去除,能够对废水有效治理,防止废水污染,并且可24小时连续工作,运行稳定可靠,具有良好的市场推广价值。
权利要求书
1.一种工业废水净化系统,包括预处理池和沉淀池,其特征在于:所述预处理池上部与沉淀池下部通过斜管连通,所述预处理池底部设置有进水口,所述进水口上部设置有捞渣器,所述预处理池中部设置有过滤层,所述预处理池上部设置有气浮机,所述沉淀池底部设置有排污泵,所述沉淀池内竖直设置有穿流墙,所述穿流墙上设置有溢流孔,所述穿流墙的一侧为沉积区,所述穿流墙另一侧为净化区,所述净化区上部设置有出水管,所述出水管连通混凝沉淀池,所述出水管上设置有加压水泵,所述混凝沉淀池上部设置有溢流管,所述混凝沉淀池底部设置有排渣管。
2.如权利要求1所述的一种工业废水净化系统,其特征在于:所述斜管在靠近沉淀池的一端设置有振动器。
3.如权利要求1所述的一种工业废水净化系统,其特征在于:净化区内设置有磁性海泡石滤层。
4.如权利要求3所述的一种工业废水净化系统,其特征在于:所述磁性海泡石滤层为筒型结构,所述出水管伸到筒型结构空间内部。
5.如权利要求1所述的一种工业废水净化系统,其特征在于:所述混凝沉淀池与出水管连接一侧竖直设置有整流板。
6.如权利要求5所述的一种工业废水净化系统,其特征在于:所述整流板内侧设置有石英砂滤层。
7.如权利要求6所述的一种工业废水净化系统,其特征在于:所述石英砂滤层下部设置有沉淀板。
说明书
一种工业废水净化系统
技术领域
本实用新型涉及一种工业废水净化系统,属于污水处理领域。
背景技术
机械加工各种金属制品所排出的废液和冲洗废水,还含有各种金属离子如铬、锌以及氰化物等,他们都是剧毒性的。尤其是电镀废水的涉及面很广,且污染性大,是重点控制的工业废水之一,与此同时大型工厂产品的种类多,产生的废水的种类也很繁杂,但工厂通常只具备一套废水处理装置,对废水进行简单的过滤或消毒后就直接排放,造成了极大地环境污染,因此需要一种能够有效处理多种工业废水的环保装置,以减少此类大型工厂的环境污染。
实用新型内容
为了解决以上问题,本实用新型提供了一种工业废水净化系统。
本实用新型的技术方案如下:一种工业废水净化系统,包括预处理池和沉淀池,所述预处理池上部与沉淀池下部通过斜管连通,所述预处理池底部设置有进水口,所述进水口上部设置有捞渣器,所述预处理池中部设置有过滤层,所述预处理池上部设置有气浮机,所述沉淀池底部设置有排污泵,所述沉淀池内竖直设置有穿流墙,所述穿流墙上设置有溢流孔,所述穿流墙的一侧为沉积区,所述穿流墙另一侧为净化区,所述净化区上部设置有出水管,所述出水管连通混凝沉淀池,所述出水管上设置有加压水泵,所述混凝沉淀池上部设置有溢流管,所述混凝沉淀池底部设置有排渣管。
本实用新型技术方案还包括:所述斜管在靠近沉淀池的一端设置有振动器。振动器使得沉淀的泥渣沿斜管滑落至沉淀池池底,集中收集进行排污。
本实用新型技术方案还包括:净化区内设置有磁性海泡石滤层。利用磁性海泡石作为吸附剂,通过与水体中的重金属离子进行交换反应及吸附作用去除水体中的溶解性污染物,吸附剂可重生,滤料无流失,投入成本低。
本实用新型技术方案还包括:所述磁性海泡石滤层为筒型结构,所述出水管伸到筒型结构空间内部。通过加压水泵增加水体流动,使水体在磁性海泡石滤层外形成旋转涡流,使水中重金属离子及溶解性污染物与磁性海泡石充分反应及吸附,提高处理效率。
本实用新型技术方案还包括:所述混凝沉淀池与出水管连接一侧竖直设置有整流板,整流板来实现控制水的流态使得水在反应池中的剪切力从大到小,使脱稳胶体形成致密的污泥矾花,从而实现对絮凝合理控制,加入混凝剂后,反应时间短,混凝沉淀池出水水质好且出水稳定。
本实用新型技术方案还包括:所述整流板内侧设置有石英砂滤层,通过石英砂滤层进行二次过滤,获得更干净的水质。
本实用新型技术方案还包括:所述石英砂滤层下部设置有沉淀板,方便集中收集沉淀物。
本实用新型的有益效果为:本实用新型提供了多级工业废水净化系统,本实用新型技术方案,净化程度高能够有效处理多种污水,所述进水口上部设有捞渣器,捞渣器打捞废水中的悬浮物,所述沉淀池上部设有气浮机,气浮机实现油水分离;所述预处理池和沉淀池通过斜管连接,使得废水中悬浮杂质进行沉淀,泥渣在自身重力的作用下沿斜管滑落至沉淀池底,再集中收集;所述沉淀池底部设有排污泵,排污泵将集中的沉淀物排出,回收利用;所述混凝沉淀池能够通过向水中投加一些药剂(通常称为混凝剂及助凝剂),使水中难以沉淀的颗粒能互相聚合而形成胶体,然后与水体中的杂质结合形成更大的絮凝体。絮凝体具有强大吸附力,不仅能吸附悬浮物,还能吸附部分细菌和溶解性物质。本实用新型可适应不同废水物质的净化处理,能够实现油水分离、污泥的沉淀,以及金属离子和悬浮杂质的去除,能够对废水有效治理,防止废水污染,并且可24小时连续工作,运行稳定可靠,具有良好的市场推广价值。



