申请日2015.07.22
公开(公告)日2016.01.27
IPC分类号C02F11/12; C02F11/00
摘要
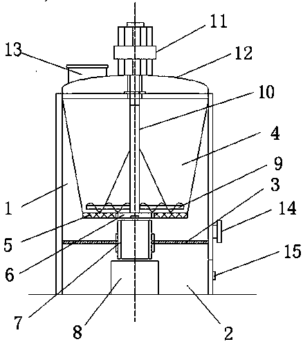
本实用新型公开了一种收料方便的污泥脱水装置,其为圆柱形的壳体,壳体内设有隔板将壳体分隔成分离层和收料层,分离层内设有旋转分离斗,旋转分离斗的顶部通过圆环形的传动轴连接在传动电机上,旋转分离斗内设有固定轴固定连接在密封盖上,固定轴的底部设有切割桨叶,所述的旋转分离斗的底部设有圆环形的滤水筛网,滤水筛网的中部设有排泥口,排泥口上设有密封翻盖,隔板的中部设有可滑动的引料管;本实用新型通过固定轴与旋转分离斗的组合作用,解决了污泥在离心分离过程中堵塞筛网孔的问题,装置在重力和离心力的作用下,旋转分离斗中多余的物料可以全部排出,在分离操作完成后,通过分离层和引料管分别收集污水和污泥,方便装置后续的清理工作。
权利要求书
1.一种收料方便的污泥脱水装置,所述的污泥脱水装置为圆柱形的壳体,壳体顶部设有密封盖和传动电机,密封盖上设有进料口,其特征在于,壳体内设有隔板将壳体分隔成分离层和收料层,所述的分离层内设有旋转分离斗,旋转分离斗的顶部通过圆环形的传动轴连接在传动电机上,所述的旋转分离斗内设有固定轴固定连接在密封盖上,固定轴的底部设有切割桨叶,所述的旋转分离斗的底部设有圆环形的滤水筛网,滤水筛网的中部设有排泥口,排泥口上设有密封翻盖,隔板的中部设有可滑动的引料管,所述的引料管的下方设有污泥收集槽。
2.根据权利要求1所述的收料方便的污泥脱水装置,其特征在于,所述的引料管通过传动气缸活动连接在隔板上,所述滑动引料管的直径与排泥口直径相同。
3.根据权利要求1所述的收料方便的污泥脱水装置,其特征在于,所述切割桨叶上设有垂直桨叶固定连接在固定轴上,所述的切割桨叶的安装在滤水筛网上方5~10cm处。
4.根据权利要求1所述的收料方便的污泥脱水装置,其特征在于,所述的密封翻盖上设有电气控制开关,所述电气控制开关的控制电源设置在引料管上。
5.根据权利要求1所述的收料方便的污泥脱水装置,其特征在于,所述的分离层的底部设有污水排水口,所述的收料层的底部设有人工操作口。
说明书
收料方便的污泥脱水装置
技术领域
本实用新型涉及污泥回收工艺的辅助设备领域,尤其涉及一种收料方便的污泥脱水装置。
背景技术
污泥的回收工艺包括多步操作工艺,其中污泥脱水工艺是将污泥中部分污水除去,方便下一步的干燥或者堆肥操作,这两步工艺操作中,原料污泥的含水量不能太高,在干燥操作中,过多的污水意味着需要耗费过多的能量,而堆肥操作过程中,过多的污水不利于微生物的生长,因此脱水工艺为污泥回收工艺中比较重要的一环。
普通的离心脱水装置通过离心的原理分离污水和污泥,但是在实际操作过程中,由于污泥本身的粘性较大,在离心过程中容易富集在离心筛网上,进而堵塞筛网孔,影响装置的脱水效率;同时在离心操作完成后,很难将离心分离装置内的污泥全部清空,多余污泥容易残留离心分离的筛网上,清理起来很不方便,费时费力。
实用新型内容
针对上述存在的问题,本实用新型目的在于提供一种分离效率高,收料方便,易于清理的污泥脱水装置。
为了达到上述目的,本实用新型采用的技术方案如下:一种收料方便的污泥脱水装置,所述的污泥脱水装置为圆柱形的壳体,壳体顶部设有密封盖和传动电机,密封盖上设有进料口,壳体内设有隔板将壳体分隔成分离层和收料层,所述的分离层内设有旋转分离斗,旋转分离斗的顶部通过圆环形的传动轴连接在传动电机上,所述的旋转分离斗内设有固定轴固定连接在密封盖上,固定轴的底部设有切割桨叶,所述的旋转分离斗的底部设有圆环形的滤水筛网,滤水筛网的中部设有排泥口,排泥口上设有密封翻盖,隔板的中部设有可滑动的引料管,所述的引料管的下方设有污泥收集槽。
作为本实用新型的一种改进,所述的引料管通过传动气缸活动连接在隔板上,所述滑动引料管的直径与排泥口直径相同;引料管的主要作用是将旋转分离斗中脱水后的污泥排入污泥收集槽,通过传动气缸实现自动化控制,操作简单方便。
作为本实用新型的一种改进,所述切割桨叶上设有垂直桨叶固定连接在固定轴上,所述的切割桨叶的安装在滤水筛网上方5~10cm处;切割桨叶相对于旋转分离斗是静止的,其主要作用是用于搅动污泥,防止污泥堵塞滤水筛网的筛孔,因此其与滤水筛网之间的间距不宜过大。
作为本实用新型的一种改进,所述的密封翻盖上设有电气控制开关,所述电气控制开关的控制电源设置在引料管上;通过电气控制开关控制密封翻盖的开关,实现了装置排料的自动化,同时通过引料管上的电源对其供电,因此只有在排料操作过程中,将引料管与排泥口对接,密封翻盖才能进行打开操作,保证了装置的稳定性,防止因为电气故障导致密封翻盖提前打开的情况。
作为本实用新型的一种改进,所述的分离层的底部设有污水排水口,所述的收料层的底部设有人工操作口;通过污水排水口排出隔板上分离的污水,污水和污泥通过不同的方式进行收集,收料方便,通过人工操作口方便操作人员进入装置内部,方便检修。
本实用新型的优点在于:本实用新型的旋转分离斗的滤水筛网设置在底部,同时通过固定轴与旋转分离斗的组合作用,解决了污泥在离心分离过程中堵塞筛网孔的问题;同时在分离操作完成后,通过分离层和引料管分别收集污水和污泥,操作简单方便,在重力和离心力的作用下,旋转分离斗中多余的物料可以全部排出,方便装置后续的清理工作,大大提高了装置的生产和维护成本,实用效果好。







