申请日2015.08.19
公开(公告)日2015.12.09
IPC分类号C02F3/28
摘要
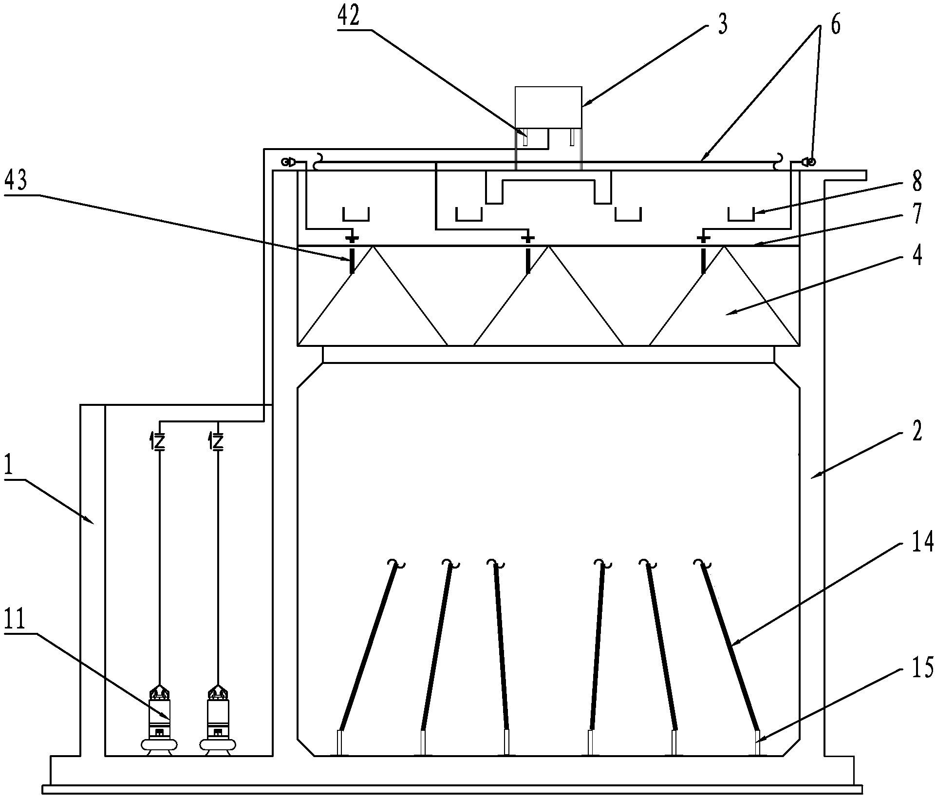
本实用新型属于废水处理技术领域,目的是提供一种耐冲击力大、池容小、能精确控制废水上升流速、处理效果好的自循环上流式厌氧污泥床系统,包括调节池、厌氧反应池、三相分离器、布水器、集水槽,布水器安装在厌氧反应池顶部,调节池内安装提升泵,提升泵经进水管与布水器连通,进水管上安装总流量计,布水器的布水管与输送管道连接,厌氧反应池内上部安装多个三相分离器,三相分离器的排气孔经管道与废气主管道连通,厌氧反应池的两侧壁之间设置多条溢流堰,厌氧反应池外侧壁上设置集水槽,溢流堰的一端与集水槽相通,集水槽内安装循环水泵,循环水泵经循环管路与布水器的进水口连通,循环管路上安装循环流量计,集水槽的底部设置排水口。
权利要求书
1.一种自循环上流式厌氧污泥床系统,包括调节池、厌氧反应池、三相分离器,其特 征在于:还包括布水器、集水槽,布水器安装在厌氧反应池顶部,调节池内安装提升泵,提 升泵经进水管与布水器的进水口连通,进水管上安装总流量计,布水器的布水管与输送管道 连接,输送管道的另一端与厌氧反应池底部固定连接,厌氧反应池内上部均匀安装多个三相 分离器,三相分离器的排气孔经管道与废气主管道连通,厌氧反应池的两侧壁之间在三相分 离器的上方均匀设置多条溢流堰,厌氧反应池外侧壁上设置集水槽,溢流堰的一端与集水槽 相通,集水槽内安装循环水泵,循环水泵经循环管路与布水器的进水口连通,循环管路上安 装循环流量计,集水槽的底部设置排水口。
2.根据权利要求1所述的自循环上流式厌氧污泥床系统,其特征在于:所述布水器包括 布水槽,布水槽内底部固定第一、第二隔板,第一、第二隔板的高度相等且低于布水槽侧壁 的高度,第一、第二隔板将布水槽内分隔成中部进水区、第一、第二布水区,所述进水口设 置在中部进水区的一端侧壁上,所述布水管均匀设置在第一、第二布水区的底部,中部进水 区另一端的底部设置放空管,放空管经排放管道与厌氧反应池连通,排放管道上串联阀门。
3.根据权利要求2所述的自循环上流式厌氧污泥床系统,其特征在于:所述布水器还包 括支架,支架由槽钢焊接而成,布水槽固定在支架上。
4.根据权利要求3所述的自循环上流式厌氧污泥床系统,其特征在于:所述第一、第二 隔板的顶部设置多个布水堰口,布水堰口的纵切面为倒三角形。
5.根据权利要求1-4任一项所述的自循环上流式厌氧污泥床系统,其特征在于:所述厌 氧反应池的两侧壁之间安装槽钢,槽钢压在三相分离器的顶部。
6.根据权利要求1-4任一项所述的自循环上流式厌氧污泥床系统,其特征在于:所述厌 氧反应池内底部通过预埋铁均匀焊接多根角铁,所述输送管道的另一端通过不锈钢螺栓与角 铁固定连接。
7.根据权利要求1-4任一项所述的自循环上流式厌氧污泥床系统,其特征在于:所述提 升泵、循环水泵均采用变频水泵。
8.根据权利要求1-4任一项所述的自循环上流式厌氧污泥床系统,其特征在于:所述输 送管道采用PE软管。
说明书
自循环上流式厌氧污泥床系统
技术领域
本实用新型属于废水处理技术领域,特别是涉及一种自循环上流式厌氧污泥床系统。
背景技术
如图1所示,传统升流式厌氧污泥床UASB(Up-flowAnaerobicSludgeBed,注:以下 简称UASB),主要包括反应器1a、污泥床2a、悬浮污泥床3a,反应器底部设置进水管5a, 顶部设置出水管6a,沉行过程中,废水一般以0.5~1.5m/h的上升流速自反应器1a的底部 依次流经污泥床2a、悬浮污泥床3a至三相分离器4a和沉淀区。UASB的水力流型呈推流式, 进水与污泥床及悬浮污泥床中的微生物充分混合接触并进行厌氧分解。厌氧分解过程中产生 的沼气在上升过程中将污泥颗粒托起,由于大量气泡的产生,即使在较低的有机及水力负荷 条件下,污泥床也发生明显的搅拌作用,微小的沼气气泡在上升过程中相互结合而逐渐变成 较大的气泡,将颗粒污泥向反应器的上部顶托,最后由于气泡的破裂,绝大部分颗粒污泥又 返回到污泥床区,变得日益剧烈,从而降低了污泥中夹带气泡的阻力,气体便从污泥中突发 性的逸出,引起污泥床表面呈沸腾或流化状态。反应器中沉淀性能较差的絮体状污泥则在气 体的搅拌作用下,在反应器上部形成污泥悬浮层,沉淀性能较好的颗粒状污泥则处于反应器 的下部形成高浓度的污泥床。随着水流的上升流动,气、水、泥三相混合液(消化液)上升 至三相分离器4a中,气体遇到反射板或挡板后折向集气室而被有效的分离排出;污泥和水进 入上部的沉淀区,在重力的作用下泥水发生分离。
由于三相分离器的作用,使得反应器混合液中的污泥有一个良好的沉淀、分离和再絮凝 的环境,有利于提高污泥的沉降性能。在一定的水力负荷条件下,绝大部分污泥能保持很高 的污泥龄,使得反应器中有足够的污泥量。
UASB的主要优点是:
1、UASB内污泥浓度高,平均污泥浓度为20-40gVSS/L;
2、有机负荷高,水力停留时间长,采用中温发酵时,容积负荷一般为10kgCOD/m3.d左 右;
3、无混合搅拌设备,靠发酵过程中产生的沼气的上升运动,使污泥床上部的污泥处于悬 浮状态,对下部的污泥层也有一定程度的搅动;
4、污泥床不填载体,节省造价及避免因填料发生堵赛问题;
5、UASB内设三相分离器,通常不设沉淀池,被沉淀区分离出来的污泥重新回到污泥床 反应区内,通常可以不设污泥回流设备。
UASB的主要缺点是:
1、对水质和负荷突然变化较敏感,耐冲击力稍差;
2、传统UASB工艺处理高难度有机工业废水,停留时间长达十几天,容积过大;
3、对于废水在UASB池内的上升流速难以精准控制。
实用新型内容
本实用新型要解决的技术问题是提供一种耐冲击力大、池容小、能精确控制废水上升流 速、处理效果好的自循环上流式厌氧污泥床系统。
为解决上述技术问题,本实用新型采用如下技术方案:
一种自循环上流式厌氧污泥床系统,包括调节池、厌氧反应池、三相分离器、布水器、 集水槽,布水器安装在厌氧反应池顶部,调节池内安装提升泵,提升泵经进水管与布水器的 进水口连通,进水管上安装总流量计,布水器的布水管与输送管道连接,输送管道的另一端 与厌氧反应池底部固定连接,厌氧反应池内上部均匀安装多个三相分离器,三相分离器的排 气孔经管道与废气主管道连通,厌氧反应池的两侧壁之间在三相分离器的上方均匀设置多条 溢流堰,厌氧反应池外侧壁上设置集水槽,溢流堰的一端与集水槽相通,集水槽内安装循环 水泵,循环水泵经循环管路与布水器的进水口连通,循环管路上安装循环流量计,集水槽的 底部设置排水口。
本实用新型自循环上流式厌氧污泥床系统,进一步的,所述布水器包括布水槽,布水槽 内底部固定第一、第二隔板,第一、第二隔板的高度相等且低于布水槽侧壁的高度,第一、 第二隔板将布水槽内分隔成中部进水区、第一、第二布水区,所述进水口设置在中部进水区 的一端侧壁上,所述布水管均匀设置在第一、第二布水区的底部,中部进水区另一端的底部 设置放空管,放空管经排放管道与厌氧反应池连通,排放管道上串联阀门。
本实用新型自循环上流式厌氧污泥床系统,进一步的,所述布水器还包括支架,支架由 槽钢焊接而成,布水槽固定在支架上。
本实用新型自循环上流式厌氧污泥床系统,进一步的,所述第一、第二隔板的顶部设置 多个布水堰口,布水堰口的纵切面为倒三角形。
本实用新型自循环上流式厌氧污泥床系统,进一步的,所述厌氧反应池的两侧壁之间安 装槽钢,槽钢压在三相分离器的顶部。
本实用新型自循环上流式厌氧污泥床系统,进一步的,所述厌氧反应池内底部通过预埋 铁均匀焊接多根角铁,所述输送管道的另一端通过不锈钢螺栓与角铁固定连接。
本实用新型自循环上流式厌氧污泥床系统,优选地,所述提升泵、循环水泵均采用变频 水泵。
本实用新型自循环上流式厌氧污泥床系统,优选地,所述输送管道采用PE软管。
本实用新型自循环上流式厌氧污泥床系统与现有技术相比,具有以下有益效果:
1、由于工业废水处理时间长,反应时间慢,利用循环水泵使整个系统按照“布水器→厌 氧反应池→集水槽→布水器”进行内部循环,增加废水的处理时间和反应时间,提高有机工 业废水在同等容积厌氧反应池的停留时间,在处理同等水量的高难度有机工业废水时具有池 容小,停留时间长的特点,使废水处理效果更好;且由于自身内部自动循环,水质能过稳定 控制,耐冲击力大;
2、总流量计与循环流量计共同提供废水进入布水器内的流量和流速,从而可精确计算厌 氧反应池内的上升流速,同时提升水泵、循环水泵均为变频水泵,可精确控制进入厌氧反应 池内的废水流量和流速,控制废水在厌氧反应池内的上升流速,使得废水在厌氧阶段能更好 的处理。







