申请日2015.07.21
公开(公告)日2015.10.28
IPC分类号C02F3/30
摘要
本发明公开了一种基于填料和折叠板的废水生物膜反应器,包括进水池、布水槽、供废水流经的重力导流装置、循环水池、沉淀池、用于支撑所述布水槽和重力导流装置的支架,所述布水槽通过管道及进水泵连接进水池,所述重力导流装置设置于布水槽下方,包括在竖直方向上相隔一定间距层叠排布且各自倾斜一定角度的若干折叠板,相邻两块折叠板的倾斜方向相反,所述折叠板的上表面粘结有生物亲和性填料,所述循环水池通过管道和循环泵连接布水槽,同时还通过连接管连接沉淀池,本发明折叠板上的水层较薄有利于废水中的有机物充分与生物膜接触及空气中的氧溶解入废水层,折叠板落差使废水充分与空气接触,有利于氧溶解于废水中,体积小成本低。
权利要求书
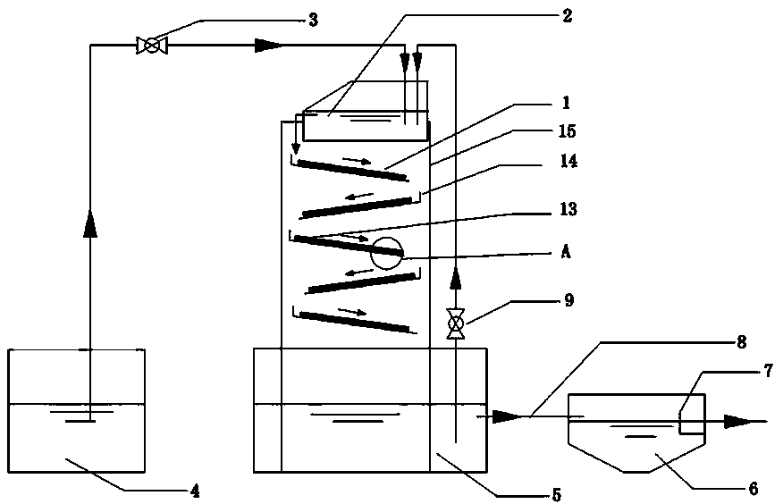
1.一种基于填料和折叠板的废水生物膜反应器,其特征在于:包括进水池(4)、布水槽(2)、供废水流经的重力导流装置、循环水池(5)、沉淀池(6)、用于支撑所述布水槽(2)和重力导流装置的支架(15),所述布水槽(2)通过管道及进水泵(3)连接进水池(4),布水槽(2)出水口处设置有齿状溢流槽,所述重力导流装置设置于布水槽(2)下方,包括在竖直方向上相隔一定间距层叠排布且各自倾斜一定角度的若干折叠板(1),相邻两块折叠板(1)的倾斜方向相反,所述折叠板(1)的上表面粘结有生物亲和性填料(13),布水槽(2)内的废水沿所述折叠板(1)由上向下呈折线形逐板流过落入位于重力导流装置下方的循环水池(5)内,所述循环水池(5)通过管道和循环泵(9)连接布水槽(2),同时还通过具有闸阀的连接管(8)连接带有出水口的沉淀池(6)。
2.根据权利要求1所述的基于填料和折叠板的废水生物膜反应器,其特征在于:所述生物亲和性填料(13)为多空介质材料、丝状介质材料或两者的混合物。
3.根据权利要求2所述的基于填料和折叠板的废水生物膜反应器,其特征在于:所述多孔介质材料为海绵、活性炭、多孔陶瓷或火山石。
4.根据权利要求2所述的基于填料和折叠板的废水生物膜反应器,其特征在于:所述丝状介质材料为棉纱或高分子聚酯纤维丝。
5.根据权利要求1所述的基于填料和折叠板的废水生物膜反应器,其特征在于:所述的折叠板(1)的倾斜角度为1~45度。
6.根据权利要求1所述的基于填料和折叠板的废水生物膜反应器,其特征在于:在每块所述折叠板(1)入水端垂直向上地设置有防止废水外溢的档水板(15),所述档水板(15)。
7.根据权利要求6所述的基于填料和折叠板的废水生物膜反应器,其特征在于:所述挡水板(15)垂直高度为单块所述折叠板(1)倾斜高度的1/10~1/2。
8.根据权利要求1所述的基于填料和折叠板的废水生物膜反应器,其特征在于:相邻两块所述折叠板(1)中,处于上层的所述折叠板(1)的出水端与下一层所述折叠板(1)的入水端的水平距离为单块所述折叠板(1)长度的1/20~1/5。
9.根基权利要求1所述的基于填料和折叠板的废水生物膜反应器,其特征在于:相邻两块所述折叠板(1),处于上层的所述折叠板(1)的出水端与处于下层的所述折叠板(1)的入水端的垂直距离为所述两块所述折叠板(1)最大垂直间距的1/10~1。
10.根基权利要求1所述的基于填料和折叠板的废水生物膜反应器,其特征在于:所述沉淀池(6)内相邻出水口处设置有出水堰(7)。
说明书
一种基于填料和折叠板的废水生物膜反应器
技术领域
本发明涉及一种基于填料和折叠板的废水生物膜反应器,属于水源水、废水或污水处理的技术领域。
背景技术
现行通用的废水生物降解方法有很多种,按照是否需要供氧可以分为厌氧生物处理法和需氧生物处理法。
1)、厌氧生物处理法:这种方法是在厌氧细菌或兼性细菌的作用下将废水中的有机物分解,最终产生甲烷、二氧化碳和水等物质的反应过程,适用于处理高浓度的有机废水。由于厌氧细菌或兼性细菌生长周期较长,往往造成厌氧反应器的启动期长,厌氧反应器需要较大的占地面积,建设费用较高等。
2)、需氧生物处理法:利用需氧微生物在有氧条件下将废水中复杂的有机物分解或吸附的方法。其不足之处表现在:① 土建与设备投资很大;②由于受碳源及溶氧浓度控制的限制,生物脱氮能力不足;③运行时需要曝气,能耗较大;④活性污泥法,还会产生大量的剩余污泥。
发明内容
本发明所要解决的问题在于针对上述现有技术设备的不足,发明一种基于填料和折叠板的废水生物膜反应器,它能将废水厌氧处理、好氧处理、生物脱氮有机结合到一个反应器中,占地面积小,节省土建投资;由于只使用水泵提升至布水槽后,废水靠重力在折叠板之间自流,充分的与空气接触,不需要安装曝气装置,达到良好的溶氧效果,减少了设备投资,降低了运行、维护成本;由于采用的是生物膜法,各类微生物固着在载体上,实现了水力停留时间与污泥停留时间的分离,从源头上减少了剩余污泥量。在折叠板上,溶解氧浓度沿着生物膜垂直向下的方向逐步降低,自动的形成了好氧区、缺氧区以及厌氧区,利于硝化与反硝化细菌的生长。厌氧处理分解的部分产物、菌体自溶物为反硝化提供碳源,提高了脱氮效率。
为了实现上述目的本发明采用如下技术方案:
一种基于填料和折叠板的废水生物膜反应器,包括进水池、布水槽、供废水流经的重力导流装置、循环水池、沉淀池、用于支撑所述布水槽和重力导流装置的支架,所述布水槽通过管道及进水泵连接进水池,布水槽出水口处设置有齿状溢流槽,所述重力导流装置设置于布水槽下方,包括在竖直方向上相隔一定间距层叠排布且各自倾斜一定角度的若干折叠板,相邻两块折叠板的倾斜方向相反,所述折叠板的上表面粘结有生物亲和性填料,布水槽内的废水沿所述折叠板由上向下呈折线形逐板流过落入位于重力导流装置下方的循环水池内,所述循环水池通过管道和循环泵连接布水槽,同时还通过具有闸阀的连接管连接带有出水口的沉淀池。
进一步地,所述生物亲和性填料为多空介质材料、丝状介质材料或两者的混合物。
进一步地,所述多孔介质材料为海绵、活性炭、多孔陶瓷、火山石。
进一步地,所述丝状介质材料为棉纱、高分子聚酯纤维丝。
进一步地,所述的折叠板的倾斜角度为1~45度。
进一步地,在每块所述折叠板入水端垂直向上地设置有防止废水外溢的档水板,所述档水板。
进一步地,所述挡水板垂直高度为单块所述折叠板倾斜高度的1/10~1/2。
进一步地,相邻两块所述折叠板中,处于上层的所述折叠板的出水端与下一层所述折叠板的入水端的水平距离为单块所述折叠板长度的1/20~1/5。
进一步地,相邻两块所述折叠板,处于上层的所述折叠板的出水端与处于下层的所述折叠板的入水端的垂直距离为所述两块所述折叠板最大垂直间距的1/10~1。
进一步地,所述沉淀池内相邻出水口处设置有出水堰。
相比现有技术,本发明的有益效果是:
1. 本发明之中的生物膜反应器,将进水调节池中的废水,经过进水泵进行一次提升,流入布水槽,使废水均匀的跌落在折叠板上,达到均匀布水的目的。
2. 本发明之中的生物膜反应器,折叠板是多级的,水流逐级在折叠板间跌落,废水在流动及跌落过程中会与空气充分接触,实现跌落充氧,因此不需要曝气装置,可以减少总电耗的10%——30%,降低运行成本。
3. 本发明之中的生物膜反应器,折叠板向上的平面上粘结生物亲和性填料,能够有效地增加折叠板的比表面积,微生物更稳定的附着于填料上,利于生长周期缓慢的微生物生长,随着填料厚度的增加,溶解氧浓度逐渐降低,一个反应器上形成了好氧区、缺氧区及厌氧区,实现废水的同步硝化反硝化。
4. 本发明之中的生物膜反应器,下部的循环池通过循环泵与上部的布水槽连通,增加了水力停留时间,保证出水水质。
5. 本发明之中的沉淀池,将老化的生物膜沉淀分离,降低出水的中的固体悬浮物含量。







