公布日:2023.10.13
申请日:2023.08.17
分类号:C02F11/02(2006.01)I
摘要
本发明涉及污泥处理技术领域,且公开了一种提高污泥好氧发酵的装置,包括反应装置,所述反应装置包括箱体,所述箱体的前端下侧固定连接有电机,所述电机的输出端固定连接有搅拌轴。该提高污泥好氧发酵的装置及使用方法,通过启动气泵,气泵抽取气体通过进气管进入转接环,再依次通过搅拌轴和搅拌叶,从搅拌叶的凹孔排处进入污泥内,加强底部污泥菌种的氧气环境,启动电机,电机带动搅拌轴转动,搅拌轴带动搅拌叶转动,利用搅拌叶对箱体底端的污泥进行搅拌,避免污泥受重力影响被压实,搅拌叶带动刮片对箱体底端上的污泥进行刮除,避免粘附,从而达到便于增强污泥底部菌种的氧气环境,提高污泥好氧发酵效率的效果。

权利要求书
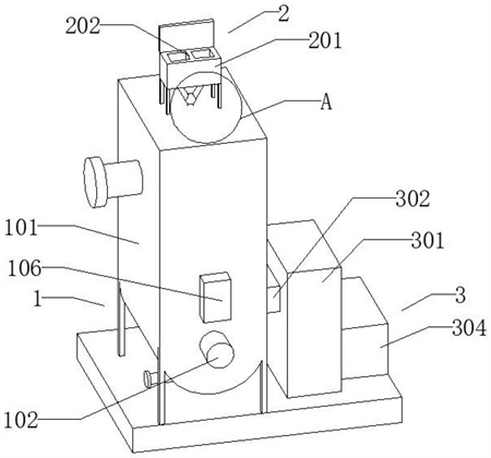
1.一种提高污泥好氧发酵的装置,包括反应装置(1),其特征在于:所述反应装置(1)的上端设有加料装置(2),所述反应装置(1)的底端设有回收装置(3);所述反应装置(1)包括箱体(101),所述箱体(101)的前端下侧固定连接有电机(102),所述电机(102)的输出端固定连接有搅拌轴(103),所述搅拌轴(103)的外表面固定连接有搅拌叶(104),所述搅拌叶(104)的另一端固定连接有刮片(105),所述箱体(101)位于电机(102)的上端固定连接有气泵(106),所述气泵(106)的输出端固定连接有进气管(107),所述进气管(107)的另一端固定连接有转接环(108);所述加料装置(2)包括料盒(201),所述料盒(201)的中部设有挡板(202),所述料盒(201)的下端固定连接有Y形导管(203),所述Y形导管(203)的下端固定连接有旋转接头(204),所述旋转接头(204)的下端转动连接有喷头(205);所述回收装置(3)包括热电转化箱(301),所述热电转化箱(301)的左端固定连接有导热板(302),所述导热板(302)的另一端固定连接有吸热板(303),所述热电转化箱(301)的右端设有蓄电池(304),所述蓄电池(304)与热电转化箱(301)电性连接。
2.根据权利要求1所述的一种提高污泥好氧发酵的装置,其特征在于:所述箱体(101)的下端设为弧形,所述电机(102)的输出端贯穿箱体(101)并延伸至箱体(101)的内侧壁中。
3.根据权利要求1所述的一种提高污泥好氧发酵的装置,其特征在于:所述搅拌轴(103)的两端均与箱体(101)转动连接,所述刮片(105)的外端与箱体(101)的底端内侧壁接触。
4.根据权利要求1所述的一种提高污泥好氧发酵的装置,其特征在于:所述转接环(108)的前端与箱体(101)固定连接,所述转接环(108)套接在搅拌轴(103)上,且所述搅拌轴(103)、搅拌叶(104)与转接环(108)相互贯通。
5.根据权利要求1所述的一种提高污泥好氧发酵的装置,其特征在于:所述搅拌叶(104)的侧边开设有若干个透气孔,所述搅拌叶(104)与搅拌轴(103)的连接处安装有单向阀。
6.根据权利要求1所述的一种提高污泥好氧发酵的装置,其特征在于:所述料盒(201)的上端与箱体(101)固定连接,所述Y形导管(203)贯穿箱体(101)延伸至箱体(101)的内部。
7.根据权利要求1所述的一种提高污泥好氧发酵的装置,其特征在于:所述喷头(205)的下端喷嘴处设为弧形曲线,所述Y形导管(203)上安装有阀体。
8.根据权利要求1所述的一种提高污泥好氧发酵的装置,其特征在于:所述箱体(101)的内侧壁中设有空腔,所述吸热板(303)位于空腔内,所述导热板(302)贯穿箱体(101)的内侧壁并延伸至外端。
9.根据权利要求1所述的一种提高污泥好氧发酵的装置的使用方法,其特征在于:包括以下步骤;S1、将污泥排放到箱体(101)内,同时打开Y形导管(203),使料盒(201)内的添加剂通过Y形导管(203),经旋转接头(204)通过喷头(205)喷出,喷头(205)带动旋转接头(204)转动,将添加剂均匀喷洒在污泥上;S2、启动气泵(106),导入气体进入进气管(107),再通过转接环(108)进入搅拌轴(103),再通过搅拌叶(104)排入污泥中,通过电机(102)对污泥进行搅拌;S3、污泥好氧发酵时产生的余热被吸热板(303)吸收,通过导热板(302)将热量传输到热电转化箱(301)进行热电转化,储存到蓄电池(304)内。
发明内容
本发明的目的在于提供一种提高污泥好氧发酵的装置及使用方法,以解决上述背景技术中提出的现有的污泥好痒装置污泥堆积高度过高,影响通风进行降低好氧发酵效率的问题。
为了解决上述技术问题,本发明提供如下技术方案:一种提高污泥好氧发酵的装置,包括反应装置,所述反应装置的上端设有加料装置,所述反应装置的底端设有回收装置;
所述反应装置包括箱体,所述箱体的前端下侧固定连接有电机,所述电机的输出端固定连接有搅拌轴,所述搅拌轴的外表面固定连接有搅拌叶,所述搅拌叶的另一端固定连接有刮片,所述箱体位于电机的上端固定连接有气泵,所述气泵的输出端固定连接有进气管,所述进气管的另一端固定连接有转接环;
所述加料装置包括料盒,所述料盒的中部设有挡板,所述料盒的下端固定连接有Y形导管,所述Y形导管的下端固定连接有旋转接头,所述旋转接头的下端转动连接有喷头;
所述回收装置包括热电转化箱,所述热电转化箱的左端固定连接有导热板,所述导热板的另一端固定连接有吸热板,所述热电转化箱的右端设有蓄电池,所述蓄电池与热电转化箱电性连接。
优选的,所述箱体的下端设为弧形,所述电机的输出端贯穿箱体并延伸至箱体的内侧壁中。
优选的,所述搅拌轴的两端均与箱体转动连接,所述刮片的外端与箱体的底端内侧壁接触。
优选的,所述转接环的前端与箱体固定连接,所述转接环套接在搅拌轴上,且所述搅拌轴、搅拌叶与转接环相互贯通。
优选的,所述搅拌叶的侧边开设有若干个透气孔,所述搅拌叶与搅拌轴的连接处安装有单向阀。
优选的,所述料盒的上端与箱体固定连接,所述Y形导管贯穿箱体延伸至箱体的内部。
优选的,所述喷头的下端喷嘴处设为弧形曲线,所述Y形导管上安装有阀体。
优选的,所述箱体的内侧壁中设有空腔,所述吸热板位于空腔内,所述导热板贯穿箱体的内侧壁并延伸至外端。
一种提高污泥好氧发酵的装置的使用方法,包括以下步骤;
S1、将污泥排放到箱体内,同时打开Y形导管,使料盒内的添加剂通过Y形导管,经旋转接头通过喷头喷出,喷头带动旋转接头转动,将添加剂均匀喷洒在污泥上;
S2、启动气泵,导入气体进入进气管,再通过转接环进入搅拌轴,再通过搅拌叶排入污泥中,通过电机对污泥进行搅拌;
S3、污泥好氧发酵时产生的余热被吸热板吸收,通过导热板将热量传输到热电转化箱进行热电转化,储存到蓄电池内。
与现有技术相比,本发明所达到的有益效果是:
第一、本发明,通过启动气泵,气泵抽取气体通过进气管进入转接环,再依次通过搅拌轴和搅拌叶,从搅拌叶的凹孔排处进入污泥内,加强底部污泥菌种的氧气环境,启动电机,电机带动搅拌轴转动,搅拌轴带动搅拌叶转动,利用搅拌叶对箱体底端的污泥进行搅拌,避免污泥受重力影响被压实,搅拌叶带动刮片对箱体底端上的污泥进行刮除,避免粘附,从而达到便于增强污泥底部菌种的氧气环境,提高污泥好氧发酵效率的效果。
第二、本发明,通过将污泥排放到箱体内,同时打开Y形导管,使料盒内的添加剂通过Y形导管,经旋转接头通过喷头喷出,喷头带动旋转接头转动,将添加剂均匀喷洒在污泥上,避免污泥与添加剂混合不均的情况,提高污泥好氧发酵的效率。
第三、本发明,通过在污泥好氧发酵时产生的余热被吸热板吸收,再通过导热板进入热电转化箱进行转化,使余热转化为电量,储存进行蓄电池内,从而达到便于余热利用的效果。
(发明人:薛向东;钱洪春;叶金宇;庄海峰;李鑫隆;高源)






