公布日:2024.04.09
申请日:2024.01.25
分类号:C02F3/28(2023.01)I;C02F3/00(2023.01)I
摘要
本发明提供一种厌氧生物膜污水处理装置及方法,装置包括反应器,反应器内设置包括阳极填料层及阴极填料层的填料电极层,阳极填料层及阴极填料层分别电性连接稳压直流电源的正极及负极,稳压直流电源用于在电极启动阶段及填料挂膜阶段为填料电极层持续性供电,且稳压直流电源用于在正常运行阶段为填料电极层间歇性供电。在正常运行阶段间歇性供电,在不影响污水处理效能的同时有效的降低电能损耗,通过获取反应器内的pH值及氧化还原电位值,可规避在正常运行阶段,且未供电时,反应器内产生酸抑制。

权利要求书
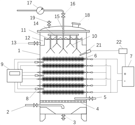
1.一种厌氧生物膜污水处理装置,其特征在于,包括反应器,所述反应器内设置填料电极层,所述填料电极层包括分别与稳压直流电源的负极及正极连接的阴极填料层及阳极填料层,所述稳压直流电源用于在电极启动阶段及填料挂膜阶段为所述填料电极层持续性供电,以于所述填料电极层上生长厌氧生物膜,且所述稳压直流电源用于在正常运行阶段基于所述反应器内的pH值及氧化还原电位值为所述填料电极层间歇性供电,以消除酸抑制。
2.根据权利要求1所述的厌氧生物膜污水处理装置,其特征在于,所述阴极填料层及所述阳极填料层均电性连接电化学监测组件,所述反应器上设置监测探头,所述监测探头通过自动控制器电性连接所述稳压直流电源,所述监测探头用于监测所述反应器内的pH值及氧化还原电位值。
3.根据权利要求1所述的厌氧生物膜污水处理装置,其特征在于,所述反应器内自上而下设置三角出水堰及多孔布水板,以将所述反应器内自上而下分隔为回收区、处理区及引入区,所述三角出水堰与所述反应器的内侧壁之间围合形成位于所述回收区内的集水槽,所述反应器的侧壁连接进水管及出水管,所述进水管连通所述引入区,所述出水管连通所述回收区,所述填料电极层位于所述处理区。
4.根据权利要求1所述的厌氧生物膜污水处理装置,其特征在于,所述阴极填料层包括若干个沿所述反应器的径向间隔均匀分布的填料盘,所述填料盘包括轮毂状骨架及镶嵌于所述轮毂状骨架上的若干个导电毛刷,所述轮毂状骨架相对的两端均设置金属接线端,两所述金属接线端用于分别电性连接所述稳压直流电源及所述电化学监测组件。
5.根据权利要求4所述的厌氧生物膜污水处理装置,其特征在于,所述导电毛刷的直径自所述轮毂状骨架的中心向所述轮毂状骨架的侧缘方向逐渐增加。
6.根据权利要求4所述的厌氧生物膜污水处理装置,其特征在于,所述轮毂状骨架的材料为钛丝、铜丝或不锈钢丝,所述导电毛刷的材料为碳纤维丝。
7.根据权利要求1所述的厌氧生物膜污水处理装置,其特征在于,所述反应器上设置集气组件,所述集气组件包括集气总管及分流管,所述分流管位于所述回收区内,所述集气总管的一端连通所述分流管,所述集气总管的另一端穿过所述反应器的顶部,并依次连接控制阀及流量计,所述分流管连通若干个集气支管,所述集气支管远离所述分流管的一端穿过所述三角出水堰,并连接三相分离器,所述三相分离器位于所述处理区内。
8.根据权利要求1所述的厌氧生物膜污水处理装置,其特征在于,所述反应器的底部设置与所述引入区连通的放空管,所述反应器的侧壁设置与所述处理区连通的排泥管,所述排泥管位于所述填料电极层与所述多孔布水板之间,所述反应器的顶部设置检查口及泄压阀。
9.一种厌氧生物膜污水处理方法,应用于权利要求1~8任一项所述的厌氧生物膜污水处理装置,其特征在于,包括以下步骤:将接种源与营养液混合后形成混合液,将所述混合液泵入反应器内,直至所述混合液淹没并溢出所述反应器,将溢出的所述混合液再次泵入所述反应器内,以完成全回流操作;通过稳压直流电源为包括阴极填料层及阳极填料层的填料电极层供电,监测电路电流及所述阳极填料层的电势,当所述电路电流稳定且所述阳极填料层的电势低于电势阈值时,判断完成电极启动阶段;调节第一待处理污水的碳硫比,以形成挂膜污水,将所述挂膜污水泵入所述反应器内,直至所述挂膜污水淹没所述反应器,通过所述稳压直流电源为所述填料电极层供电,以于所述填料电极层上生长厌氧生物膜,当所述反应器的产气量稳定后,判断完成填料挂膜阶段;将第二待处理污水泵入所述反应器内,并关闭所述稳压直流电源,以于正常运行阶段下进行污水处理,获取所述反应器内的pH值及氧化还原电位值,当所述pH值小于第一阈值和/或所述氧化还原电位值大于第二阈值时,控制所述稳压直流电源为所述填料电极层供电,直至所述pH值大于所述第一阈值且所述氧化还原电位值小于所述第二阈值后,控制所述稳压直流电源断电。
10.根据权利要求9所述的厌氧生物膜污水处理方法,其特征在于,所述碳硫比的范围为2.5gCOD/gSO42-~10gCOD/gSO42-。
发明内容
针对现有技术的不足,本发明的目的在于提供一种厌氧生物膜污水处理装置及方法,旨在解决现有技术中通过持续为厌氧反应器中的阳极电极及阴极电极供给外部电压,以提高甲烷产率及COD去除率的过程中,极大的提高了电能的消耗的技术问题。
为了实现上述目的,本发明是通过如下技术方案来实现的:
一种厌氧生物膜污水处理装置,包括反应器,所述反应器内设置填料电极层,所述填料电极层包括分别与稳压直流电源的负极及正极连接的阴极填料层及阳极填料层,所述稳压直流电源用于在电极启动阶段及填料挂膜阶段为所述填料电极层持续性供电,以于所述填料电极层上生长厌氧生物膜,且所述稳压直流电源用于在正常运行阶段基于所述反应器内的pH值及氧化还原电位值为所述填料电极层间歇性供电,以消除酸抑制。
与现有技术相比,本发明的有益效果在于:在复杂的厌氧消化体系中引入所述填料电极层,所述填料电极层的作用是调节所述反应器内的微生物群落结构,构建所述厌氧生物膜,在所述填料挂膜阶段完成后,所述填料电极层是否通电,对污水处理的效能影响较小,通过仅在所述电极启动阶段及所述填料挂膜阶段为所述填料电极层持续性供电,而在所述正常运行阶段间歇性供电,可在不影响污水处理效能的情况下,减少所述反应器的电能消耗,提升能源回报率;当在所述正常运行阶段,且未进行供电时,容易因污水的有机负荷过高、底物C/N失衡、底物中含有某些有害物质、或存在其他不利环境因子等原因造成酸抑制现象,抑制所述厌氧生物膜的产甲烷活性,进而导致体系失稳甚至崩溃,通过所述反应器内的pH值及氧化还原电位值,可判断所述反应器内是否处于失稳状态,进而通过对所述填料电极层供电,以施加一定的正向干预,使阳极微生物可以代谢小分子有机酸产生电子,在一定程度上减轻酸累积,过多的氢离子可以在阴极合成氢气,提高体系的pH值,并为所述厌氧生物膜提供底物,促进其代谢活性,规避酸抑制的情况,确保体系的稳定性。
进一步,所述阴极填料层及所述阳极填料层均电性连接电化学监测组件,所述反应器上设置监测探头,所述监测探头通过自动控制器电性连接所述稳压直流电源,所述监测探头用于监测所述反应器内的pH值及氧化还原电位值。
更进一步,所述反应器内自上而下设置三角出水堰及多孔布水板,以将所述反应器内自上而下分隔为回收区、处理区及引入区,所述三角出水堰与所述反应器的内侧壁之间围合形成位于所述回收区内的集水槽,所述反应器的侧壁连接进水管及出水管,所述进水管连通所述引入区,所述出水管连通所述回收区,所述填料电极层位于所述处理区。
更进一步,所述阴极填料层包括若干个沿所述反应器的径向间隔均匀分布的填料盘,所述填料盘包括轮毂状骨架及镶嵌于所述轮毂状骨架上的若干个导电毛刷,所述轮毂状骨架相对的两端均设置金属接线端,两所述金属接线端用于分别电性连接所述稳压直流电源及所述电化学监测组件。
更进一步,所述导电毛刷的直径自所述轮毂状骨架的中心向所述轮毂状骨架的侧缘方向逐渐增加。
更进一步,所述轮毂状骨架的材料为钛丝、铜丝或不锈钢丝,所述导电毛刷的材料为碳纤维丝。
更进一步,所述反应器上设置集气组件,所述集气组件包括集气总管及分流管,所述分流管位于所述回收区内,所述集气总管的一端连通所述分流管,所述集气总管的另一端穿过所述反应器的顶部,并依次连接控制阀及流量计,所述分流管连通若干个集气支管,所述集气支管远离所述分流管的一端穿过所述三角出水堰,并连接三相分离器,所述三相分离器位于所述处理区内。
更进一步,所述反应器的底部设置与所述引入区连通的放空管,所述反应器的侧壁设置与所述处理区连通的排泥管,所述排泥管位于所述填料电极层与所述多孔布水板之间,所述反应器的顶部设置检查口及泄压阀。
本发明还提供了一种厌氧生物膜污水处理方法,应用于上述技术方案中所述的厌氧生物膜污水处理装置,包括如下步骤:
将接种源与营养液混合后形成混合液,将所述混合液泵入反应器内,直至所述混合液淹没并溢出所述反应器,将溢出的所述混合液再次泵入所述反应器内,以完成全回流操作;
通过稳压直流电源为包括阴极填料层及阳极填料层的填料电极层供电,监测电路电流及所述阳极填料层的电势,当所述电路电流稳定且所述阳极填料层的电势低于电势阈值时,判断完成电极启动阶段;
调节第一待处理污水的碳硫比,以形成挂膜污水,将所述挂膜污水泵入所述反应器内,直至所述挂膜污水淹没所述反应器,通过所述稳压直流电源为所述填料电极层供电,以于所述填料电极层上生长厌氧生物膜,当所述反应器的产气量稳定后,判断完成填料挂膜阶段;
将第二待处理污水泵入所述反应器内,并关闭所述稳压直流电源,以于正常运行阶段下进行污水处理,获取所述反应器内的pH值及氧化还原电位值,当所述pH值小于第一阈值和/或所述氧化还原电位值大于第二阈值时,控制所述稳压直流电源为所述填料电极层供电,直至所述pH值大于所述第一阈值且所述氧化还原电位值小于所述第二阈值后,控制所述稳压直流电源断电。
进一步,所述碳硫比的范围为2.5gCOD/gSO42-~10gCOD/gSO42-。
(发明人:曾凯;谢锦文;郭泽冲;李攀荣;周佳琳;胡昌顺;吴胜之;王佳琪;李文)






