公布日:2024.12.20
申请日:2023.09.19
分类号:C02F3/32(2023.01)I
摘要
本发明涉及一种下行式潜流人工湿地排泥系统,包括从上至下依次布置的种植层、布水管、填料层和反渗透层,反渗透层的下方布置进行泥水分离的集泥-排水层。有益效果为:布水管将微污染水均匀布置于填料层上,经填料层处理以后流向反渗透层,而从反渗透层所流出的污水再进入集泥-排水层,反渗透层可以滤除大粒径填料,以免大粒径填料掉落到集泥-排水层,起到反滤作用,从而一定程度上防止堵塞集泥-排水层,集泥-排水层实现对下行式潜流人工湿地泥水分离,污泥逐步沉淀在底部,而除泥后的净化水则排出人工湿地,以确保出水水质更优。

权利要求书
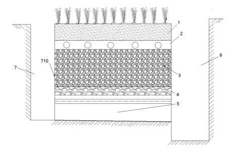
1.一种下行式潜流人工湿地排泥系统,其特征在于,包括从上至下依次布置的种植层(1)、布水管(2)、填料层(3)和反渗透层(4),所述反渗透层(4)的下方布置进行泥水分离的集泥-排水层(5)。
2.根据权利要求1所述的一种下行式潜流人工湿地排泥系统,其特征在于,所述集泥-排水层(5)包括:设置在反渗透层(4)下方的排水篦子(540),所述排水篦子(540)下方的垫层(510)上沿排水方向并排设置多个分流装置(530),相邻两个分流装置(530)之间以及分流装置(530)与人工湿地的外墙之间形成排泥通道(570)。
3.根据权利要求1或2所述的一种下行式潜流人工湿地排泥系统,其特征在于,所述分流装置(530)包括:沿排水方向布置的斜板(531),所述斜板(531)为中间高、两侧低的形状,所述斜板(531)下方沿其长度方向布置至少两块竖板(532),相邻两块竖板(532)之间形成排水通道(534),所述竖板(532)的上端与所述斜板(531)相连,所述竖板(532)与所述斜板(531)的交界处具有多个进水口(533),所述进水口(533)高于所述斜板(531)两侧边沿;所述竖板(532)的下端与所述垫层(510)相连。
4.根据权利要求1或2或3所述的一种下行式潜流人工湿地排泥系统,其特征在于,所述集泥-排水层(5)还包括:墙体(520),所述垫层(510)上沿排水方向设置多道对排水篦子(540)进行支撑的墙体(520),所述墙体(520)与竖板(532)的长度相同,所述分流装置(530)和所述墙体(520)相间分布,所述墙体(520)与所述分流装置(530)之间形成排泥通道(570)。
5.根据权利要求3所述的一种下行式潜流人工湿地排泥系统,其特征在于,所述斜板(531)的两侧与垂直方向夹角为45°-60°,所述斜板(531)的迎水面采用摩擦系数小的光面塑料板。
6.根据权利要求4所述的一种下行式潜流人工湿地排泥系统,其特征在于,所述垫层(510)沿墙体(520)长度方向向下倾斜,在所述垫层(510)低的一端的外侧设有检查井(6),所述检查井(6)的井底低于所述垫层(510),所述排泥通道(570)与所述检查井(6)连通。
7.根据权利要求6所述的一种下行式潜流人工湿地排泥系统,其特征在于:所述集泥-排水层(5)还包括:布置在排泥通道(570)内的排泥板(550),以及用于驱动排泥板(550)在排泥通道(570)内移动以将排泥通道(570)内的底泥刮入检查井(6)中的动力机构(560),所述墙体(520)和竖板(532)平行分布;所述排泥板(550)的高度低于所述竖板(532)上的进水口(533)所在高度,所述排泥板(550)上均匀分布滤水孔(551)。
8.根据权利要求7所述的一种下行式潜流人工湿地排泥系统,其特征在于,所述动力机构(560)包括:两道沿排泥通道(570)长度方向平行布置且分别贴着墙体(520)和竖板(532)的支撑墙(561),所述支撑墙(561)的长度分别与墙体(520)和竖板(532)的长度相同,所述支撑墙(561)的高度低于所述竖板(532)上的进水口(533)所在高度;每道支撑墙(561)顶部均布置活动滚轮(562),所述墙体(520)和竖板(532)的侧面沿支撑墙(561)的长度方向分别设置轨道,所述轨道中的固定节点(566)通过连接轴(565)与滚轮(562)的中心轴承相连接,所述固定节点(566)与连接杆(564)的一端相连接,所述连接杆(564)的另一端通过活页与排泥板(550)上端相连接,所述排泥板(550)绕活页可沿其移动方向前后翻动;所述动力机构(560)还包括:两套第一牵引机构和一套第二牵引机构;在排泥时,排泥板(550)在排泥通道(570)内呈竖直状态,并由第一牵引机构和第二牵引机构配合动作,以驱使排泥板(550)以竖直状态在排泥通道(570)内向检查井(6)方向移动并完成单次排泥;在单次排泥动作结束以后,由第二牵引机构带动排泥板(550)动作,以使排泥板(550)从竖直状态翻动为水平状态;由第一牵引机构和第二牵引机构再配合动作,以使排泥板(550)以水平状态返回原点,并待排泥板(550)返回原点后再通过第二牵引机构将排泥板(550)从水平状态调整为竖直状态。
9.根据权利要求8所述的一种下行式潜流人工湿地排泥系统,其特征在于,所述轨道包括:支撑杆(563),所述墙体(520)或竖板(532)上沿其滚轮(562)的移动方向开设导轨槽(567),所述支撑杆(563)为T型杆,所述支撑杆(563)的T型端与导轨槽(567)滑动配合,所述支撑杆(563)的T型端与导轨槽(567)之间设有活动球(568),所述支撑杆(563)与固定节点(566)相连,所述固定节点(566)通过连接轴(565)与滚轮(562)的中心轴承相连。
10.根据权利要求9所述的一种下行式潜流人工湿地排泥系统,其特征在于,在所述垫层(510)高的一端的外侧设有检修井(7),所述检修井(7)在与集泥-排水层(5)重合的区域设置活页开门,所述检修井(7)的墙壁上在与填料层(3)重合的区域沿竖向设置玻璃液位观察窗(710)。
发明内容
本发明所要解决的技术问题是提供一种下行式潜流人工湿地排泥系统,以克服上述现有技术中的不足。
本发明解决上述技术问题的技术方案如下:一种下行式潜流人工湿地排泥系统,包括从上至下依次布置的种植层、布水管、填料层和反渗透层,反渗透层的下方布置进行泥水分离的集泥-排水层。
在上述技术方案的基础上,本发明还可以做如下改进。
进一步,集泥-排水层包括:设置在反渗透层下方的排水篦子,排水篦子下方的垫层上沿排水方向并排设置多个分流装置,相邻两个分流装置之间以及分流装置与人工湿地的外墙之间形成排泥通道。
进一步,分流装置包括:沿排水方向布置的斜板,斜板为中间高、两侧低的形状,斜板下方沿其长度方向布置至少两块竖板,相邻两块竖板之间形成排水通道,竖板的上端与斜板相连,竖板与斜板的交界处具有多个进水口,进水口高于斜板两侧边沿;竖板的下端与垫层相连。
进一步,集泥-排水层还包括:墙体,垫层上沿排水方向设置多道对排水篦子进行支撑的墙体,墙体与竖板的长度相同,分流装置和墙体相间分布,墙体与分流装置之间形成排泥通道。
进一步,斜板的两侧与垂直方向夹角为45°-60°,斜板的迎水面采用摩擦系数小的光面塑料板。
进一步,垫层沿墙体长度方向向下倾斜,在垫层低的一端的外侧设有检查井,检查井的井底低于垫层,排泥通道与检查井连通。
进一步,集泥-排水层还包括:布置在排泥通道内的排泥板,以及用于驱动排泥板在排泥通道内移动以将排泥通道内的底泥刮入检查井中的动力机构,墙体和竖板平行分布;排泥板的高度低于竖板上的进水口所在高度,排泥板上均匀分布滤水孔。
进一步,动力机构包括:两道沿排泥通道长度方向平行布置且分别贴着墙体和竖板的支撑墙,支撑墙的长度分别与墙体和竖板的长度相同,支撑墙的高度低于竖板上的进水口所在高度;每道支撑墙顶部均布置活动滚轮,墙体和竖板的侧面沿支撑墙的长度方向分别设置轨道,轨道中的固定节点通过连接轴与滚轮的中心轴承相连接,固定节点与连接杆的一端相连接,连接杆的另一端通过活页与排泥板上端相连接,排泥板绕活页可沿其移动方向前后翻动;动力机构还包括:两套第一牵引机构和一套第二牵引机构;
在排泥时,排泥板在排泥通道内呈竖直状态,并由第一牵引机构和第二牵引机构配合动作,以驱使排泥板以竖直状态在排泥通道内向检查井方向移动并完成单次排泥;在单次排泥动作结束以后,由第二牵引机构带动排泥板动作,以使排泥板从竖直状态翻动为水平状态;由第一牵引机构和第二牵引机构再配合动作,以使排泥板以水平状态返回原点,并待排泥板返回原点后再通过第二牵引机构将排泥板从水平状态调整为竖直状态。
更进一步,轨道包括:支撑杆,墙体或竖板上沿其滚轮的移动方向开设导轨槽,支撑杆为T型杆,支撑杆的T型端与导轨槽滑动配合,支撑杆的T型端与导轨槽之间设有活动球,支撑杆与固定节点相连,固定节点通过连接轴与滚轮的中心轴承相连。
进一步,在垫层高的一端的外侧设有检修井,检修井在与集泥-排水层重合的区域设置活页开门,检修井的墙壁上在与填料层重合的区域沿竖向设置玻璃液位观察窗。
本发明的有益效果是:
1)布水管将微污染水均匀布置于填料层上,经填料层处理以后流向反渗透层,而从反渗透层所流出的污水再进入集泥-排水层,反渗透层可以滤除大粒径填料,以免大粒径填料掉落到集泥-排水层,起到反滤作用,从而一定程度上防止堵塞集泥-排水层,集泥-排水层则再实现对下行式潜流人工湿地泥水分离,污泥逐步沉淀在底部,而除泥后的净化水则排出人工湿地,以确保出水水质更优;
2)集泥-排水层中的排水篦子一方面用以支撑种植层、布水管、填料层和反渗透层,另一方面在污水经过时可以阻挡大粒径填料往下落,微生物脱落物、颗粒物、悬浮固体等污泥逐步在排泥通道沉积,在排泥通道内形成底泥,净化水则经过进水口后进入排水通道,利用重力作用和水动力学原理实现泥水分离,不耗能,不产生任何污染物质,出水水质更优;潜流人工湿地正常运行,不需要额外动力,仅在排泥和反冲洗时需要少量动力,将极大助力下行式潜流人工湿地减碳降耗、提质增效,即清洁无污染,低动力运行;
3)在出水水量减小、水质明显变差时,通过反冲洗实现对集泥-排水层的维护,排泥通道、排水通道、分流装置是污泥较容易聚集的部位,通过反冲洗可将淤塞污染物通过水流作用,由排泥通道排出湿地,解除集泥-排水层淤堵风险,保障集泥-排水层正常的集泥、排泥、集水、排水功能,保证湿地的正常运转和水质达标,通过反冲洗使排泥通道、排水通道具有一定耐久性,此外,整个集泥-排水层整体高度一般为25cm-35cm,相较于常规排水层,高度略大,但由于整个系统占地面积较大,稳定性好,因此,可以不使用细沙缓冲层,使得整个下行式潜流人工湿地的高度与常规高度相当,不额外占地;
4)集泥-排水层中的墙体可以减少排水篦子压力负荷和施工难度,保障人工湿地安全有效运行,而斜板的两侧与垂直方向夹角为45°-60°,斜板的迎水面采用摩擦系数小的光面塑料板,便于落在斜板上的污泥滑落到排泥通道;
5)由于垫层沿墙体长度方向向下倾斜,以及检查井的井底低于垫层,因此,便于收集排泥通道内的污泥,且可以避免污泥回流到排泥通道内,定期通过检查井查看排泥通道集泥情况,以适时排出所收集的污泥,通过收集污泥,定期排泥,缓解湿地堵塞,延长湿地使用寿命,此外,垫层沿墙体长度方向向下倾斜,进入排水通道内的净化水也便于外排;
6)在排泥通道内沉积一定厚度的底泥以后,通过动力机构驱动排泥板在排泥通道内移动以将排泥通道内含水率较低的底泥刮入检查井中,检查井中的污泥可以采用排泥泵排出,然后用专用泵将含水率较高的底泥抽出,最后,定期对排泥通道进行反冲洗,以缓解出水口堵塞,并将上述排泥泵和专用泵难以排出的底泥(如墙壁、排泥通道底部、拐角处等)通过反冲洗稀释排出,多项措施并举,确保排泥高效率,及时将湿地底泥排出,有效缓解湿地堵塞,让排泥板最高处与进水口之间富余一定距离,以确保污泥不会经进水口进入排水通道,此外,排泥板上均匀分布滤水孔,可过滤掉含水率较高的泥水,同时减小排泥板运动阻力;
7)检修井在与集泥-排水层重合的区域设置活页开门,平时处于关闭状态,在需要更换定滑轮的时候打开活页开门,对内部定滑轮进行更换;通过玻璃液位观察窗能看到下行式潜流人工湿地液位情况,通过液位的升降及升降速度可以知道人工湿地的堵塞状况,以便及时进行停床整修或排泥,为人工湿地停床整修和排泥时间提供有利参考,使潜流人工湿地能正常运行,避免堵塞和污染物去除率下降;
8)前期投资成本稍高于常规下行式潜流人工湿地,但是集泥-排水层优秀的泥水分离、排泥、反冲洗功能可保障较优的出水水质,极大降低湿地堵塞概率,能提供更优的工程品质,且解决运维成本,长期来看,成本低于常规下行式潜流人工湿地,性价比高。
(发明人:苏苑君;谢舒婷;刘爽;张锐;王跃昌)






