公布日:2024.12.20
申请日:2024.10.16
分类号:C02F11/127(2019.01)I;B01D46/10(2006.01)I;B01F27/90(2022.01)I;B01F31/00(2022.01)I;C02F103/00(2006.01)N
摘要
本发明属于污泥脱水治理技术领域,尤其是一种水利河道生态治理用的污泥脱水装置,针对在对污泥进行脱水时,无法保证脱水箱内空气流速,长期使用后,使得脱水箱内部回潮,降低其使用寿命,且在将污泥脱水后,没有对污水进行处理直接排出,导致污水污染生态环境的问题,现提出如下方案,其包括:脱水箱;沥水板,固定安装于所述脱水箱内,所述沥水板上设有脱水筒,所述脱水箱的底部固定安装有伺服电机。本发明结构简单,对污泥脱水时,可保证脱水箱内的空气流通,避免回潮,降低其使用寿命,同时移动齿轮转动并带动搅拌叶旋转,从而达到对污水充分搅拌的效果,继而使得污水可以得到有效处理,方便人们使用。

权利要求书
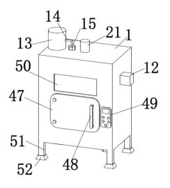
1.一种水利河道生态治理用的污泥脱水装置,其特征在于,包括:脱水箱(1);沥水板(2),固定安装于所述脱水箱(1)内,所述沥水板(2)上设有脱水筒(3),所述脱水箱(1)的底部固定安装有伺服电机(4),所述沥水板(2)的底部固定安装有固定吊板(5),固定吊板(5)的一侧固定安装有推杆电机(6),推杆电机(6)的输出轴上固定连接有出料板(7),所述脱水箱(1)的一侧设有出料口(8),所述脱水箱(1)的底壁上滑动连接有右侧支块(9),右侧支块(9)上固定安装有搅拌箱(10),搅拌箱(10)的底部一端固定安装有左侧支块(11),所述脱水箱(1)的一侧固定安装有进风箱(12),所述脱水箱(1)的前侧设有开口(50);清洗机构,设置于所述脱水箱(1)上,用于对脱水筒(3)进行冲洗;脱水机构,设置于所述脱水箱(1)内,用于对污泥进行脱水处理;进风机构,设置于所述进风箱(12)内,用于加快脱水箱(1)的空气流通,保证脱水箱(1)内的干燥;搅拌机构,设置于所述脱水箱(1)内,用于对脱水后的污水进行清理。
2.根据权利要求1所述的一种水利河道生态治理用的污泥脱水装置,其特征在于,所述清洗机构包括固定安装于脱水箱(1)顶部的储水筒(13),脱水箱(1)的顶部且位于储水筒(13)旁设有水泵(15),水泵(15)与储水筒(13)之间连通有水管一(14),脱水箱(1)的顶壁和侧壁之间固定安装有导风板(16),导风板(16)的斜面上固定安装有斜撑板(17),斜撑板(17)上固定连接有喷水板(18),喷水板(18)上设有多个喷嘴(19),且喷水板(18)与水泵(15)之间连通有水管二(20)。
3.根据权利要求1所述的一种水利河道生态治理用的污泥脱水装置,其特征在于,所述脱水箱(1)的顶部固定设有气缸(21),气缸(21)的底端固定设有成型圆板(22)。
4.根据权利要求1所述的一种水利河道生态治理用的污泥脱水装置,其特征在于,所述脱水机构包括设于沥水板(2)上的环形槽(23),环形槽(23)内滑动连接有多个对称的环形块(24),多个环形块(24)均与脱水筒(3)的外壁固定连接,脱水箱(1)内转动连接有驱动杆(25)。
5.根据权利要求4所述的一种水利河道生态治理用的污泥脱水装置,其特征在于,所述驱动杆(25)与伺服电机(4)的输出轴固定连接,驱动杆(25)上固定连接有驱动齿轮(26),脱水筒(3)上固定连接有齿轮圈(27),齿轮圈(27)与驱动齿轮(26)相啮合。
6.根据权利要求4所述的一种水利河道生态治理用的污泥脱水装置,其特征在于,所述进风机构包括固定连接于驱动杆(25)上的一号伞形齿轮(28),进风箱(12)内固定安装有垂直撑板(29),垂直撑板(29)上转动连接有旋转杆(30),旋转杆(30)的一端固定连接有二号伞形齿轮(31),二号伞形齿轮(31)与一号伞形齿轮(28)相啮合。
7.根据权利要求6所述的一种水利河道生态治理用的污泥脱水装置,其特征在于,所述旋转杆(30)的另一端固定连接有扇叶套(32),扇叶套(32)的外壁上固定连接有抽风扇叶(33),进风箱(12)的一侧固定连通有吹风罩(34),进风箱(12)的另一侧设有滤板(35)。
8.根据权利要求4所述的一种水利河道生态治理用的污泥脱水装置,其特征在于,所述搅拌机构包括分别固定安装于脱水箱(1)两侧内壁的导液板(36),驱动杆(25)上固定连接有凸轮(37),搅拌箱(10)的一侧固定连接有L型板(38),L型板(38)上开设有长孔(39),驱动杆(25)穿过长孔(39),脱水箱(1)的底壁上设有复位槽(40),复位槽(40)内固定设有复位弹簧(41),左侧支块(11)与复位弹簧(41)的一端固定连接,左侧支块(11)与复位槽(40)滑动连接。
9.根据权利要求1所述的一种水利河道生态治理用的污泥脱水装置,其特征在于,所述脱水箱(1)的底壁上固定安装有固定齿条(42),搅拌箱(10)内转动连接有旋转轴(43),旋转轴(43)上固定连接有搅拌叶(44),旋转轴(43)的底端固定连接有移动齿轮(45),移动齿轮(45)与固定齿条(42)相啮合,搅拌箱(10)与旋转轴(43)之间设有密封套(46)。
10.根据权利要求1所述的一种水利河道生态治理用的污泥脱水装置,其特征在于,所述脱水箱(1)的前侧设有箱门(47),箱门(47)上设有扶手(48),脱水箱(1)上且位于箱门(47)旁设有控制器(49)。
本发明内容
本发明的目的是为了解决了在对污泥进行脱水时,无法保证脱水箱内空气流速,长期使用后,使得脱水箱内部回潮,降低其使用寿命,且在将污泥脱水后,没有对污水进行处理直接排出,导致污水污染生态环境的缺点,而提出的一种水利河道生态治理用的污泥脱水装置。
为了实现上述目的,本发明采用了如下技术方案:
一种水利河道生态治理用的污泥脱水装置,包括:
脱水箱;
沥水板,固定安装于所述脱水箱内,所述沥水板上设有脱水筒,所述脱水箱的底部固定安装有伺服电机,所述沥水板的底部固定安装有固定吊板,固定吊板的一侧固定安装有推杆电机,推杆电机的输出轴上固定连接有出料板,所述脱水箱的一侧设有出料口,所述脱水箱的底壁上滑动连接有右侧支块,右侧支块上固定安装有搅拌箱,搅拌箱的底部一端固定安装有左侧支块,所述脱水箱的一侧固定安装有进风箱,所述脱水箱的前侧设有开口;
清洗机构,设置于所述脱水箱上,用于对脱水筒进行冲洗;
脱水机构,设置于所述脱水箱内,用于对污泥进行脱水处理;
进风机构,设置于所述进风箱内,用于加快脱水箱的空气流通,保证脱水箱内的干燥;
搅拌机构,设置于所述脱水箱内,用于对脱水后的污水进行清理。
进一步地,所述清洗机构包括固定安装于脱水箱顶部的储水筒,脱水箱的顶部且位于储水筒旁设有水泵,水泵与储水筒之间连通有水管一,脱水箱的顶壁和侧壁之间固定安装有导风板,导风板的斜面上固定安装有斜撑板,斜撑板上固定连接有喷水板,喷水板上设有多个喷嘴,且喷水板与水泵之间连通有水管二。
进一步地,所述脱水箱的顶部固定设有气缸,气缸的底端固定设有成型圆板,气缸向下移动时,可带动成型圆板向下移动对污泥进行挤压成型的同时进行二次脱水。
进一步地,所述脱水机构包括设于沥水板上的环形槽,环形槽内滑动连接有多个对称的环形块,多个环形块均与脱水筒的外壁固定连接,脱水箱内转动连接有驱动杆。
进一步地,所述驱动杆与伺服电机的输出轴固定连接,驱动杆上固定连接有驱动齿轮,脱水筒上固定连接有齿轮圈,齿轮圈与驱动齿轮相啮合,利用齿轮圈与驱动齿轮之间的啮合,使得与齿轮圈固定连接的脱水筒旋转,利用离心的作用进行脱水工作。
进一步地,所述驱动杆与伺服电机的输出轴固定连接,驱动杆上固定连接有驱动齿轮,脱水筒上固定连接有齿轮圈,齿轮圈与驱动齿轮相啮合。
进一步地,所述进风机构包括固定连接于驱动杆上的一号伞形齿轮,进风箱内固定安装有垂直撑板,垂直撑板上转动连接有旋转杆,旋转杆的一端固定连接有二号伞形齿轮,二号伞形齿轮与一号伞形齿轮相啮合。
进一步地,所述旋转杆的另一端固定连接有扇叶套,扇叶套的外壁上固定连接有抽风扇叶,进风箱的一侧固定连通有吹风罩,进风箱的另一侧设有滤板,滤板可将外界进入进风箱内的空气进行过滤。
进一步地,所述搅拌机构包括分别固定安装于脱水箱两侧内壁的导液板,驱动杆上固定连接有凸轮,搅拌箱的一侧固定连接有L型板,L型板上开设有长孔,驱动杆穿过长孔,脱水箱的底壁上设有复位槽,复位槽内固定设有复位弹簧,左侧支块与复位弹簧的一端固定连接,左侧支块与复位槽滑动连接,复位弹簧释放弹力时,可带动左侧支块复位,以此达到搅拌箱晃动的效果。
进一步地,所述脱水箱的底壁上固定安装有固定齿条,搅拌箱内转动连接有旋转轴,旋转轴上固定连接有搅拌叶,旋转轴的底端固定连接有移动齿轮,移动齿轮与固定齿条相啮合,搅拌箱与旋转轴之间设有密封套,密封套可保证旋转轴转动时,搅拌箱不会溢水,从而提高了搅拌箱的密封性。
进一步地,所述脱水箱的前侧设有箱门,箱门上设有扶手,脱水箱上且位于箱门旁设有控制器。
与现有技术相比,本发明的优点在于:
1.本方案由于驱动杆通过驱动齿轮带动齿轮圈转动,齿轮圈带动固定连接的脱水筒旋转,利用离心的力使得污泥中的污水脱离脱水筒,从而达到脱水的效果;
2.本方案由于旋转杆带动固定连接的扇叶套转动,并使得与扇叶套固定连接的抽风扇叶旋转将外界的空气抽入进风箱,空气经过滤板过滤后,通过进风箱进入吹风罩,吹向导风板,由于导风板为倾斜设置的,使得气流反射散布在进风箱内,从而保证了脱水箱内的空气流通,避免回潮,降低其使用寿命;
3.本方案由于当复位弹簧释放弹力时,可带动左侧支块复位,以此达到搅拌箱晃动的效果,使得污水与搅拌箱内的净化剂混合,同时搅拌箱往复移动时,可使得移动齿轮与固定齿条啮合,移动齿轮转动并带动搅拌叶旋转,从而达到对污水充分搅拌的效果,继而使得污水可以得到有效处理。
本发明结构简单,对污泥脱水时,可保证脱水箱内的空气流通,避免回潮,降低其使用寿命,同时移动齿轮转动并带动搅拌叶旋转,从而达到对污水充分搅拌的效果,继而使得污水可以得到有效处理,方便人们使用。
(发明人:顾吕;徐波;徐鹏;汤文豪;刘昕)






