申请日2016.05.27
公开(公告)日2016.12.07
IPC分类号B01D36/02; E01H1/10
摘要
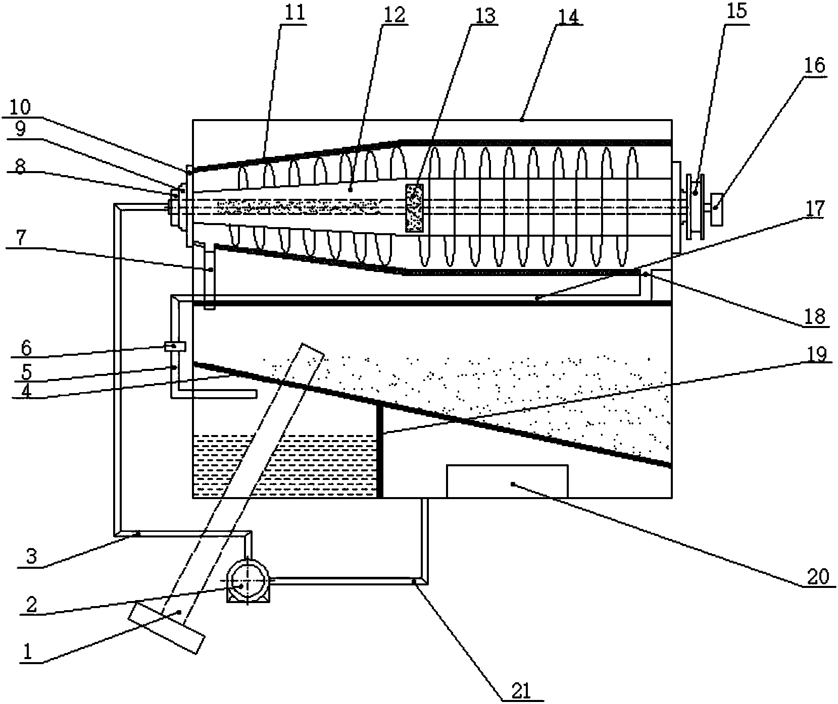
本实用新型涉及一种洗扫车污水分离净化系统,包括安装在洗扫车的车厢内的倾斜隔板,隔板的下侧和车厢底板之间设置竖直的分离板,隔板和分离板将车厢内部空间分隔形成上部的垃圾区、下部前侧的清水区和下部后侧的污水区;洗扫车的吸嘴组件设置在车厢外部,且出口位于垃圾区内;车厢的底部设置有和清水区相连通的喷洒装置;污水区内设置有水槽,隔板上设置有与水槽相对的导流孔;污水区的底部通过管路和水泵与过滤装置相连通,过滤装置位于车厢上侧,过滤装置上设置与垃圾区相连通的排渣口以及与清水区相连通的出口。本实用新型通过增加污水过滤装置以及隔板和管路等部件,使污水能够分离和回收,得到的清水能够再次进行路面清扫,利于节水。
摘要附图
权利要求书
1.洗扫车污水分离净化系统,其特征在于:包括安装在洗扫车的车厢内的倾斜隔板,隔板的前端高于后端,且隔板的前端和两侧均与车厢侧壁相接,后端与设置在车厢后侧的竖直固定板(31)上端相接;固定板(31)的下端与车厢底板相连,上端与车厢的车门(32)相接;隔板的下侧和车厢底板之间设置竖直的分离板(19),隔板和分离板(19)将车厢内部空间分隔形成上部的垃圾区(23)、下部前侧的清水区(22)和下部后侧的污水区(24);洗扫车的吸嘴组件(1)设置在车厢外部,且出口位于垃圾区(23)内;车厢的底部设置有和清水区(22)相连通的喷洒装置;污水区(24)内设置有水槽(20),隔板上设置有与水槽(20)相对的导流孔;污水区(24)的底部通过管路和水泵(2)与过滤装置(14)的进料口相连通,过滤装置(14)位于车厢上侧,过滤装置(14)上设置与垃圾区(23)相连通的排渣口(7)以及与清水区(22)相连通的出口。
2.根据权利要求1所述的洗扫车污水分离净化系统,其特征在于:污水区(24)内的车厢底板开孔且通过第一管路(21)与水泵(2)相连通;水泵(2)通过第二管路(3)与过滤装置(14)的进料口相连通,过滤装置(14)的出口通过第三管路(17)与Y型过滤器(6)相连通,Y型过滤器(6)通过第四管路(5)与清水区(22)相连通。
3.根据权利要求2所述的洗扫车污水分离净化系统,其特征在于:Y型过滤器(6)包括相连通的入水口(29)、出水口(30)和过滤口(28),其中,过滤口(28)位于入水口(29)和出水口(30)的下侧。
4.根据权利要求2所述的洗扫车污水分离净化系统,其特征在于:第四管路(5)的出口始终位于清水区(22)内水面的上方。
5.根据权利要求1所述的洗扫车污水分离净化系统,其特征在于:过滤装置(14)包括旋转方向相反的转鼓(11)以及螺旋推料器(12),转鼓(11)的前端连接第一动力装置;螺旋推料器(12)位于转鼓(11)内部;螺旋推料器(12)的中心轴后端连接第二动力装置,螺旋推料器(12)的中心轴内部设置管道,管道两端分别为进料口和分料口(13),其中分料口(13)位于中心轴中部;排渣口(7)设置在转鼓(11)的前侧底部,过滤装置(14)的出口设置在转鼓(11)的后侧底部。
6.根据权利要求5所述的洗扫车污水分离净化系统,其特征在于:第一动力装置包括通过皮带轮(8)与转鼓(11)相连的主电机;第二动力装置包括通过差速器(15)与螺旋推料器(12)的中心轴相连的辅电机(16)。
7.根据权利要求1或5所述的洗扫车污水分离净化系统,其特征在于:过滤装置(14)的出口处设置液层调节板(18)。
8.根据权利要求1所述的洗扫车污水分离净化系统,其特征在于:水槽(20)上部设置溢流口(27)。
9.根据权利要求1所述的洗扫车污水分离净化系统,其特征在于:隔板包括均倾斜设置的第一隔板(4)、第二隔板(25)和第三隔板(26),其中第一隔板(4)的前端与车厢前侧壁相接,后端与固定板(31)相接,且前端高于后端;第一隔板(4)的两个侧边分别与第二隔板(25)和第三隔板(26)的一侧相连;第二隔板(25)和第三隔板(26)的另一侧分别与车厢侧壁相接,第二隔板(25)和第三隔板(26)与车厢侧壁相接的一侧均高于与第一隔板(4)相接的一侧。
10.根据权利要求9所述的洗扫车污水分离净化系统,其特征在于:第一隔板(4)的倾斜角度为35~45°。
说明书
洗扫车污水分离净化系统
【技术领域】
本实用新型涉及污水处理领域,具体涉及一种洗扫车污水分离净化系统。
【背景技术】
伴随着城镇工业化的发展,洗扫车在城市道路整洁干净卫生方面扮演着越来重要的作用。目前,洗扫车装备有储存、转运功能的垃圾箱,但其中含有大量洗扫过后的污水,直接倾斜进垃圾收容站,无疑会造成水资源的浪费。另一方面,随着城市道路规模升级,需要洗扫车具有更长的作业时间来满足城市清洁的要求。
【发明内容】
本实用新型的目的在于克服现有技术中存在的问题,提供一种种洗扫车污水分离净化系统,能够分离净化污水,节约水资源。
为了达到上述目的,本实用新型采用如下技术方案:
包括安装在洗扫车的车厢内的倾斜隔板,隔板的前端高于后端,且隔板的前端和两侧均与车厢侧壁相接,后端与设置在车厢后侧的竖直固定板上端相接;固定板的下端与车厢底板相连,上端与车厢的车门相接;隔板的下侧和车厢底板之间设置竖直的分离板,隔板和分离板将车厢内部空间分隔形成上部的垃圾区、下部前侧的清水区和下部后侧的污水区;洗扫车的吸嘴组件设置在车厢外部,且出口位于垃圾区内;车厢的底部设置有和清水区相连通的喷洒装置;污水区内设置有水槽,隔板上设置有与水槽相对的导流孔;污水区的底部通过管路和水泵与过滤装置的进料口相连通,过滤装置位于车厢上侧,过滤装置上设置与垃圾区相连通的排渣口以及与清水区相连通的出口。
进一步地,污水区内的车厢底板开孔且通过第一管路与水泵相连通;水泵通过第二管路与过滤装置的进料口相连通,过滤装置的出口通过第三管路与Y型过滤器相连通,Y型过滤器通过第四管路与清水区相连通。
进一步地,Y型过滤器包括相连通的入水口、出水口和过滤口,其中,过滤口位于入水口和出水口的下侧。
进一步地,第四管路的出口始终位于清水区内水面的上方。
进一步地,过滤装置包括旋转方向相反的转鼓以及螺旋推料器,转鼓的前端连接第一动力装置;螺旋推料器位于转鼓内部;螺旋推料器的中心轴后端连接第二动力装置,螺旋推料器的中心轴内部设置管道,管道两端分别为进料口和分料口,其中分料口位于中心轴中部;排渣口设置在转鼓的前侧底部,过滤装置的出口设置在转鼓的后侧底部。
进一步地,第一动力装置包括通过皮带轮与转鼓相连的主电机;第二动力装置包括通过差速器与螺旋推料器的中心轴相连的辅电机。
进一步地,过滤装置的出口处设置液层调节板。
进一步地,水槽上部设置溢流口。
进一步地,隔板包括均倾斜设置的第一隔板、第二隔板和第三隔板,其中第一隔板的前端与车厢前侧壁相接,后端与固定板相接,且前端高于后端;第一隔板的两个侧边分别与第二隔板和第三隔板的一侧相连;第二隔板和第三隔板的另一侧分别与车厢侧壁相接,第二隔板和第三隔板与车厢侧壁相接的一侧均高于与第一隔板相接的一侧。
进一步地,第一隔板的倾斜角度为35~45°。
与现有技术相比,本实用新型具有以下有益的技术效果:
本实用新型利用车厢的内部空间,通过隔板和分离板分隔形成垃圾区、污水区和清水区,污水通过隔板上的导流孔,从垃圾区顺流至污水区的水槽进行初步沉淀,从水槽中溢流至污水区内的水再经过水泵的连接输送作用,将污水送入过滤装置,泥水迅速分离,固态混合物流入垃圾区,液态的水经过管道回到清水区,快速高效地完成污水的分离净化循环。而且,本实用新型中过滤装置位于车厢顶部,使得经过过滤装置分离的固态垃圾通过自重可流到垃圾区,液态水可以通过自重流入清水区;同时过滤装置和车厢分离,使得装置便于拆卸和维护,从而提高了装置的使用寿命。本实用新型通过增加污水过滤装置以及隔板和相关管路等部件,使污水能够分离和回收,使污水过滤后得到的清水能够再次进行路面清扫,利于提高洗扫车作业的有效时长和效率,利于节水。
进一步地,本实用新型通过设置Y型过滤器,能够更精细地过滤,使进入清水区的水中含沙量更低。
进一步地,本实用新型通过将第四管路的出口始终设置在清水区内水面的上方,防止清水区的清水倒吸。
进一步地,本实用新型通过采用包括转鼓和螺旋推料器的过滤装置,形成离心式脱水设备,污水分离效果好。
进一步地,本实用新型通过将第一隔板的倾斜角度为35~45°,利于垃圾的卸料,甚至可不用液压助力。


