公布日:2023.10.13
申请日:2023.08.24
分类号:B01D46/02(2006.01)I;B01D46/04(2006.01)I;B01D46/42(2006.01)I;B01D46/48(2006.01)I;B01D46/72(2022.01)I;C02F11/00(2006.01)I;F28D21/00(2006.01)I
摘要
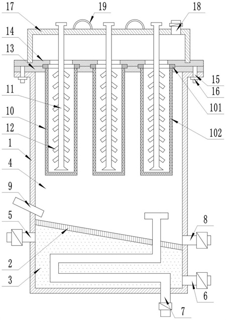
本发明是污泥干化除尘自动反清理装置,包括除尘箱,除尘箱内下端设有倾斜导板,倾斜导板将除尘箱分为下部的换热腔和上部的除尘腔,换热腔一侧壁上端设有换热介质入口且另外一侧壁下端设有换热介质出口,除尘箱底部设有进气管,进气管穿过换热腔并伸出倾斜导板上端,除尘箱侧壁上在倾斜导板较低一侧设有排污口,除尘箱侧壁上在倾斜导板较高一侧设有冲洗管,除尘腔内安装有若干除尘网袋组件,每个除尘网袋组件内均设有反吹管,反吹管侧壁上设有若干反吹口。本发明可以对污泥干化机处理的尾气进行热量的回收利用;设置了反吹管和反吹口可以定期的对除尘网袋组件进行反吹作业,避免其堵塞;可以通过冲洗管将灰尘从排污口排出。

权利要求书
1.污泥干化除尘自动反清理装置,其特征在于,包括除尘箱(1),除尘箱(1)内下端设有倾斜导板(2),倾斜导板(2)将除尘箱(1)分为下部的换热腔(3)和上部的除尘腔(4),换热腔(3)一侧壁上端设有换热介质入口(5)且另外一侧壁下端设有换热介质出口(6),除尘箱(1)底部设有进气管(7),进气管(7)穿过换热腔(3)并伸出倾斜导板(2)上端,除尘箱(1)侧壁上在倾斜导板(2)较低一侧设有排污口(8),除尘箱(1)侧壁上在倾斜导板(2)较高一侧设有冲洗管(9),除尘腔(4)内安装有若干除尘网袋组件(10),每个除尘网袋组件(10)内均设有反吹管(11),反吹管(11)侧壁上设有若干反吹口(12)。
2.根据权利要求1所述的污泥干化除尘自动反清理装置,其特征在于,除尘网袋组件(10)包括环形顶板(101),环形顶板(101)底部设有除尘网袋(102)。
3.根据权利要求2所述的污泥干化除尘自动反清理装置,其特征在于,除尘箱(1)顶部搭设有支撑板(13),支撑板(13)上搭设有盖板(14),支撑板(13)上开设有若干T形孔,盖板(14)上开设有若干倒T形孔,环形顶板(101)夹装在支撑板(13)T形孔与盖板(14)倒T形孔组成的空腔中。
4.根据权利要求3所述的污泥干化除尘自动反清理装置,其特征在于,盖板(14)底部设有固定螺栓(15),固定螺栓(15)穿过支撑板(13)、除尘箱(1)顶端版之后通过螺母(16)固定。
5.根据权利要求4所述的污泥干化除尘自动反清理装置,其特征在于,盖板(14)上插设有顶帽(17),顶帽(17)上设有排气口(18),反吹管(11)固设并穿出顶帽(17)外。
6.根据权利要求5所述的污泥干化除尘自动反清理装置,其特征在于,顶帽(17)上设有提升把手(19)。
7.根据权利要求6所述的污泥干化除尘自动反清理装置,其特征在于,进气管(7)位于换热腔(3)内的部分成蛇形弯曲结构。
8.根据权利要求7所述的污泥干化除尘自动反清理装置,其特征在于,进气管(7)穿出倾斜导板(2)的一端为T形结构。
发明内容
本发明旨在解决现有技术的不足,而提供一种污泥干化除尘自动反清理装置。
本发明为实现上述目的,采用以下技术方案:
污泥干化除尘自动反清理装置,包括除尘箱,除尘箱内下端设有倾斜导板,倾斜导板将除尘箱分为下部的换热腔和上部的除尘腔,换热腔一侧壁上端设有换热介质入口且另外一侧壁下端设有换热介质出口,除尘箱底部设有进气管,进气管穿过换热腔并伸出倾斜导板上端,除尘箱侧壁上在倾斜导板较低一侧设有排污口,除尘箱侧壁上在倾斜导板较高一侧设有冲洗管,除尘腔内安装有若干除尘网袋组件,每个除尘网袋组件内均设有反吹管,反吹管侧壁上设有若干反吹口。
除尘网袋组件包括环形顶板,环形顶板底部设有除尘网袋。
除尘箱顶部搭设有支撑板,支撑板上搭设有盖板,支撑板上开设有若干T形孔,盖板上开设有若干倒T形孔,环形顶板夹装在支撑板T形孔与盖板倒T形孔组成的空腔中。
盖板底部设有固定螺栓,固定螺栓穿过支撑板、除尘箱顶端版之后通过螺母固定。
盖板上插设有顶帽,顶帽上设有排气口,反吹管固设并穿出顶帽外。
顶帽上设有提升把手。
进气管位于换热腔内的部分成蛇形弯曲结构。
进气管穿出倾斜导板的一端为T形结构。
本发明的有益效果是:本发明可以将污泥干化机处理的尾气经由穿过换热腔的进气管进入除尘腔内部,这样进气管内的高温气体会与换热腔内的介质进行热交换,进行热量的回收利用;设置了反吹管和反吹口可以定期的对除尘网袋组件进行反吹作业,避免其堵塞;截留后的粉尘颗粒以及反吹后的颗粒沉降在倾斜导板上之后,可以通过冲洗管从排污口排出。
(发明人:郭振明)






