公布日:2024.01.16
申请日:2023.11.09
分类号:C02F3/12(2023.01)I
摘要
本发明公开了一种MBR污水处理装置及其处理方法,包括循环管,其内设置有:圆周阵列布置的MBR膜管,且多个MBR膜管上设置有居中布置的安装部;第一搅拌组件,其包括转动设置于安装部上的活动圈板,所述活动圈板上固定安装有多个呈圆周阵列布置的直刃式桨叶件;第二搅拌组件,其包括固定安装于活动圈板上的台型导流壳,所述台型导流壳上周向转动设置有多个扰流桨。本发明提供的MBR污水处理装置及其处理方法,当污水通过曝气之后,而使得污水中携带大量氧气气泡,在通过时被破碎而溶于污水中,然后再通过螺旋加热环加热至预定温度,使得在充足氧气下和适宜温度下的污水中微生物活性最大,从而加速污水反应效率,缩短处理周期。

权利要求书
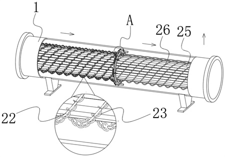
1.一种MBR污水处理装置,其特征在于,包括循环管(1),其内设置有:圆周阵列布置的MBR膜管(25),且多个MBR膜管(25)上设置有居中布置的安装部;第一搅拌组件(2),其包括转动设置于安装部上的活动圈板(21),所述活动圈板(21)上固定安装有多个呈圆周阵列布置的直刃式桨叶件(24);第二搅拌组件(3),其包括固定安装于活动圈板(21)上的台型导流壳(32),所述台型导流壳(32)上周向转动设置有多个扰流桨(34)。
2.根据权利要求1所述的一种MBR污水处理装置,其特征在于,所述直刃式桨叶件(24)根据结构分为第一刀片(241)、第二刀片(242),所述第一刀片(241)平行于活动圈板(21)布置,所述第二刀片(242)垂直于第一刀片(241)布置。
3.根据权利要求1所述的一种MBR污水处理装置,其特征在于,圆周阵列布置的多个所述MBR膜管(25)外围螺旋环绕设置有一端固定所述安装部上的螺旋曝气管(22);所述螺旋曝气管(22)上开设有朝向所述MBR膜管(25),且沿水流方向倾斜布置的气孔,所述气孔用于引导使污水螺旋流动。
4.根据权利要求3所述的一种MBR污水处理装置,其特征在于,所述螺旋曝气管(22)的外围螺旋环绕设置有网格网(23),所述网格网(23)横截面的半径为3cm,且网眼呈菱形结构,采用0.03mm的不锈钢丝编织而成。
5.根据权利要求1所述的一种MBR污水处理装置,其特征在于,所述活动圈板(21)上开设有导流腔(31),所述导流腔(31)连通于台型导流壳(32)。
6.根据权利要求1所述的一种MBR污水处理装置,其特征在于,所述台型导流壳(32)上开设有多个呈圆周阵列布置的排污孔(33),所述扰流桨(34)周向转动于排污孔(33)内。
7.根据权利要求1所述的一种MBR污水处理装置,其特征在于,圆周阵列布置的多个所述MBR膜管(25)外围螺旋环绕设置有一端固定所述安装部上的螺旋加热环(26);所述螺旋加热环(26)位于出水方向布置。
8.根据权利要求1所述的一种MBR污水处理装置,其特征在于,还包括设置在污水池底部、且贴合两侧池壁布置的并联管(6),多个所述循环管(1)两个并联管(6)的相邻一侧,且出水口上固定联通有沿竖直方向向上布置的对流管(5),两排的所述对流管(5)的出水口相邻布置;两个所述并联管(6)之间连通有位于多个循环管(1)之间布置的供污管(4)。
9.一种MBR污水的处理方法,应用于上述权利要求1-8任一项所述的MBR污水处理装置,包括以下步骤:S01、污水泵运行将污水由供污管(4)从污水池底部的中心抽入并联管(6)内后,分别排入循环管(1)内;S02、进入循环管(1)内的污水通过MBR膜管(25)上,并在螺旋曝气管(22)曝气作用下,使得污水发生旋转,且靠近所述MBR膜管(25)处也会形成环绕流,而喷射的气泡会挂在网格网(23)上,使通过的污水携带大量氧气气泡;S03、污水继续流动下通过第一搅拌组件(2),因为污水自带旋转,就会带动活动圈板(21)旋转,从而驱使直刃式桨叶件(24)对大量氧气气泡进行破碎,溶于污水中;S04、在上述步骤3中,MBR膜管(25)倒流下污水进入并带动第二搅拌组件(3)内的扰流桨(34)旋转,从而加速第一搅拌组件(2)的转速,同时扰流桨(34)对大量氧气气泡也进行破碎,溶于污水中。S05、通过破碎后进入螺旋加热环(26),使水温保持在50℃,然后排入对流管(5)最后排出,且两排的对流管(5)水流方向相互冲击,最后使得污水池内液体扰动循环。
发明内容
本发明的目的是提供一种MBR污水处理装置及其处理方法,解决上述问题。
为了实现上述目的,本发明提供如下技术方案:一种MBR污水处理装置,包括循环管,其内设置有:
圆周阵列布置的MBR膜管,且多个MBR膜管上设置有居中布置的安装部;
第一搅拌组件,其包括转动设置于安装部上的活动圈板,所述活动圈板上固定安装有多个呈圆周阵列布置的直刃式桨叶件;
第二搅拌组件,其包括固定安装于活动圈板上的台型导流壳,所述台型导流壳上周向转动设置有多个扰流桨。
作为优选的,所述直刃式桨叶件根据结构分为第一刀片、第二刀片,所述第一刀片平行于活动圈板布置,所述第二刀片垂直于第一刀片布置。
作为优选的,圆周阵列布置的多个所述MBR膜管外围螺旋环绕设置有一端固定所述安装部上的螺旋曝气管;
所述螺旋曝气管上开设有朝向所述MBR膜管,且沿水流方向倾斜布置的气孔,所述气孔用于引导使污水螺旋流动。
作为优选的,所述螺旋曝气管的外围螺旋环绕设置有网格网,所述网格网横截面的半径为3cm,且网眼呈菱形结构,采用0.03mm的不锈钢丝编织而成。
作为优选的,所述活动圈板上开设有导流腔,所述导流腔连通于台型导流壳。
作为优选的,所述台型导流壳上开设有多个呈圆周阵列布置的排污孔,所述扰流桨周向转动于排污孔内。
作为优选的,圆周阵列布置的多个所述MBR膜管外围螺旋环绕设置有一端固定所述安装部上的螺旋加热环;
所述螺旋加热环位于出水方向布置。
作为优选的,还包括设置在污水池底部、且贴合两侧池壁布置的并联管,多个所述循环管两个并联管的相邻一侧,且出水口上固定联通有沿竖直方向向上布置的对流管,两排的所述对流管的出水口相邻布置;
两个所述并联管之间连通有位于多个循环管之间布置的供污管。
一种MBR污水的处理方法,应用于上述方案中所述的MBR污水处理装置,包括以下步骤:
S01、污水泵运行将污水由供污管从污水池底部的中心抽入并联管内后,分别排入循环管内;
S02、进入循环管内的污水通过MBR膜管上,并在螺旋曝气管曝气作用下,使得污水发生旋转,且靠近所述MBR膜管处也会形成环绕流,而喷射的气泡会挂在网格网上,使通过的污水携带大量氧气气泡;
S03、污水继续流动下通过第一搅拌组件,因为污水自带旋转,就会带动活动圈板旋转,从而驱使直刃式桨叶件对大量氧气气泡进行破碎,溶于污水中;
S04、在上述步骤3中,MBR膜管倒流下污水进入并带动第二搅拌组件内的扰流桨旋转,从而加速第一搅拌组件的转速,同时扰流桨对大量氧气气泡也进行破碎,溶于污水中。
S05、通过破碎后进入螺旋加热环,使水温保持在50℃,然后排入对流管最后排出,且两排的对流管水流方向相互冲击,最后使得污水池内液体扰动循环。
在上述技术方案中,本发明提供的一种MBR污水处理装置及其处理方法,具备以下有益效果:通过循环管内流动的水流冲击活动圈板,使得活动圈板沿着循环管内部呈螺旋方向转动,并使直刃式桨叶件旋转,同时第二搅拌组件设置于活动圈板上,所以当水流通过的时候也会旋转且对第一搅拌组件起到加速作用,所以当污水通过曝气之后,而使得污水中携带大量氧气气泡,在通过时被破碎而溶于污水中,然后再通过螺旋加热环加热至预定温度,使得在充足氧气下和适宜温度下的污水中微生物活性最大,从而加速污水反应效率,缩短处理周期。
(发明人:祝娅;杜惠洋;张寅)






