公布日:2024.01.16
申请日:2023.11.09
分类号:C02F9/00(2023.01)I;C02F1/32(2023.01)N;C02F3/30(2023.01)N;C02F3/12(2023.01)N
摘要
本发明公开了一种地埋式撬装一体化国产农村野外A片性视频,包括污水处理总系统,所述污水处理总系统包括:处理系统,处理系统用于生活污水的过滤分离处理,加药系统,所述加药系统负责向处理系统前端加药,消毒系统,所述消毒系统为处理系统出水前的紫外线消毒系统在线仪表系统,所述在线仪表系统为在线测量水质自动分析的仪表,能够上传信息和远程控制,栅渣提升系统,所述栅渣提升系统负责根据处理系统栅前栅后液位自动控制运行,控制系统,所述控制系统负责通过编程对处理系统各个部件和工艺进行自动化的运行和控制,带有远程连接和监控功能,曝气系统,所述曝气系统为传统的活性污泥法,生化系统,所述生化系统负责向处理系统进行供氧。

权利要求书
1.一种地埋式撬装一体化国产农村野外A片性视频,包括污水处理总系统,其特征在于,所述污水处理总系统包括:处理系统,处理系统用于生活污水的过滤分离处理;加药系统,所述加药系统负责向处理系统前端加药;消毒系统,所述消毒系统为处理系统出水前的紫外线消毒系统在线仪表系统,所述在线仪表系统为在线测量水质自动分析的仪表,能够上传信息和远程控制;栅渣提升系统,所述栅渣提升系统负责根据处理系统栅前栅后液位自动控制运行;控制系统,所述控制系统负责通过编程对处理系统各个部件和工艺进行自动化的运行和控制,带有远程连接和监控功能;曝气系统,所述曝气系统为传统的活性污泥法;生化系统,所述生化系统负责向处理系统进行供氧;视频监控系统,所述视频监控系统具有远程连接功能,负责在各种角度下对处理系统各个部件的运行情况进行观察。
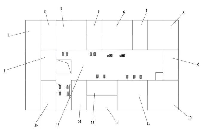
2.根据权利要求1所述的一种地埋式撬装一体化国产农村野外A片性视频,其特征在于,所述处理系统包括调节池(1),所述调节池(1)一端连接有进水电动调节阀,进水电动调节阀一端连接有格栅机(2),格栅机(2)一端连接有进水提升泵,格栅机(2)一侧连接有栅渣间(4),进水提升泵一端连接有前置厌氧释磷池(3),还包括沉淀池(11),前置厌氧释磷池(3)与沉淀池(11)之间设置有交错分布的好氧池和缺氧池,沉淀池(11)一端连接有MBR池(13),MBR池(13)一端连接有清水池(14),清水池(14)一端连接有储泥池(16),储泥池(16)一端连接有排泥泵,MBR池(13)一端连接有过滤池(12),各个部件之间通过工艺管网进行连接。
3.根据权利要求2所述的一种地埋式撬装一体化国产农村野外A片性视频,其特征在于,所述前置厌氧释磷池(3)一端连接有第一缺氧池(5),第一缺氧池(5)一端连接有第一好氧池(6),第一好氧池(6)一端连接有第二缺氧池(7),第二缺氧池(7)一端连接有第二好氧池(8),第二好氧池(8)一端连接有第三缺氧池(9),第三缺氧池(9)一端连接有第三好氧池(10),第三好氧池(10)一端连接于沉淀池(11)。
4.根据权利要求2所述的一种地埋式撬装一体化国产农村野外A片性视频,其特征在于,所述进水电动调节阀支持模拟量或者数字量并根据调节池(1)液位进行自动控制进行量大小,所述格栅机(2)为阶梯格栅,连接有自动清洗装置,所述进水提升泵为干式自吸泵,泵体与工艺管网之间通过快装接头进行连接。
5.根据权利要求2所述的一种地埋式撬装一体化国产农村野外A片性视频,其特征在于,所述设备间(15)连接有带有远程控制和人脸识别监控功能的电子锁。
6.根据权利要求2所述的一种地埋式撬装一体化国产农村野外A片性视频,其特征在于,所述调节池(1)安装于设备的最底层,格栅机(2)也置于设备内部。
7.根据权利要求1所述的一种地埋式撬装一体化国产农村野外A片性视频,其特征在于,所述处理系统内的工艺设备都置于设备内部,工艺管网及设备均为可触及布置,工艺管网和设备连接处均采用快装接头。
发明内容
本发明的目的是为了解决现有技术中存在的缺点,而提出的一种地埋式撬装一体化国产农村野外A片性视频。
为了实现上述目的,本发明采用了如下技术方案:
一种地埋式撬装一体化国产农村野外A片性视频,包括污水处理总系统,所述污水处理总系统包括:
处理系统,处理系统用于生活污水的过滤分离处理;
加药系统,所述加药系统负责向处理系统前端加药;
消毒系统,所述消毒系统为处理系统出水前的紫外线消毒系统
在线仪表系统,所述在线仪表系统为在线测量水质自动分析的仪表,能够上传信息和远程控制;
栅渣提升系统,所述栅渣提升系统负责根据处理系统栅前栅后液位自动控制运行;
控制系统,所述控制系统负责通过编程对处理系统各个部件和工艺进行自动化的运行和控制,带有远程连接和监控功能;
曝气系统,所述曝气系统为传统的活性污泥法;
生化系统,所述生化系统负责向处理系统进行供氧;
视频监控系统,所述视频监控系统具有远程连接功能,负责在各种角度下对处理系统各个部件的运行情况进行观察。
作为本发明再进一步的方案:所述处理系统包括调节池,所述调节池一端连接有进水电动调节阀,进水电动调节阀一端连接有格栅机,格栅机一端连接有进水提升泵,格栅机一侧连接有栅渣间,进水提升泵一端连接有前置厌氧释磷池,还包括沉淀池,前置厌氧释磷池与沉淀池之间设置有交错分布的好氧池和缺氧池,沉淀池一端连接有MBR池,MBR池一端连接有清水池,清水池一端连接有储泥池,储泥池一端连接有排泥泵,MBR池一端连接有过滤池,各个部件之间通过工艺管网进行连接。
作为本发明再进一步的方案:所述前置厌氧释磷池一端连接有第一缺氧池,第一缺氧池一端连接有第一好氧池,第一好氧池一端连接有第二缺氧池,第二缺氧池一端连接有第二好氧池,第二好氧池一端连接有第三缺氧池,第三缺氧池一端连接有第三好氧池,第三好氧池一端连接于沉淀池。
作为本发明再进一步的方案:所述进水电动调节阀支持模拟量或者数字量并根据调节池液位进行自动控制进行量大小,所述格栅机为阶梯格栅,连接有自动清洗装置,所述进水提升泵为干式自吸泵,泵体与工艺管网之间通过快装接头进行连接。
作为本发明再进一步的方案:所述设备间连接有带有远程控制和人脸识别监控功能的电子锁。
作为本发明再进一步的方案:所述调节池安装于设备的最底层,格栅机也置于设备内部。
作为本发明再进一步的方案:所述处理系统内的工艺设备都置于设备内部,工艺管网及设备均为可触及布置,工艺管网和设备连接处均采用快装接头。
本发明的有益效果为:
1.通过各个可远程控制的部件和系统配合远程智慧水务系统可远程控制各个部件的运行和监测运行状态的数据,通过随时在线的专业技术人员可在出现问题时进行解决,实现了真正的无人值守,便于在专业技术人员稀缺的地区使用装置。
2.通过电子锁的人脸识别功能可防止外人误入,保证了运行的安全,通过远程监控可在任何人进出设备间开启电子锁时进行提示和记录,对人员进行监测。
3.通过安装于设备最底层的调节池与地面保持一点的距离,可保证来水温度不受环境影响而损失,有利于高原、高寒地区的应用。
4.工艺设备都置于设备内部,工艺管网及设备均为可触及布置,工艺管网和设备连接处均采用快装接头,无需埋地,无潜水设备,方便维护及检修,过水工艺管线全部采用不锈钢材质,长期耐用。
(发明人:王治江;唐伟)






