公布日:2024.12.20
申请日:2024.11.21
分类号:C02F11/14(2019.01)I;B01F35/71(2022.01)I;B01F27/90(2022.01)I;C02F103/10(2006.01)N;C02F101/32(2006.01)N
摘要
本发明涉及油田污泥净化技术领域,尤其涉及一种油田含油污泥处理装置。针对现有三相分离技术中,搅拌杆在促进油液与泥沙分离的同时,也会促使部分油液和泥沙相互混合的问题。包括有:支撑架,所述支撑架固接有分离桶和电动机,所述电动机的输出轴固接有搅拌杆;第一搅拌叶,具有若干个,均交错且纵向间隔设置于所述搅拌杆的上部;第一导向环,固接于所述搅拌杆;第二导向环,设置于所述分离桶内。本发明通过第一导向环和第二导向环对周围水流进行导向,在对含油污泥处理一定时间后,使分离桶内上下两侧的液体分别上下循环流动,将泥沙和油液限制于不同的循环内,提高油液和泥沙的分离效率,降低二者再次相互混合的概率。

权利要求书
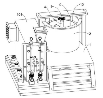
1.一种油田含油污泥处理装置,其特征是,包括有:支撑架(1),所述支撑架(1)固接有分离桶(2)和电动机(3),所述电动机(3)的输出轴固接有搅拌杆(4),所述搅拌杆(4)位于所述分离桶(2)内;第一搅拌叶(5),具有若干个,均交错且纵向间隔设置于所述搅拌杆(4)的上部;第二搅拌叶(6),具有若干个,均交错且纵向间隔设置于所述搅拌杆(4)的下部;第一导向环(7),固接于所述搅拌杆(4),所述第一导向环(7)位于所有所述第一搅拌叶(5)和所有所述第二搅拌叶(6)之间;第二导向环(8),设置于所述分离桶(2)内,所述第二导向环(8)与所述第一导向环(7)位于同一水平面上,所述第一导向环(7)和所述第二导向环(8)均用于对相邻水流进行导向;喷药机构,设置于所述第二导向环(8)上,用于向所述分离桶(2)内加入污泥处理用药剂;辅助搅拌机构,设置于最下侧的所述第二搅拌叶(6)上,用于促使沉底的泥沙循环流动。
2.按照权利要求1所述的一种油田含油污泥处理装置,其特征是,所述第一搅拌叶(5)的叶片倾斜方向与所述第二搅拌叶(6)的叶片倾斜方向相反。
3.按照权利要求2所述的一种油田含油污泥处理装置,其特征是,最下侧的所述第一搅拌叶(5)的最大尺寸小于其他所述第一搅拌叶(5)的最大尺寸,最上侧的所述第二搅拌叶(6)的最大尺寸小于其他所述第二搅拌叶(6)的最大尺寸。
4.按照权利要求3所述的一种油田含油污泥处理装置,其特征是,所有所述第一搅拌叶(5)中位于中部的所述第一搅拌叶(5)的叶片倾斜角度大于其他所述第一搅拌叶(5)的叶片倾斜角度,所有所述第二搅拌叶(6)中位于中部的所述第二搅拌叶(6)的叶片倾斜角度大于其他所述第二搅拌叶(6)的叶片倾斜角度。
5.按照权利要求4所述的一种油田含油污泥处理装置,其特征是,所述喷药机构包括有:微型喷头(81),具有若干个,周向间隔设置于所述第二导向环(8)的上下两侧,所述第二导向环(8)内设置有与所有所述微型喷头(81)连通的导液腔;滑动管(9),具有若干个,周向间隔固接于所述第二导向环(8)上,所述滑动管(9)的下侧与所述第二导向环(8)上导液腔连通,所述滑动管(9)的上侧与外置的储药桶连通,所述分离桶(2)固接有固定环(10),所述固定环(10)与所述滑动管(9)滑动连接。
6.按照权利要求5所述的一种油田含油污泥处理装置,其特征是,所述辅助搅拌机构包括有:辅助搅拌环(11),设置于最下侧的所述第二搅拌叶(6)上;外搅拌叶(111),具有若干个,周向间隔设置于所述辅助搅拌环(11)的外侧;内搅拌叶(112),具有若干个,周向间隔设置于所述辅助搅拌环(11)的内侧。
7.按照权利要求6所述的一种油田含油污泥处理装置,其特征是,所述外搅拌叶(111)的叶片倾斜方向与所述内搅拌叶(112)的叶片倾斜方向相反,所述内搅拌叶(112)的叶片倾斜方向与所述第二搅拌叶(6)的叶片倾斜方向相同。
8.按照权利要求7所述的一种油田含油污泥处理装置,其特征是,还包括有:搅拌增强机构,设置于所述辅助搅拌环(11)上,用于增强所述辅助搅拌环(11)位于所述分离桶(2)中部时对周围液体的搅拌效果,所述搅拌增强机构包括有:固定筒(13),数量与所述内搅拌叶(112)的数量相同,分别固接于相邻所述内搅拌叶(112)内,所述内搅拌叶(112)内滑动连接有固定块(14)和转动搅拌叶(15),所述固定块(14)与相邻的所述转动搅拌叶(15)转动连接,所述转动搅拌叶(15)固接有转动活塞杆(16),所述转动活塞杆(16)与相邻的所述固定筒(13)滑动连接;连接件(17),转动连接于所述辅助搅拌环(11)上,所述连接件(17)滑动连接有周向间隔布置的若干个固定杆(18),所述固定杆(18)与所述第二导向环(8)固接,所述第二导向环(8)与所述分离桶(2)滑动连接,且所述第二导向环(8)与所述固定环(10)挤压配合;电动绞盘(12),固接于所述支撑架(1),所述电动绞盘(12)通过钢绞线与所述连接件(17)固接,所述辅助搅拌环(11)与相邻所述第二搅拌叶(6)滑动连接;挤压环(19),滑动连接于所述连接件(17)内,且二者之间固接有弹性件,所述固定杆(18)与所述挤压环(19)固接,所述辅助搅拌环(11)、所述连接件(17)和所述挤压环(19)共同组成储气腔,所述固定筒(13)与储气腔连通。
9.按照权利要求8所述的一种油田含油污泥处理装置,其特征是,所述转动活塞杆(16)上设置有凹槽,且其上凹槽由直槽与斜槽组成,所述固定筒(13)上固接有与所述转动活塞杆(16)上凹槽挤压配合的限位块(131)。
10.按照权利要求9所述的一种油田含油污泥处理装置,其特征是,储气腔的体积大于所有所述固定筒(13)体积的总和。
发明内容
为了克服现有三相分离技术中,搅拌杆在促进油液与泥沙分离的同时,也会促使部分油液和泥沙相互混合的缺点,本发明提供了一种油田含油污泥处理装置。
技术方案为:一种油田含油污泥处理装置,包括有:
支撑架,所述支撑架固接有分离桶和电动机,所述电动机的输出轴固接有搅拌杆,所述搅拌杆位于所述分离桶内;
第一搅拌叶,具有若干个,均交错且纵向间隔设置于所述搅拌杆的上部;
第二搅拌叶,具有若干个,均交错且纵向间隔设置于所述搅拌杆的下部;
第一导向环,固接于所述搅拌杆,所述第一导向环位于所有所述第一搅拌叶和所有所述第二搅拌叶之间;
第二导向环,设置于所述分离桶内,所述第二导向环与所述第一导向环位于同一水平面上,所述第一导向环和所述第二导向环均用于对相邻水流进行导向;
喷药机构,设置于所述第二导向环上,用于向所述分离桶内加入污泥处理用药剂;
辅助搅拌机构,设置于最下侧的所述第二搅拌叶上,用于促使沉底的泥沙循环流动。
作为更进一步的优选方案,所述第一搅拌叶的叶片倾斜方向与所述第二搅拌叶的叶片倾斜方向相反。
作为更进一步的优选方案,最下侧的所述第一搅拌叶的最大尺寸小于其他所述第一搅拌叶的最大尺寸,最上侧的所述第二搅拌叶的最大尺寸小于其他所述第二搅拌叶的最大尺寸。
作为更进一步的优选方案,所有所述第一搅拌叶中位于中部的所述第一搅拌叶的叶片倾斜角度大于其他所述第一搅拌叶的叶片倾斜角度,所有所述第二搅拌叶中位于中部的所述第二搅拌叶的叶片倾斜角度大于其他所述第二搅拌叶的叶片倾斜角度。
作为更进一步的优选方案,所述喷药机构包括有:
微型喷头,具有若干个,周向间隔设置于所述第二导向环的上下两侧,所述第二导向环内设置有与所有所述微型喷头连通的导液腔;
滑动管,具有若干个,周向间隔固接于所述第二导向环上,所述滑动管的下侧与所述第二导向环上导液腔连通,所述滑动管的上侧与外置的储药桶连通,所述分离桶固接有固定环,所述固定环与所述滑动管滑动连接。
作为更进一步的优选方案,所述辅助搅拌机构包括有:
辅助搅拌环,设置于最下侧的所述第二搅拌叶上;
外搅拌叶,具有若干个,周向间隔设置于所述辅助搅拌环的外侧;
内搅拌叶,具有若干个,周向间隔设置于所述辅助搅拌环的内侧。
作为更进一步的优选方案,所述外搅拌叶的叶片倾斜方向与所述内搅拌叶的叶片倾斜方向相反,所述内搅拌叶的叶片倾斜方向与所述第二搅拌叶的叶片倾斜方向相同。
作为更进一步的优选方案,还包括有:
搅拌增强机构,设置于所述辅助搅拌环上,用于增强所述辅助搅拌环位于所述分离桶中部时对周围液体的搅拌效果,所述搅拌增强机构包括有:
固定筒,数量与所述内搅拌叶的数量相同,分别固接于相邻所述内搅拌叶内,所述内搅拌叶内滑动连接有固定块和转动搅拌叶,所述固定块与相邻的所述转动搅拌叶转动连接,所述转动搅拌叶固接有转动活塞杆,所述转动活塞杆与相邻的所述固定筒滑动连接;
连接件,转动连接于所述辅助搅拌环上,所述连接件滑动连接有周向间隔布置的若干个固定杆,所述固定杆与所述第二导向环固接,所述第二导向环与所述分离桶滑动连接,且所述第二导向环与所述固定环挤压配合;
电动绞盘,固接于所述支撑架,所述电动绞盘通过钢绞线与所述连接件固接,所述辅助搅拌环与相邻所述第二搅拌叶滑动连接;
挤压环,滑动连接于所述连接件内,且二者之间固接有弹性件,所述固定杆与所述挤压环固接,所述辅助搅拌环、所述连接件和所述挤压环共同组成储气腔,所述固定筒与储气腔连通。
作为更进一步的优选方案,所述转动活塞杆上设置有凹槽,且其上凹槽由直槽与斜槽组成,所述固定筒上固接有与所述转动活塞杆上凹槽挤压配合的限位块。
作为更进一步的优选方案,储气腔的体积大于所有所述固定筒体积的总和。
本发明具有以下优点:本发明通过第一导向环和第二导向环对周围水流进行导向,在对含油污泥处理一定时间后,使分离桶内上下两侧的液体分别上下循环流动,将泥沙和油液限制于不同的循环内,提高油液和泥沙的分离效率,降低二者再次相互混合的概率。
本发明通过对第一搅拌叶和第二搅拌叶的特殊设定,促进分离桶内液体分别形成上下不同的循环流动路径,有效降低油液和泥沙在周围液体剧烈流动的作用下再次粘黏在一起的概率。
本发明通过增设辅助搅拌环、内搅拌叶和转动搅拌叶,分别提升了第一搅拌叶和第二搅拌叶在含油污泥处理的第一阶段混合液体与药液的效果,和第一搅拌叶和第二搅拌叶在含油污泥处理的第二阶段翻动泥沙的效果,增加泥沙中的油液排出的效率。
(发明人:刘冉)






