申请日2016.05.27
公开(公告)日2016.12.07
IPC分类号C02F9/02
摘要
本实用新型提供了一种简易生活污水处理装置,包括过滤桶、过水管道、沉淀箱;所述过滤桶顶部设置有进水口、底部设置有出水口,出水口通过过水管道连通至沉淀箱下部;所述过滤桶内上部倾斜向下设置有推送器,推送器为前小后大的螺旋叶轴,推送器后端固定在电机的动力输出轴上、前端伸出出水口外,出水口外侧于电机端部下方位置设置有可拆卸的废料桶;出水口内于推送器下方位置固定有过滤网;所述出水口中下部设置有多层过滤箱。本实用新型通过推送器的设置,能有效解决生活污水中大体积物体的处理问题,从而提高处理效率、降低处理成本。
摘要附图
权利要求书
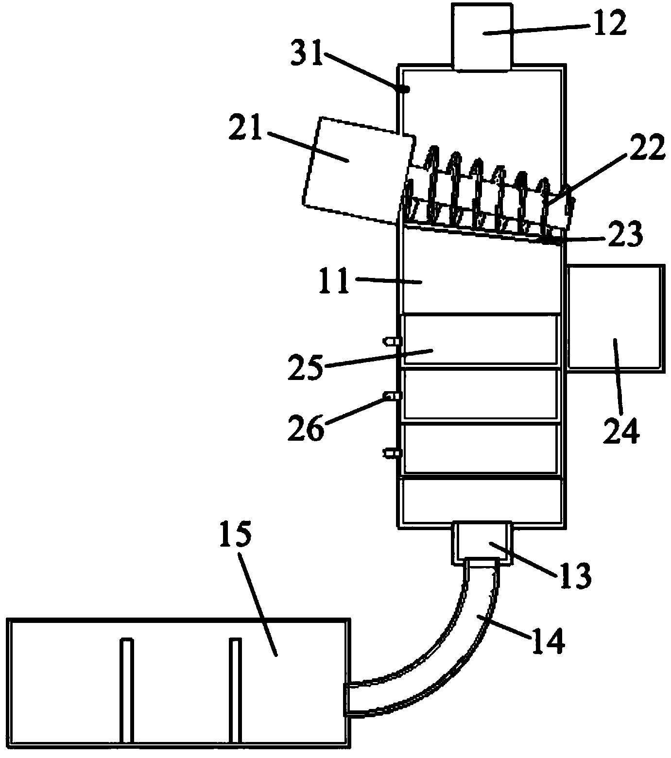
1.一种简易生活污水处理装置,包括过滤桶(11)、过水管道(14)、沉淀箱(15),其特征在于:所述过滤桶(11)顶部设置有进水口(12)、底部设置有出水口(13),出水口(13)通过过水管道(14)连通至沉淀箱(15)下部;所述过滤桶(11)内上部倾斜向下设置有推送器(22),推送器(22)为前小后大的螺旋叶轴,推送器(22)后端固定在电机(21)的动力输出轴上、前端伸出出水口(13)外,出水口(13)外侧于电机(21)端部下方位置设置有可拆卸的废料桶(24);出水口(13)内于推送器(22)下方位置固定有过滤网(23);所述出水口(13)中下部设置有多层过滤箱(25);所述过滤桶(11)内于进水口(12)下方位置设置有光感传感器(31),光感传感器(31)正对进水口(12)位置,并通过串联延时继电器控制电机(21)启停。
2.如权利要求1所述的简易生活污水处理装置,其特征在于:所述过滤箱(25)中填装有滤料,且多层过滤箱(25)由上至下滤料更细。
3.如权利要求1所述的简易生活污水处理装置,其特征在于:所述过滤箱(25)层数为三层。
4.如权利要求1所述的简易生活污水处理装置,其特征在于:所述沉淀箱(15)为三级沉淀。
5.如权利要求1所述的简易生活污水处理装置,其特征在于:所述过滤箱(25)外侧面上设置有把手(26)。
说明书
一种简易生活污水处理装置
技术领域
本实用新型涉及一种简易生活污水处理装置。
背景技术
现有技术中对于生活污水的处理,大多仅在于过滤和沉淀,这种方式对于生活污水中体积较大的物体难以进行有效处理,为此往往需要耗费较高的成本以较低的效率。
实用新型内容
为解决上述技术问题,本实用新型提供了一种简易生活污水处理装置,该简易生活污水处理装置通过推送器的设置,能有效解决生活污水中大体积物体的处理问题,从而提高处理效率、降低处理成本。
本实用新型通过以下技术方案得以实现。
本实用新型提供的一种简易生活污水处理装置,包括过滤桶、过水管道、沉淀箱;所述过滤桶顶部设置有进水口、底部设置有出水口,出水口通过过水管道连通至沉淀箱下部;所述过滤桶内上部倾斜向下设置有推送器,推送器为前小后大的螺旋叶轴,推送器后端固定在电机的动力输出轴上、前端伸出出水口外,出水口外侧于电机端部下方位置设置有可拆卸的废料桶;出水口内于推送器下方位置固定有过滤网;所述出水口中下部设置有多层过滤箱;所述过滤桶内于进水口下方位置设置有光感传感器,光感传感器正对进水口位置,并通过串联延时继电器控制电机启停。
所述过滤箱中填装有滤料,且多层过滤箱由上至下滤料更细。
所述过滤箱层数为三层。
所述沉淀箱为三级沉淀。
所述过滤箱外侧面上设置有把手。
本实用新型的有益效果在于:通过推送器的设置,能有效解决生活污水中大体积物体的处理问题,从而提高处理效率、降低处理成本。


