申请日2016.05.27
公开(公告)日2017.05.10
IPC分类号C02F1/28; C02F9/04; C02F101/20
摘要
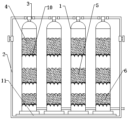
本实用新型公开了基于汽车装饰件的镍废水处理用并列式树脂吸附设备,包括若干并列设置的吸附罐,每个吸附罐的顶端均设置三通阀门,每两个三通阀门之间连接镍废水管道,镍废水管道将若干吸附罐一体贯通连接,每个吸附罐内从上向下依次设置第一树脂吸附层、第二树脂吸附层以及第三树脂吸附层,第一树脂吸附层、第二树脂吸附层以及第三树脂吸附层底部均设有支撑嵌件,并且第一树脂吸附层、第二树脂吸附层以及第三树脂吸附层的上表面均设置波浪形结构;本实用新型设备简单,镍废水的处理效果好,环保,能做到无污染排放。
摘要附图
权利要求书
1.基于汽车装饰件的镍废水处理用并列式树脂吸附设备,其特征在于:包括若干并列设置的吸附罐,每个所述吸附罐的顶端均设置三通阀门,每两个所述三通阀门之间连接镍废水管道,所述镍废水管道将若干所述吸附罐一体贯通连接,每个所述吸附罐内从上向下依次设置第一树脂吸附层、第二树脂吸附层以及第三树脂吸附层,所述第一树脂吸附层、第二树脂吸附层以及第三树脂吸附层底部均设有支撑嵌件,并且所述第一树脂吸附层、第二树脂吸附层以及第三树脂吸附层的上表面均设置波浪形结构。
2.根据权利要求1所述的基于汽车装饰件的镍废水处理用并列式树脂吸附设备,其特征在于:所述第一树脂吸附层、第二树脂吸附层以及第三树脂吸附层三层的厚度依次减小。
3.根据权利要求1所述的基于汽车装饰件的镍废水处理用并列式树脂吸附设备,其特征在于:若干并列的所述吸附罐侧面设有一PH值调节罐。
4.根据权利要求3所述的基于汽车装饰件的镍废水处理用并列式树脂吸附设备,其特征在于:所述PH值调节罐通过PH值调节液管道与所述镍废水管道的进液端贯通连接。
5.根据权利要求1-4任一项所述的基于汽车装饰件的镍废水处理用并列式树脂吸附设备,其特征在于:每个所述支撑嵌件均为波浪形结构,与所述第一树脂吸附层、第二树脂吸附层以及第三树脂吸附层上表面的结构相吻合。
说明书
基于汽车装饰件的镍废水处理用并列式树脂吸附设备
技术领域
本实用新型涉及汽车装饰件加工领域,尤其涉及一种基于汽车装饰件的镍废水处理用并列式树脂吸附设备。
背景技术
汽车内装饰条是汽车加工制造中必不可少的配件,一般的汽车内装饰条先经注塑成型,再经过一系列的表面处理来达到装饰要求,其中就包括电镀工序等,汽车内装饰条在大批量进行表面处理时,电镀镍是其比较重要的步骤,而且镀镍需要多次电镀才能达到最终的目标,而镀镍过程中会产生较多的镍废水,镍废水直接排放属于重金属污染,浓度高,不符合要求,不环保,而且污染严重。
发明内容
针对上述存在的问题,本实用新型旨在提供一种基于汽车装饰件的镍废水处理用并列式树脂吸附设备,该树脂吸附设备是针对镍废水进行处理的设备,该设备简单,镍废水的处理效果好,环保,能做到无污染排放。
为了实现上述目的,本实用新型所采用的技术方案如下:
基于汽车装饰件的镍废水处理用并列式树脂吸附设备,包括若干并列设置的吸附罐,每个所述吸附罐的顶端均设置三通阀门,每两个所述三通阀门之间连接镍废水管道,所述镍废水管道将若干所述吸附罐一体贯通连接,每个所述吸附罐内从上向下依次设置第一树脂吸附层、第二树脂吸附层以及第三树脂吸附层,所述第一树脂吸附层、第二树脂吸附层以及第三树脂吸附层底部均设有支撑嵌件,并且所述第一树脂吸附层、第二树脂吸附层以及第三树脂吸附层的的上表面均设置波浪形结构。
本实用新型的进一步改进在于:所述第一树脂吸附层、第二树脂吸附层以及第三树脂吸附层三层的厚度依次减小。
本实用新型的进一步改进在于:若干并列的所述吸附罐侧面设有一PH值调节罐。
本实用新型的进一步改进在于:所述PH值调节罐通过PH值调节液管道与所述镍废水管道的进液端贯通连接。
本实用新型的进一步改进在于:每个所述支撑嵌件均为波浪形结构,与所述第一树脂吸附层、第二树脂吸附层以及第三树脂吸附层上表面的结构相吻合。
本实用新型的有益效果是:与现有技术相比,本实用新型的优点是,该设备结构简单,处理效果好,并且采用并列式的结构设置,可以提高镍废水的处理效率,而且为了提高镍废水的处理效果,在吸附罐的侧面还设置PH值调节罐,通过多层吸附功能,达到排放要求,而且本发明为了节省吸附层材料的设置,故在一个吸附罐内设置三层,而为了增大吸附面积,将吸附层的上表面设置为波浪形,这样吸附面积增大,处理效果增强。


