申请日2016.05.11
公开(公告)日2016.07.20
IPC分类号C02F9/06
摘要
本发明公开了一种高频脉冲电化学废水处理系统,包括:第一沉淀池和污水导入管,所述高频脉冲电化学废水处理系统还包括第一电化学处理箱体、第二电化学处理箱体、混凝箱体、第二沉淀池、砂滤罐、碳滤罐和第三沉淀池,所述第二电化学处理箱体上部与混凝箱体顶部之间设置有第一管道相连接,所所述砂滤罐设置在第二沉淀池和碳滤罐之间。通过上述方式,本发明所述的高频脉冲电化学废水处理系统,污水中絮凝出的颗粒物沉淀下去或者被过滤,得到上清液,适合涂料生产的二次利用,提升了废水的利用率,过滤和沉淀得到的污染物进行脱水后集中处理,避免了环境污染,整个系统的能耗小,工作效率高。
权利要求书
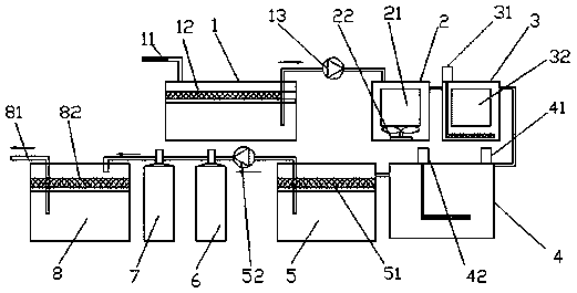
1.一种高频脉冲电化学废水处理系统,包括:第一沉淀池和污水导入管,所述污水导入管的末端设置在第一沉淀池的顶部,其特征在于,所述高频脉冲电化学废水处理系统还包括第一电化学处理箱体、第二电化学处理箱体、混凝箱体、第二沉淀池、砂滤罐、碳滤罐和第三沉淀池,所述第一电化学处理箱体设置在第一沉淀池和第二电化学处理箱体之间,所述第二电化学处理箱体上部与混凝箱体顶部之间设置有第一管道相连接,所述第一电化学处理箱体内设置有第一高频脉冲电解絮凝反应器,所述第二电化学处理箱体内设置有第二高频脉冲电解絮凝反应器,所述混凝箱体和第二沉淀池的上部采用第二管道相连接,所述砂滤罐设置在第二沉淀池和碳滤罐之间,所述碳滤罐和第三沉淀池之间设置有第三管道相连接。
2.根据权利要求1所述的高频脉冲电化学废水处理系统,其特征在于,所述第一电化学处理箱体内设置有位于第一高频脉冲电解絮凝反应器下方的电动波轮。
3.根据权利要求1所述的高频脉冲电化学废水处理系统,其特征在于,所述第二电化学处理箱体上设置有第一供气装置,所述第一供气装置的出气端设置有延伸至第二高频脉冲电解絮凝反应器下方的第一排气管,所述第一排气管上密布有微孔。
4.根据权利要求1所述的高频脉冲电化学废水处理系统,其特征在于,所述第一沉淀池内设置有第一过滤网,所述第二沉淀池内设置有第二过滤网,所述第三沉淀池内设置有第三过滤网。
5.根据权利要求1所述的高频脉冲电化学废水处理系统,其特征在于,所述第一电化学处理箱体与第一沉淀池之间设置有第一水泵相连接,所述砂滤罐和第二沉淀池之间设置有第二水泵相连接。
6.根据权利要求1所述的高频脉冲电化学废水处理系统,其特征在于,所述第一电化学处理箱体和第二电化学处理箱体的上部采用第四管道相连接。
7.根据权利要求1所述的高频脉冲电化学废水处理系统,其特征在于,所述砂滤罐和碳滤罐之间设置有第五管道相连接。
8.根据权利要求1所述的高频脉冲电化学废水处理系统,其特征在于,所述混凝箱体上设置有第二供气装置,所述第二供气装置的出气端设置有延伸至混凝箱体底部的第二排气管,所述第二排气管上密布有微孔。
9.根据权利要求1所述的高频脉冲电化学废水处理系统,其特征在于,所述混凝箱体上方设置有助凝剂滴加罐。
10.根据权利要求1所述的高频脉冲电化学废水处理系统,其特征在于,所述第三沉淀池中设置有延伸至外部的清液抽取管道。
说明书
一种高频脉冲电化学废水处理系统
技术领域
本发明涉及废水处理领域,特别是涉及一种高频脉冲电化学废水处理系统。
背景技术
水性涂料是指用水作溶剂或分散介质的涂料,具有防护性好和耐腐蚀性好等优点,而且与油性涂料相比,水性涂料的生产可以节省资源,生产和使用过程中的污染小,因此应用越来越广泛。
在涂料的生产过程中,不可避免的要产生部分废水,废水中含有污染物,涂料对水质的要求高,无法重复利用,浪费严重,而且污水容易对生态环境造成破坏,不能直接排放,需要处理后再排放。
发明内容
本发明主要解决的技术问题是提供一种高频脉冲电化学废水处理系统,对废水进行净化处理,提升再利用效率,减少环境污染。
为解决上述技术问题,本发明采用的一个技术方案是:提供一种高频脉冲电化学废水处理系统,包括:第一沉淀池和污水导入管,所述污水导入管的末端设置在第一沉淀池的顶部,所述高频脉冲电化学废水处理系统还包括第一电化学处理箱体、第二电化学处理箱体、混凝箱体、第二沉淀池、砂滤罐、碳滤罐和第三沉淀池,所述第一电化学处理箱体设置在第一沉淀池和第二电化学处理箱体之间,所述第二电化学处理箱体上部与混凝箱体顶部之间设置有第一管道相连接,所述第一电化学处理箱体内设置有第一高频脉冲电解絮凝反应器,所述第二电化学处理箱体内设置有第二高频脉冲电解絮凝反应器,所述混凝箱体和第二沉淀池的上部采用第二管道相连接,所述砂滤罐设置在第二沉淀池和碳滤罐之间,所述碳滤罐和第三沉淀池之间设置有第三管道相连接。
在本发明一个较佳实施例中,所述第一电化学处理箱体内设置有位于第一高频脉冲电解絮凝反应器下方的电动波轮。
在本发明一个较佳实施例中,所述第二电化学处理箱体上设置有第一供气装置,所述第一供气装置的出气端设置有延伸至第二高频脉冲电解絮凝反应器下方的第一排气管,所述第一排气管上密布有微孔。
在本发明一个较佳实施例中,所述第一沉淀池内设置有第一过滤网,所述第二沉淀池内设置有第二过滤网,所述第三沉淀池内设置有第三过滤网。
在本发明一个较佳实施例中,所述第一电化学处理箱体与第一沉淀池之间设置有第一水泵相连接,所述砂滤罐和第二沉淀池之间设置有第二水泵相连接。
在本发明一个较佳实施例中,所述第一电化学处理箱体和第二电化学处理箱体的上部采用第四管道相连接。
在本发明一个较佳实施例中,所述砂滤罐和碳滤罐之间设置有第五管道相连接。
在本发明一个较佳实施例中,所述混凝箱体上设置有第二供气装置,所述第二供气装置的出气端设置有延伸至混凝箱体底部的第二排气管,所述第二排气管上密布有微孔。
在本发明一个较佳实施例中,所述混凝箱体上方设置有助凝剂滴加罐。
在本发明一个较佳实施例中,所述第三沉淀池中设置有延伸至外部的清液抽取管道。
本发明的有益效果是:本发明指出的一种高频脉冲电化学废水处理系统,废水经第一沉淀池的沉淀后,再依次进入第一电化学处理箱体和第二电化学处理箱体进行电解絮凝,使得污染物从水中沉淀出来,然后经过混凝箱体实现化学沉淀,再经过第二沉淀池进行物理沉淀,使得污水中的颗粒物沉淀下去,上部清液再经过砂滤罐、碳滤罐和第三沉淀池的处理,更加纯净,适合涂料生产的二次利用,提升了废水的利用率,过滤和沉淀得到的污染物进行脱水后集中处理,避免了环境污染,整个系统的能耗小,工作效率高。



